Скачать ГОСТ 3890-82 Патроны четырехкулачковые с независимым перемещением кулачков. Основные и присоединительные размерыДата актуализации: 10.08.2017 ГОСТ 3890-82
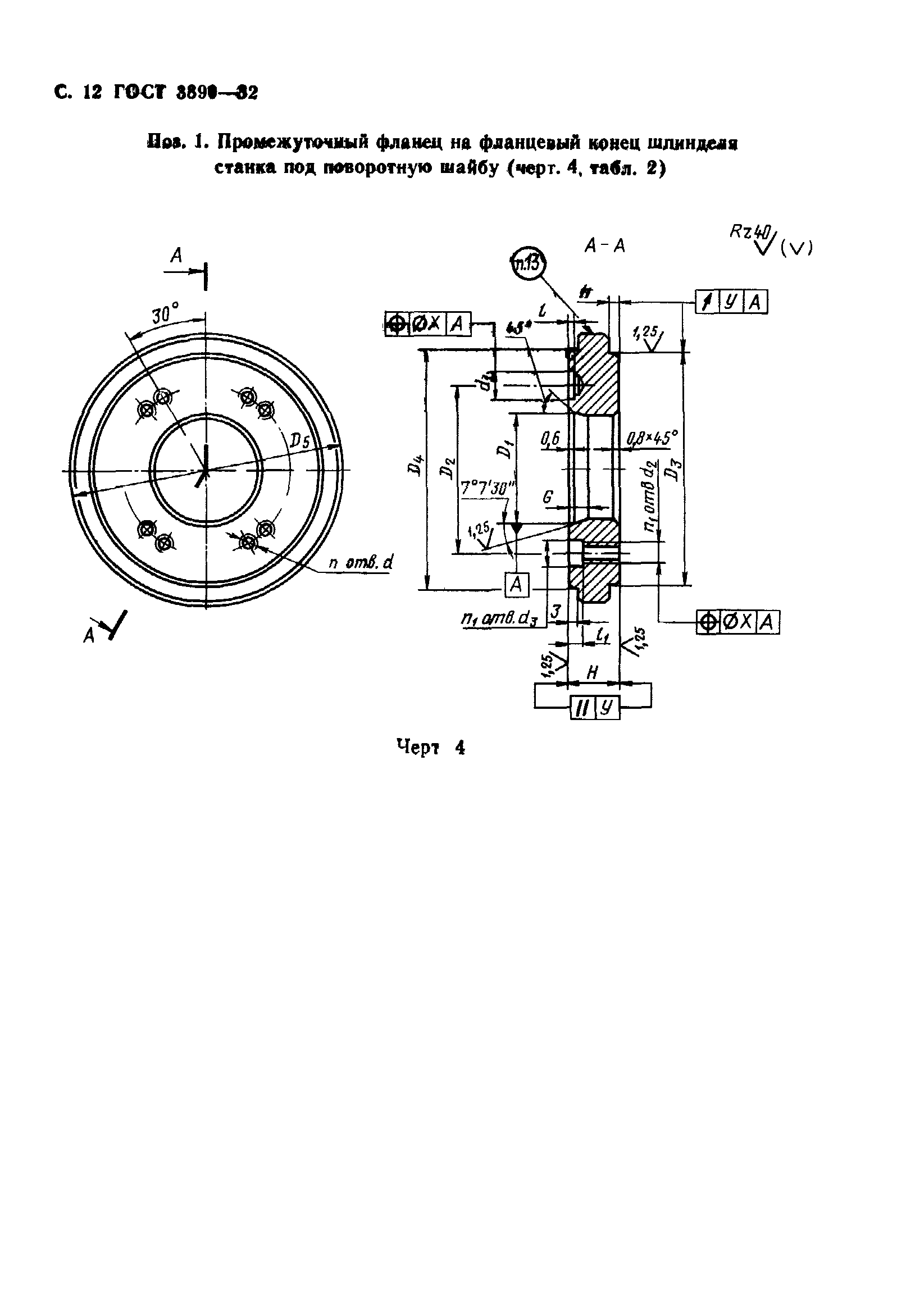
Патроны четырехкулачковые с независимым перемещением кулачков. Основные и присоединительные размеры| Обозначение: | ГОСТ 3890-82 | | Обозначение англ: | GOST 3890-82 | | Статус: | действует | | Название рус.: | Патроны четырехкулачковые с независимым перемещением кулачков. Основные и присоединительные размеры | | Название англ.: | Four-jawed independent chucks. Basic and coupling dimensions | | Дата добавления в базу: | 01.09.2013 | | Дата актуализации: | 05.05.2017 | | Дата введения: | 01.07.1983 | | Утверждён: | 12.05.1982 Госстандарт СССР (USSR Gosstandart 1894)
| | Расположен в: |
|
                     
|