| ||||||||||||||||||||||||||||||||
Скачать ГОСТ 29016-91 Эмали стекловидные и фарфоровые. Прибор для испытаний с помощью кислот и нейтральных жидкостей и их паровДата актуализации: 10.08.2017
|
| Обозначение: | ГОСТ 29016-91 |
| Обозначение англ: | GOST 29016-91 |
| Статус: | действует |
| Название рус.: | Эмали стекловидные и фарфоровые. Прибор для испытаний с помощью кислот и нейтральных жидкостей и их паров |
| Название англ.: | Vitreous and porcelain enamels. Apparatus for testing with acid and neutral liquids and their vapours |
| Дата добавления в базу: | 01.09.2013 |
| Дата актуализации: | 05.05.2017 |
| Дата введения: | 01.01.1992 |
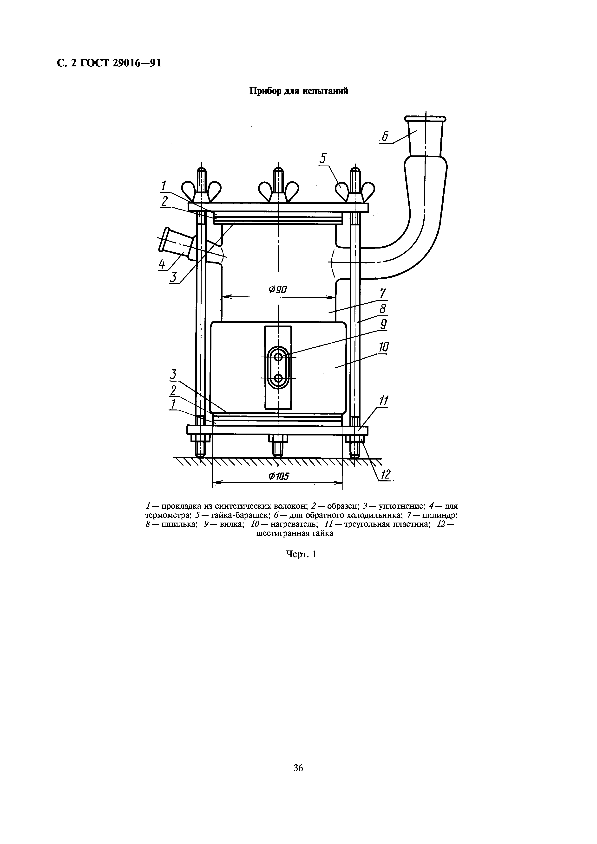
| Область применения: | Стандарт содержит описание прибора, предназначенного для испытания стойкости плоских поверхностей стекловидных и фарфоровых эмалей к жидкой и парообразной фазам коррозионной среды. |
| Оглавление: | 1 Назначение и область применения 2 Ссылки 3 Прибор Приложение 1 Разделы ИСО 718, включающие методы испытаний стеклянной лабораторной посуды на термическую устойчивость Приложение 2 Разделы ИСО 4799 "Лабораторная посуда. Стеклянные холодильники" Приложение 3 Разделы из ИСО 3585 по свойствам боросиликатного стекла 3.3 |
| Разработан: | Министерство металлургии СССР |
| Утверждён: | 24.05.1991 Госстандарт России (Russian Federation Gosstandart 738) |
| Расположен в: | |
| Нормативные ссылки: |
|








