| Обозначение: | ГОСТ 28241-89 |
| Обозначение англ: | GOST 28241-89 |
| Статус: | взамен |
| Название рус.: | Тиски ручные. Технические условия |
| Название англ.: | Hand vices. Specifications |
| Дата добавления в базу: | 01.09.2013 |
| Дата актуализации: | 05.05.2017 |
| Дата введения: | 01.01.1991 |
| Область применения: | Стандарт распространяется на ручные тиски, предназначенные для мелких слесарных работ. |
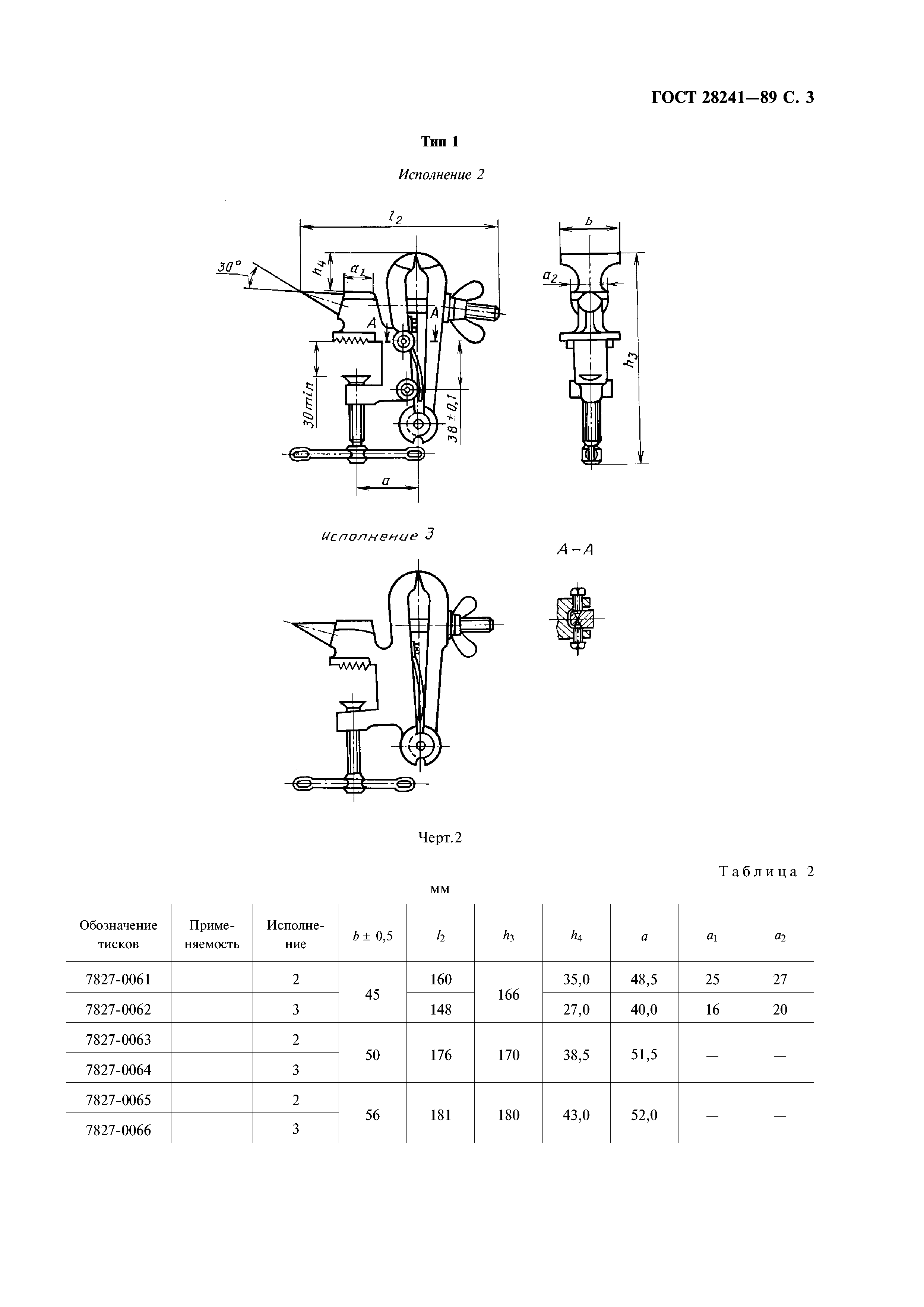
| Оглавление: | 1 Типы и основные размеры 2 Технические требования 3 Приемка 4 Методы испытаний 5 Транспортирование и хранение 6 Гарантии изготовителя |
| Разработан: | Министерство станкостроительной и инструментальной промышленности СССР
|
| Утверждён: | 23.08.1989 Государственный комитет СССР по стандартам (USSR National Committee on Standards 2618)
|
| Издан: | Издательство стандартов (1989 г. ) Стандартинформ (2006 г. )
|
| Расположен в: |
|
| Заменяет собой: | ГОСТ 7226-72 «Тиски ручные. Технические условия» (ИУС 12-89) ГОСТ 17430-72 «Тиски ручные со струбциной-наковальней. Технические условия» (ИУС 12-89) |
| Нормативные ссылки: |   ГОСТ 1050-88 «Прокат сортовой, калиброванный, со специальной отделкой поверхности из углеродистой качественной конструкционной стали. Общие технические условия»  ГОСТ 9.032-74 «Единая система защиты от коррозии и старения. Покрытия лакокрасочные. Группы, технические требования и обозначения»  ГОСТ 9.301-86 «Единая система защиты от коррозии и старения. Покрытия металлические и неметаллические неорганические. Общие требования»  ГОСТ 9.302-88 «Единая система защиты от коррозии и старения. Покрытия металлические и неметаллические неорганические. Методы контроля»  ГОСТ 9.303-84 «Единая система защиты от коррозии и старения. Покрытия металлические и неметаллические неорганические. Общие требования к выбору»  ГОСТ 9.306-85 «Единая система защиты от коррозии и старения. Покрытия металлические и неметаллические неорганические. Обозначения»  ГОСТ 2789-73 «Шероховатость поверхности. Параметры и характеристики»  ГОСТ 977-88 «Отливки стальные. Общие технические условия»  ГОСТ 14959-79 «Прокат из рессорно-пружинной углеродистой и легированной стали. Технические условия»  ГОСТ 9378-93 «Образцы шероховатости поверхности (сравнения). Общие технические условия» ГОСТ 18088-83 «Инструмент металлорежущий, алмазный, дереворежущий, слесарно-монтажный и вспомогательный. Упаковка, маркировка, транспортирование и хранение» ГОСТ 20282-86 «Полистирол общего назначения. Технические условия»  ГОСТ 21474-75 «Рифления прямые и сетчатые. Форма и основные размеры»  ГОСТ 22133-86 «Покрытия лакокрасочные металлорежущего, кузнечно-прессового, литейного и деревообрабатывающего оборудования. Общие требования» ГОСТ 26810-86 «Инструмент слесарно-монтажный. Правила приемки» ГОСТ 4380-93 «Микрометры со вставками. Технические условия»  ГОСТ 9013-59 «Металлы. Метод измерения твердости по Роквеллу»  ГОСТ 16093-2004 «Основные нормы взаимозаменяемости. Резьба метрическая. Допуски. Посадки с зазором»  ГОСТ 24705-2004 «Основные нормы взаимозаменяемости. Резьба метрическая. Основные размеры»
|