| ||||||||||||||||||||||||||||||||||
Скачать ГОСТ 28195-89 Оценка качества программных средств. Общие положенияДата актуализации: 10.08.2017
|
| Обозначение: | ГОСТ 28195-89 |
| Обозначение англ: | GOST 28195-89 |
| Статус: | введен впервые |
| Название рус.: | Оценка качества программных средств. Общие положения |
| Название англ.: | Quality control of software systems. General principles |
| Дата добавления в базу: | 01.09.2013 |
| Дата актуализации: | 05.05.2017 |
| Дата введения: | 01.07.1990 |
| Область применения: | Стандарт устанавливает общие положения по оценке качества программных средств вычислительной техники (далее - ПС), поставляемых через фонды алгоритмов и программ (ФАП), номенклатуру и применяемость показателей качества ПС. |
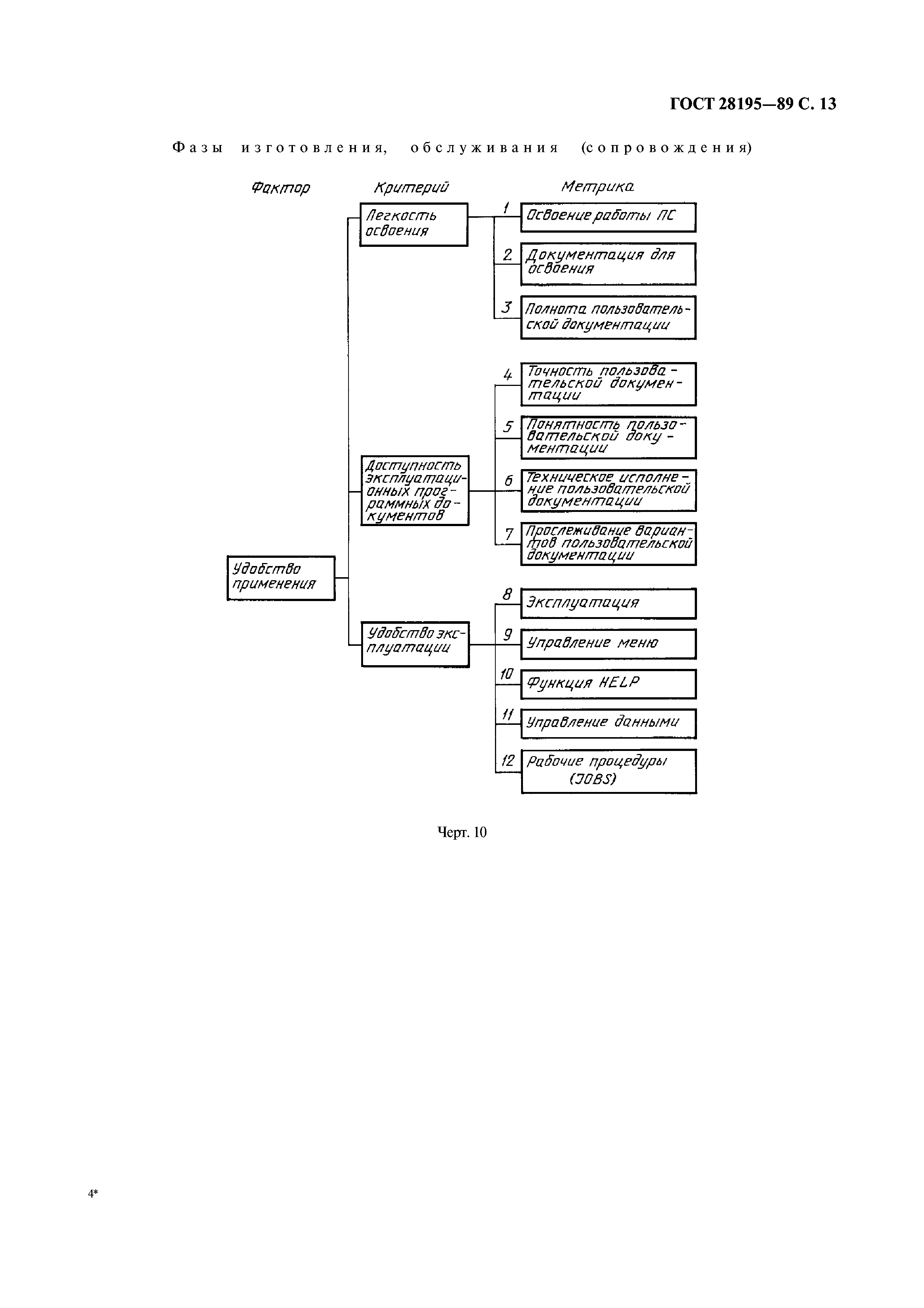
| Оглавление: | 1 Общие положения 2 Номенклатура показателей качества программных средств Приложение 1 (справочное) Пояснение терминов, применяемых в стандарте Приложение 2 (справочное) Методика оценки качества ПС |
| Разработан: | Министерство приборостроения, средств автоматизации и систем управления СССР |
| Утверждён: | 28.07.1989 Государственный комитет СССР по стандартам (USSR National Committee on Standards 2507) |
| Издан: | Издательство стандартов (1989 г. ) ИПК Издательство стандартов (2001 г. ) |
| Расположен в: | |
| Нормативные ссылки: |






























