| ||||||||||||||||||||||||||||||||||||
Скачать ГОСТ 28070-89 Автомобили легковые и грузовые, автобусы. Обзорность с места водителя. Общие технические требования. Методы испытанийДата актуализации: 10.08.2017
|
| Обозначение: | ГОСТ 28070-89 |
| Обозначение англ: | GOST 28070-89 |
| Статус: | не действует |
| Название рус.: | Автомобили легковые и грузовые, автобусы. Обзорность с места водителя. Общие технические требования. Методы испытаний |
| Название англ.: | Passenger cars, trucks and buses. Visibility from the driver's seat. General technical requirements. Test methods |
| Дата добавления в базу: | 01.10.2014 |
| Дата актуализации: | 05.05.2017 |
| Дата введения: | 01.01.2000 |
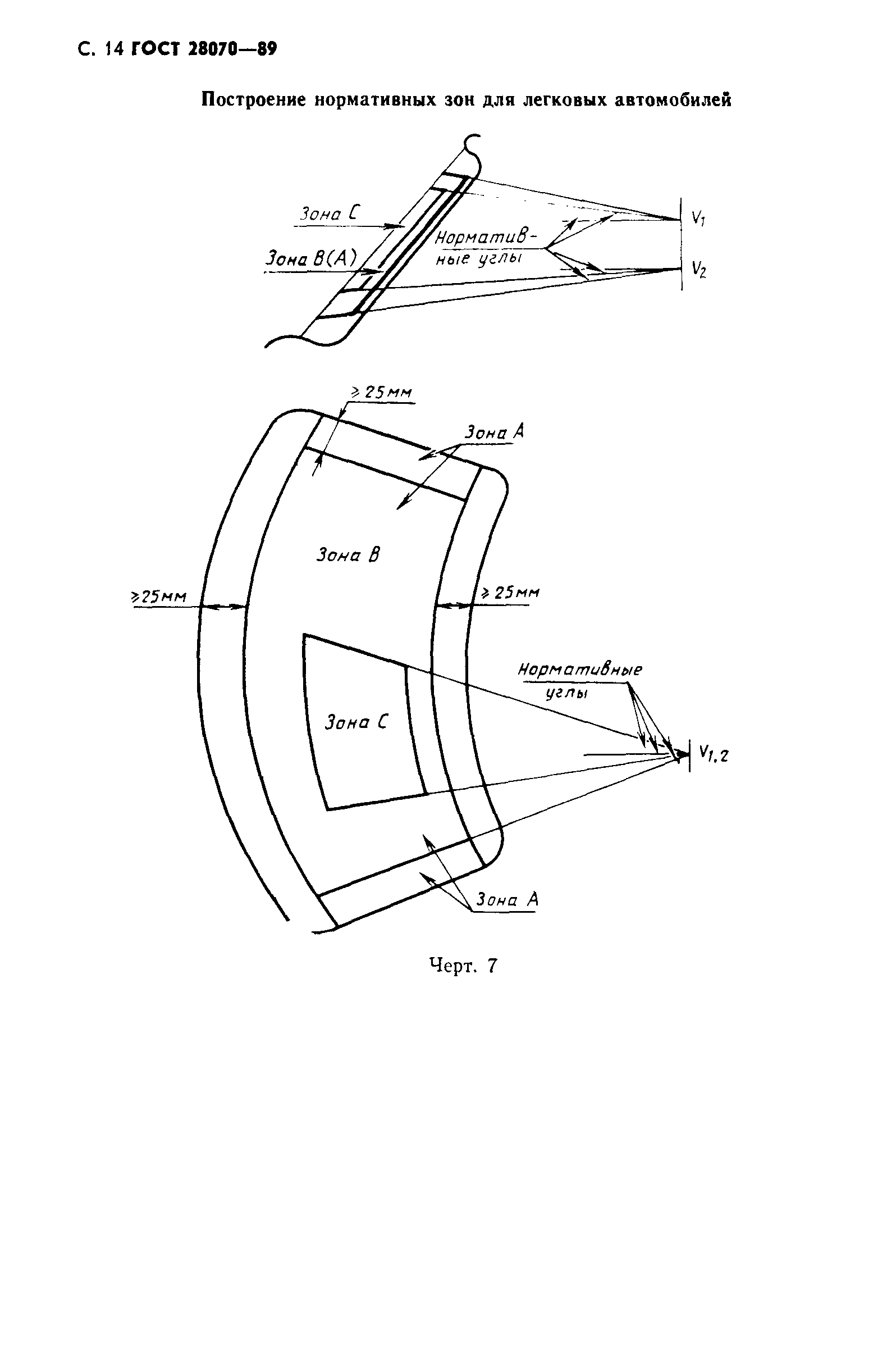
| Область применения: | Стандарт распространяется на легковые и грузовые автомобили, автобусы, в том числе троллейбусы и устанавливает общие технические требования и методы испытаний в части передней обзорности с места водителя. Стандарт не распространяется на легковые автомобили высшего класса, грузовые автомобили с двумя, тремя и одной одноместной кабиной, автобусы, спроектированные на шасси грузовых автомобилей, карьерные самосвалы и автомобили многоцелевого назначения. Для автомобилей исполнения Т и ХЛ по ГОСТ 15150 допускаются изменения значений показателей обзорности, указанные в техническом задании. |
| Оглавление: | 1. Общие технические требования 2. Методы испытаний 3. Требования к средствам измерений Приложение 1 (справочное) Приложение 2 (обязательное) Определение зон обзорности |
| Разработан: | Министерство автомобильного и сельскохозяйственного машиностроения СССР |
| Утверждён: | 27.03.1989 Госстандарт СССР (USSR Gosstandart 784) |
| Издан: | Издательство стандартов (1989 г. ) |
| Расположен в: | |
| Заменяет собой: |
|
| Нормативные ссылки: |


















