Информационная система
«Ёшкин Кот»

Скачать базу одним архивом
Скачать обновления
История создания базы
Карта сайта

Скачать ГОСТ 27619-88 Мундир для военнослужащих срочной службы. Технические условия

Дата актуализации: 10.08.2017

ГОСТ 27619-88

Мундир для военнослужащих срочной службы. Технические условия

Обозначение: ГОСТ 27619-88
Обозначение англ: GOST 27619-88
Статус:введен впервые
Название рус.:Мундир для военнослужащих срочной службы. Технические условия
Название англ.:Uniform for military men of urgent service. Specifications
Дата добавления в базу:01.09.2013
Дата актуализации:05.05.2017
Дата введения:01.07.1989
Область применения:Стандарт распространяется на открытые мундиры для военнослужащих срочной службы и курсантов военных училищ Советской Армии, Комитета государственной безопасности СССР и Министерства внутренних дел СССР.
Оглавление:1 Технические требования
2 Приемка
3 Методы контроля
4 Транспортирование и хранение
Приложение 1 (справочное) Спецификация деталей мундира
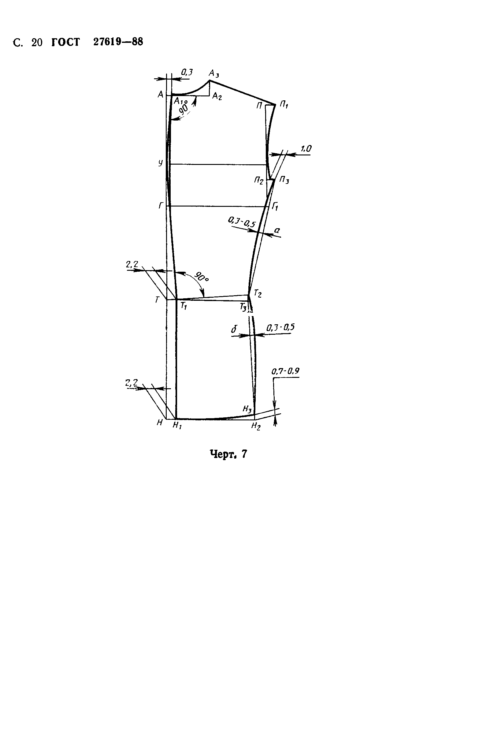
Приложение 2 (рекомендуемое) Пособие для построения чертежей лекал деталей мундира
Приложение 3 (рекомендуемое) Особенности обработки
Приложение 4 (справочное) Коды ОКП на мундиры
Разработан: Министерство легкой промышленности СССР
Утверждён:17.03.1988 Государственный комитет СССР по стандартам (USSR National Committee on Standards 533)
Издан: Издательство стандартов (1988 г. )
Расположен в:Техническая документация Электроэнергия ШВЕЙНАЯ ПРОМЫШЛЕННОСТЬ Одежда Экология ШВЕЙНАЯ ПРОМЫШЛЕННОСТЬ Одежда
Заменяет собой:
  • ГОСТ 23019-78 «Одежда форменная для солдат СА. Нормы припусков при конструировании изделий»
Нормативные ссылки:
ГОСТ 27619-88ГОСТ 27619-88ГОСТ 27619-88ГОСТ 27619-88ГОСТ 27619-88ГОСТ 27619-88ГОСТ 27619-88ГОСТ 27619-88ГОСТ 27619-88ГОСТ 27619-88ГОСТ 27619-88ГОСТ 27619-88ГОСТ 27619-88ГОСТ 27619-88ГОСТ 27619-88ГОСТ 27619-88ГОСТ 27619-88ГОСТ 27619-88ГОСТ 27619-88ГОСТ 27619-88ГОСТ 27619-88ГОСТ 27619-88ГОСТ 27619-88ГОСТ 27619-88ГОСТ 27619-88ГОСТ 27619-88ГОСТ 27619-88ГОСТ 27619-88ГОСТ 27619-88ГОСТ 27619-88ГОСТ 27619-88ГОСТ 27619-88ГОСТ 27619-88ГОСТ 27619-88ГОСТ 27619-88

© 2013 Ёшкин Кот :-) Карта сайта