Скачать ГОСТ 27289-87 Веретена кольцевых прядильных и крутильных машин. Основные параметры и размерыДата актуализации: 10.08.2017 ГОСТ 27289-87
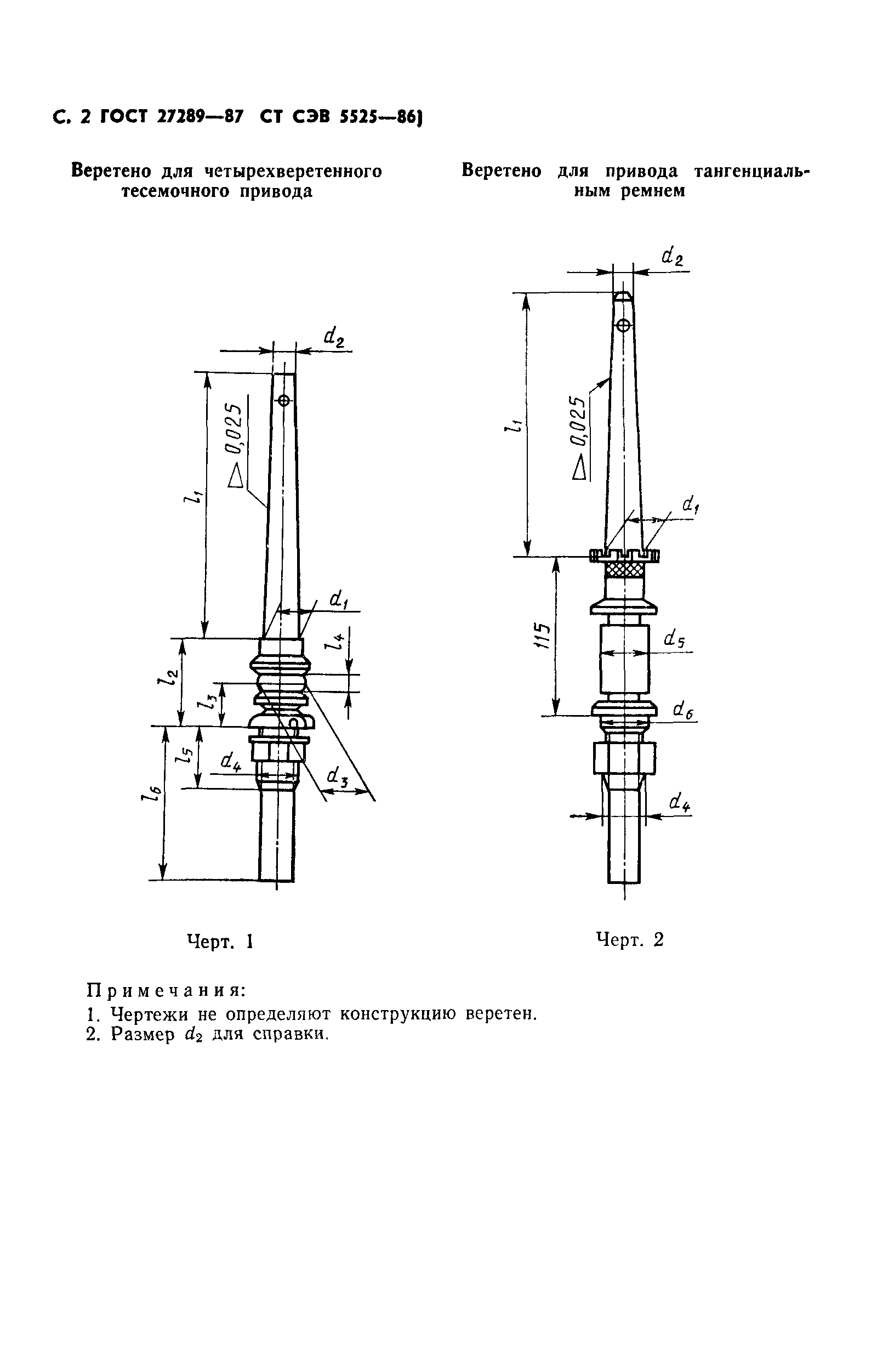
Веретена кольцевых прядильных и крутильных машин. Основные параметры и размерыОбозначение: | ГОСТ 27289-87 | Обозначение англ: | GOST 27289-87 | Статус: | действует | Название рус.: | Веретена кольцевых прядильных и крутильных машин. Основные параметры и размеры | Название англ.: | Spindles for twister and ring frames | Дата добавления в базу: | 01.09.2013 | Дата актуализации: | 05.05.2017 | Дата введения: | 01.01.1988 | Утверждён: | 20.04.1987 Госстандарт СССР (USSR Gosstandart 1317)
| Расположен в: |
|
      
|