Информационная система
«Ёшкин Кот»

Скачать базу одним архивом
Скачать обновления
История создания базы
Карта сайта

Скачать ГОСТ 27216-87 Костюм специальный для военнослужащих комендантских частей. Технические условия

Дата актуализации: 10.08.2017

ГОСТ 27216-87

Костюм специальный для военнослужащих комендантских частей. Технические условия

Обозначение: ГОСТ 27216-87
Обозначение англ: GOST 27216-87
Статус:действует
Название рус.:Костюм специальный для военнослужащих комендантских частей. Технические условия
Название англ.:Special army clothes for commandant units. Specifications
Дата добавления в базу:01.09.2013
Дата актуализации:05.05.2017
Дата введения:01.07.1988
Оглавление:1 Технические требования
2 Приемка
3 Методы контроля
4 Транспортирование и хранение
Приложение 1 Особенности обработки костюмов
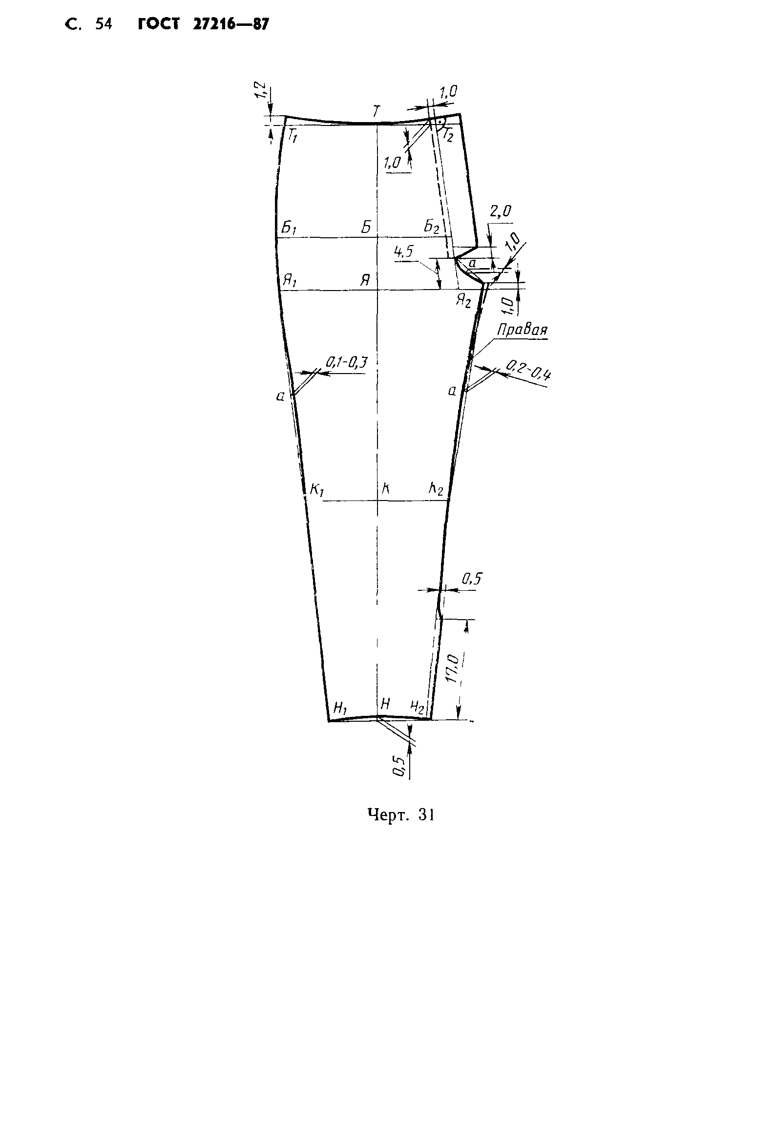
Приложение 2 Пособие для построения чертежей курток и брюк
Приложение 3 Спецификация деталей костюма
Утверждён:20.03.1987 Госстандарт СССР (USSR Gosstandart 812)
Расположен в:Техническая документация Электроэнергия ШВЕЙНАЯ ПРОМЫШЛЕННОСТЬ Одежда Экология ШВЕЙНАЯ ПРОМЫШЛЕННОСТЬ Одежда
ГОСТ 27216-87ГОСТ 27216-87ГОСТ 27216-87ГОСТ 27216-87ГОСТ 27216-87ГОСТ 27216-87ГОСТ 27216-87ГОСТ 27216-87ГОСТ 27216-87ГОСТ 27216-87ГОСТ 27216-87ГОСТ 27216-87ГОСТ 27216-87ГОСТ 27216-87ГОСТ 27216-87ГОСТ 27216-87ГОСТ 27216-87ГОСТ 27216-87ГОСТ 27216-87ГОСТ 27216-87ГОСТ 27216-87ГОСТ 27216-87ГОСТ 27216-87ГОСТ 27216-87ГОСТ 27216-87ГОСТ 27216-87ГОСТ 27216-87ГОСТ 27216-87ГОСТ 27216-87ГОСТ 27216-87ГОСТ 27216-87ГОСТ 27216-87ГОСТ 27216-87ГОСТ 27216-87ГОСТ 27216-87ГОСТ 27216-87ГОСТ 27216-87ГОСТ 27216-87ГОСТ 27216-87ГОСТ 27216-87ГОСТ 27216-87ГОСТ 27216-87ГОСТ 27216-87ГОСТ 27216-87ГОСТ 27216-87ГОСТ 27216-87ГОСТ 27216-87ГОСТ 27216-87ГОСТ 27216-87ГОСТ 27216-87ГОСТ 27216-87ГОСТ 27216-87ГОСТ 27216-87ГОСТ 27216-87ГОСТ 27216-87ГОСТ 27216-87ГОСТ 27216-87ГОСТ 27216-87ГОСТ 27216-87ГОСТ 27216-87ГОСТ 27216-87ГОСТ 27216-87

© 2013 Ёшкин Кот :-) Карта сайта