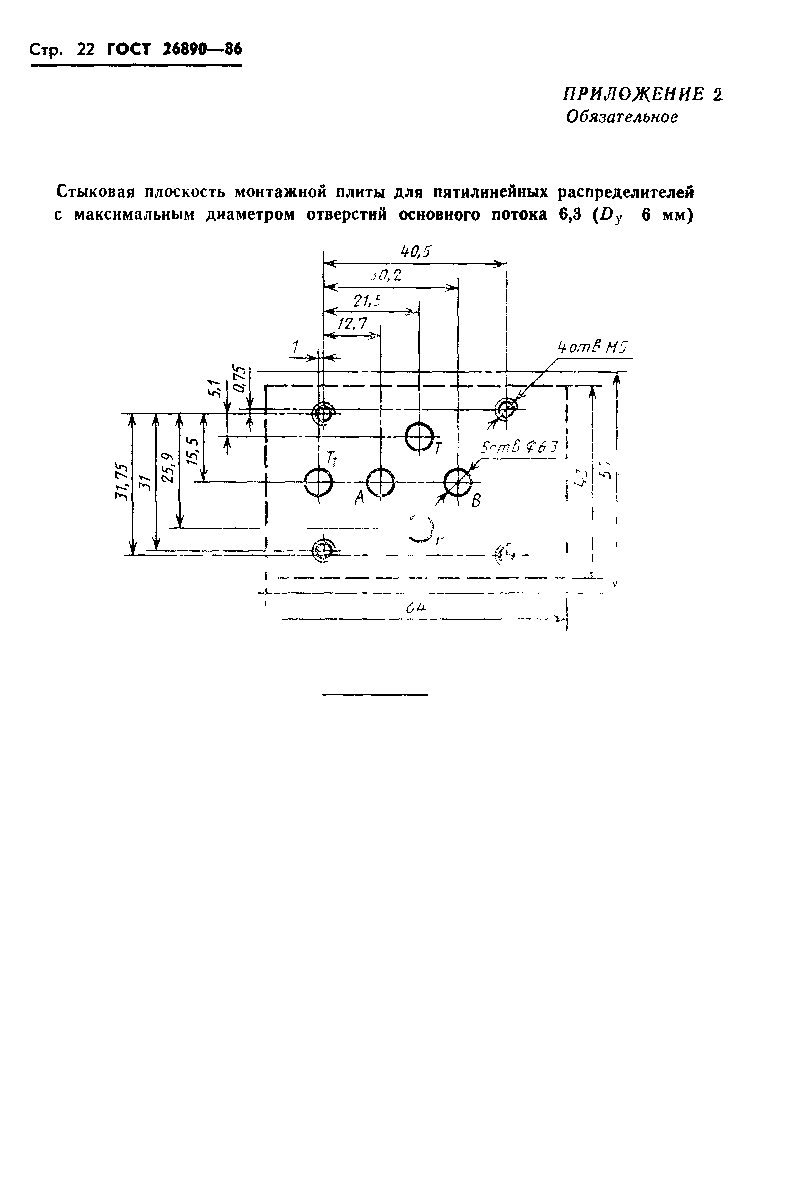
Скачать ГОСТ 26890-86 Гидроаппаратура. Присоединительные размеры стыковых плоскостей монтажных плитДата актуализации: 10.08.2017 ГОСТ 26890-86
Гидроаппаратура. Присоединительные размеры стыковых плоскостей монтажных плитОбозначение: | ГОСТ 26890-86 | Обозначение англ: | GOST 26890-86 | Статус: | действует | Название рус.: | Гидроаппаратура. Присоединительные размеры стыковых плоскостей монтажных плит | Название англ.: | Hydraulic valves. Connecting dimensions of subplates mounting surfaces | Дата добавления в базу: | 01.09.2013 | Дата актуализации: | 05.05.2017 | Дата введения: | 01.07.1987 | Утверждён: | 11.05.1986 Госстандарт СССР (USSR Gosstandart 1198)
| Расположен в: |
|
                               
|