Информационная система
«Ёшкин Кот»

Скачать базу одним архивом
Скачать обновления
История создания базы
Карта сайта

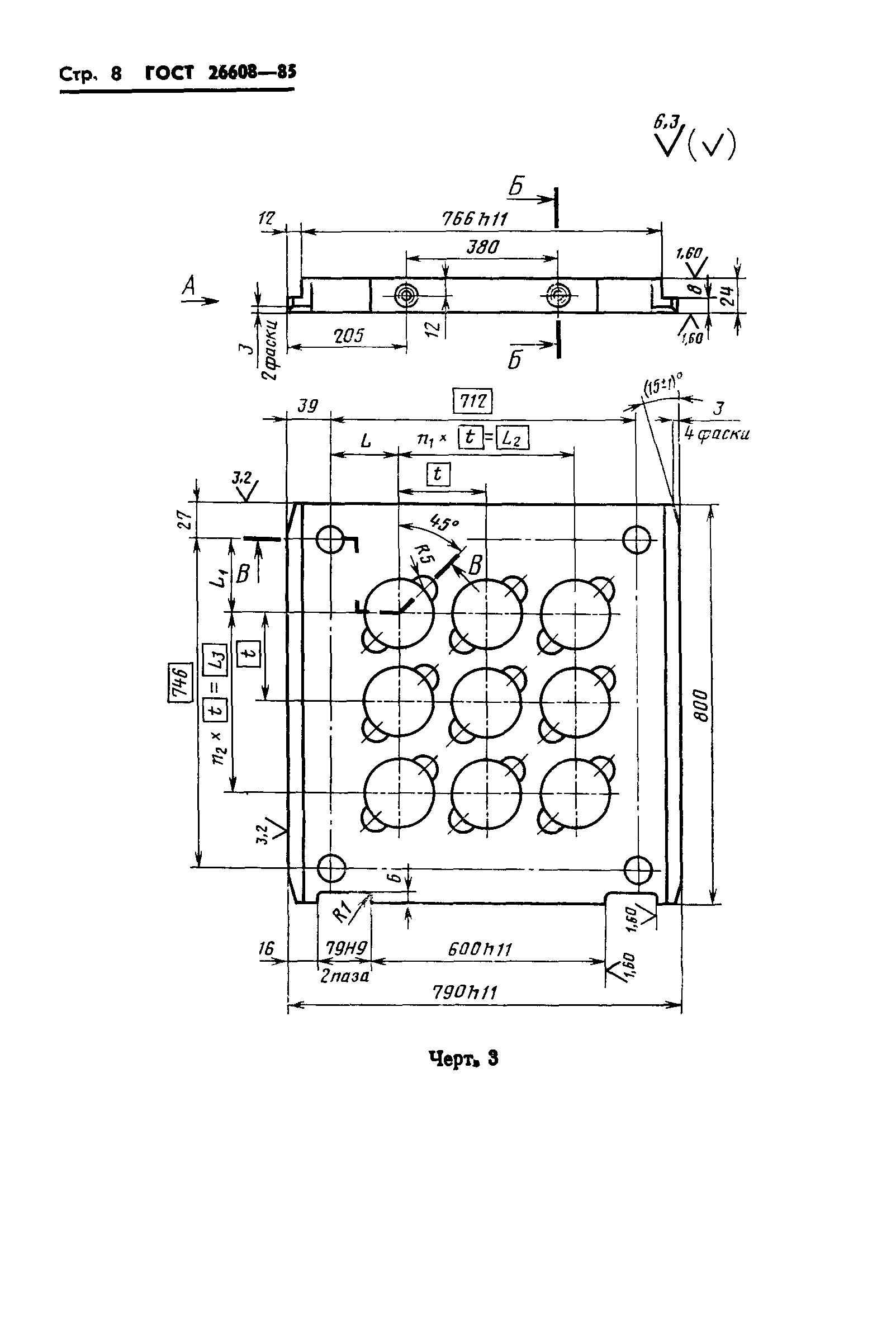
Скачать ГОСТ 26608-85 Блоки двухкассетных пресс-форм для изготовления резинотехнических изделий на прессах с размерами греющих плит 800х800 мм. Конструкция и размеры

Дата актуализации: 10.08.2017

ГОСТ 26608-85

Блоки двухкассетных пресс-форм для изготовления резинотехнических изделий на прессах с размерами греющих плит 800х800 мм. Конструкция и размеры

Обозначение: ГОСТ 26608-85
Обозначение англ: GOST 26608-85
Статус:действует
Название рус.:Блоки двухкассетных пресс-форм для изготовления резинотехнических изделий на прессах с размерами греющих плит 800х800 мм. Конструкция и размеры
Название англ.:Blocks of two-kassette press moulds for producing the rubber technical parts on presses with heating plates dimensions 800x800 mm. Design and dimensions
Дата добавления в базу:01.09.2013
Дата актуализации:05.05.2017
Дата введения:01.06.1987
Утверждён:19.09.1985 Госстандарт СССР (USSR Gosstandart 2941)
Расположен в:Техническая документация Электроэнергия РЕЗИНОВАЯ, РЕЗИНОТЕХНИЧЕСКАЯ, АСБЕСТОТЕХНИЧЕСКАЯ И ПЛАСТМАССОВАЯ ПРОМЫШЛЕННОСТЬ Оборудование для производства резины и пластмасс Экология РЕЗИНОВАЯ, РЕЗИНОТЕХНИЧЕСКАЯ, АСБЕСТОТЕХНИЧЕСКАЯ И ПЛАСТМАССОВАЯ ПРОМЫШЛЕННОСТЬ Оборудование для производства резины и пластмасс
ГОСТ 26608-85ГОСТ 26608-85ГОСТ 26608-85ГОСТ 26608-85ГОСТ 26608-85ГОСТ 26608-85ГОСТ 26608-85ГОСТ 26608-85ГОСТ 26608-85ГОСТ 26608-85ГОСТ 26608-85ГОСТ 26608-85ГОСТ 26608-85ГОСТ 26608-85ГОСТ 26608-85

© 2013 Ёшкин Кот :-) Карта сайта