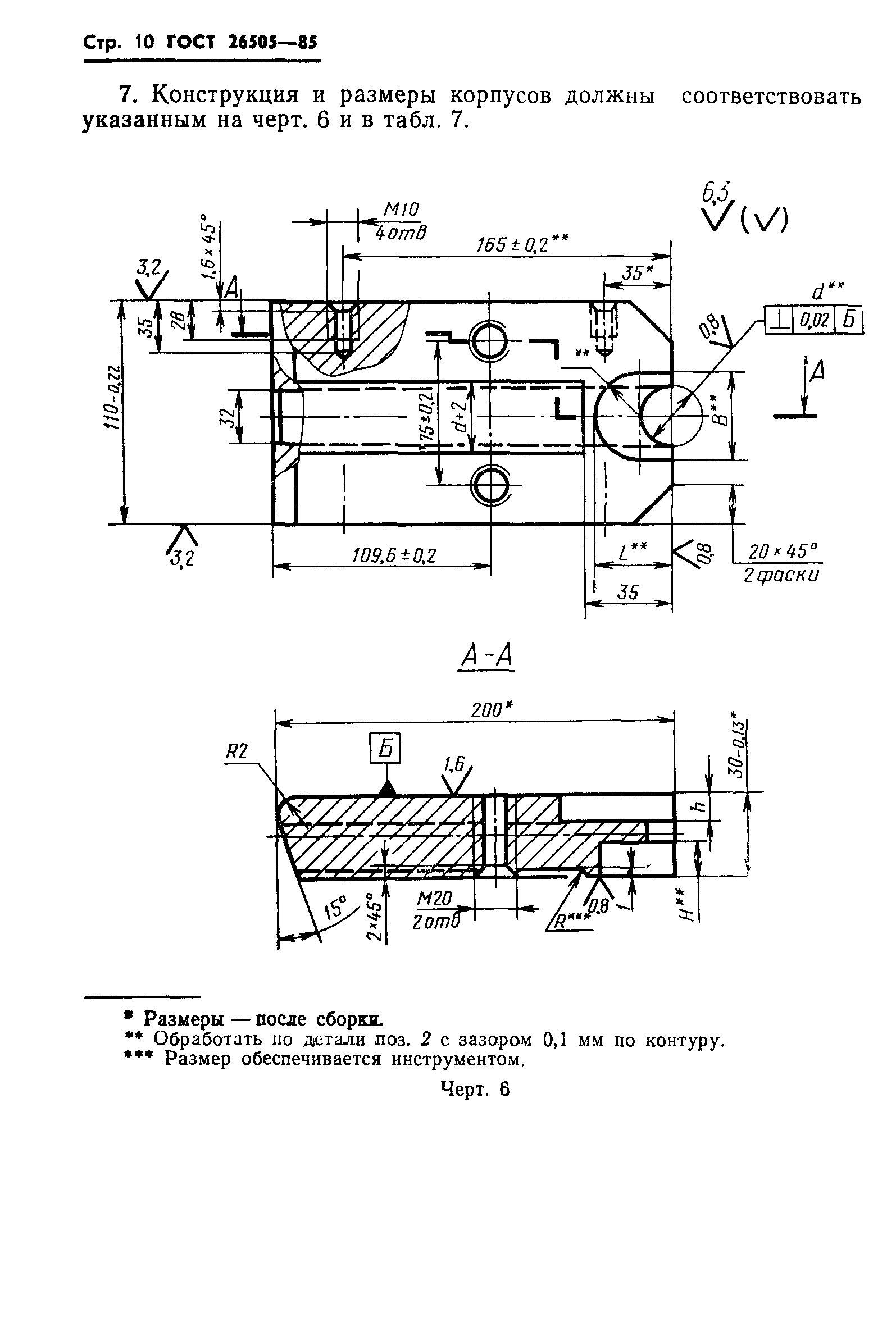
Скачать ГОСТ 26505-85 Инструмент для холодноштамповочных автоматов. Ножи отрезные. Конструкция и размерыДата актуализации: 10.08.2017 ГОСТ 26505-85
Инструмент для холодноштамповочных автоматов. Ножи отрезные. Конструкция и размерыОбозначение: | ГОСТ 26505-85 | Обозначение англ: | GOST 26505-85 | Статус: | действует | Название рус.: | Инструмент для холодноштамповочных автоматов. Ножи отрезные. Конструкция и размеры | Название англ.: | Tools for cold-forming machenes.Gutters. Construktion and dimensions | Дата добавления в базу: | 01.09.2013 | Дата актуализации: | 05.05.2017 | Дата введения: | 01.07.1987 | Утверждён: | 28.03.1985 Госстандарт СССР (USSR Gosstandart 962)
| Расположен в: |
|
                  
|