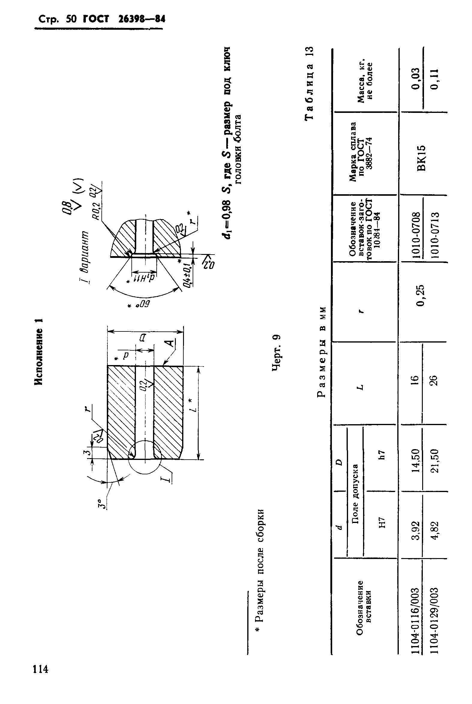
Скачать ГОСТ 26398-84 Инструмент для холодновысадочных автоматов. Матрицы для высадки болтов с редуцированием стержня. Конструкция и размерыДата актуализации: 10.08.2017 ГОСТ 26398-84
Инструмент для холодновысадочных автоматов. Матрицы для высадки болтов с редуцированием стержня. Конструкция и размерыОбозначение: | ГОСТ 26398-84 | Обозначение англ: | GOST 26398-84 | Статус: | действует | Название рус.: | Инструмент для холодновысадочных автоматов. Матрицы для высадки болтов с редуцированием стержня. Конструкция и размеры | Название англ.: | Tools for cold upset automatic machines. Bolt heading dies with shank reducing. Construction and dimensions | Дата добавления в базу: | 01.09.2013 | Дата актуализации: | 05.05.2017 | Дата введения: | 01.07.1986 | Утверждён: | 27.12.1984 Госстандарт СССР (USSR Gosstandart 4964)
| Расположен в: |
|
                                                            
|