Информационная система
«Ёшкин Кот»

Скачать базу одним архивом
Скачать обновления
История создания базы
Карта сайта

Скачать ГОСТ 26135-84 Окатыши железорудные. Метод определения набухания при восстановлении

Дата актуализации: 10.08.2017

ГОСТ 26135-84

Окатыши железорудные. Метод определения набухания при восстановлении

Обозначение: ГОСТ 26135-84
Обозначение англ: GOST 26135-84
Статус:действует
Название рус.:Окатыши железорудные. Метод определения набухания при восстановлении
Название англ.:Iron ore pellets. Method for determination of reduction swelling
Дата добавления в базу:01.09.2013
Дата актуализации:05.05.2017
Дата введения:01.01.1985
Область применения:Стандарт распространяется на железорудные окатыши и устанавливает метод определения набухания при восстановлении.
Оглавление:1 Метод отбора проб
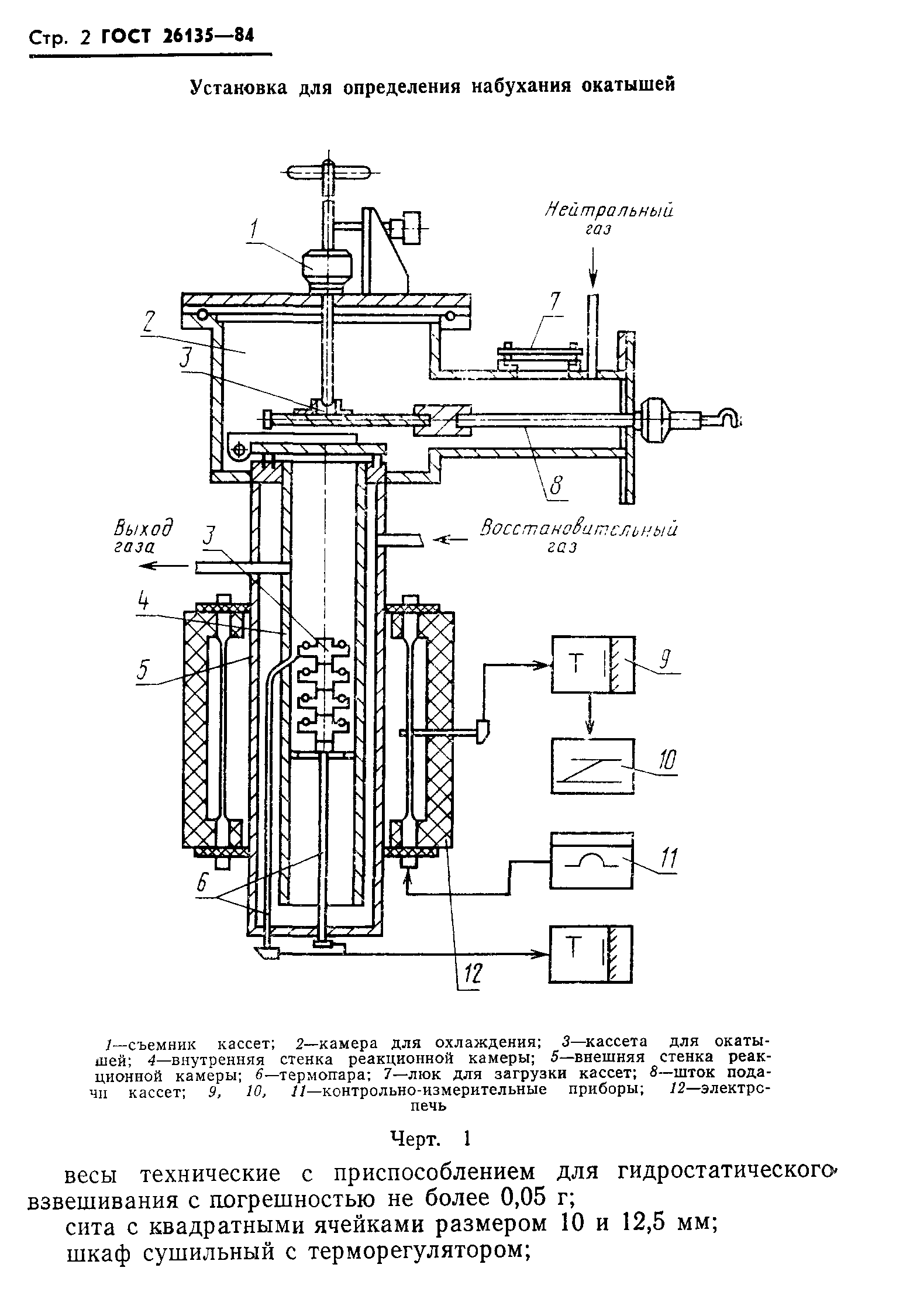
2 Аппаратура
3 Подготовка к испытанию
4 Проведение испытания
5 Обработка результатов
Разработан: Министерство черной металлургии СССР
Утверждён:28.03.1984 Госстандарт СССР (USSR Gosstandart 1121)
Издан: Издательство стандартов (1984 г. )
Расположен в:Техническая документация Электроэнергия ГОРНОЕ ДЕЛО И ПОЛЕЗНЫЕ ИСКОПАЕМЫЕ Рудные минералы и их концентраты Железные руды Экология ГОРНОЕ ДЕЛО И ПОЛЕЗНЫЕ ИСКОПАЕМЫЕ Рудные минералы и их концентраты Железные руды
Нормативные ссылки:
ГОСТ 26135-84ГОСТ 26135-84ГОСТ 26135-84ГОСТ 26135-84ГОСТ 26135-84ГОСТ 26135-84ГОСТ 26135-84ГОСТ 26135-84

© 2013 Ёшкин Кот :-) Карта сайта