| ||||||||||||||||||||||||||||
Скачать ГОСТ 25982-83 Наконечники стоматологические к микроприводу. Общие технические условияДата актуализации: 10.08.2017
|
| Обозначение: | ГОСТ 25982-83 |
| Обозначение англ: | GOST 25982-83 |
| Статус: | действует |
| Название рус.: | Наконечники стоматологические к микроприводу. Общие технические условия |
| Название англ.: | Dental handpieces for electrodrilling machines. General specifications |
| Дата добавления в базу: | 01.09.2013 |
| Дата актуализации: | 05.05.2017 |
| Дата введения: | 01.07.1984 |
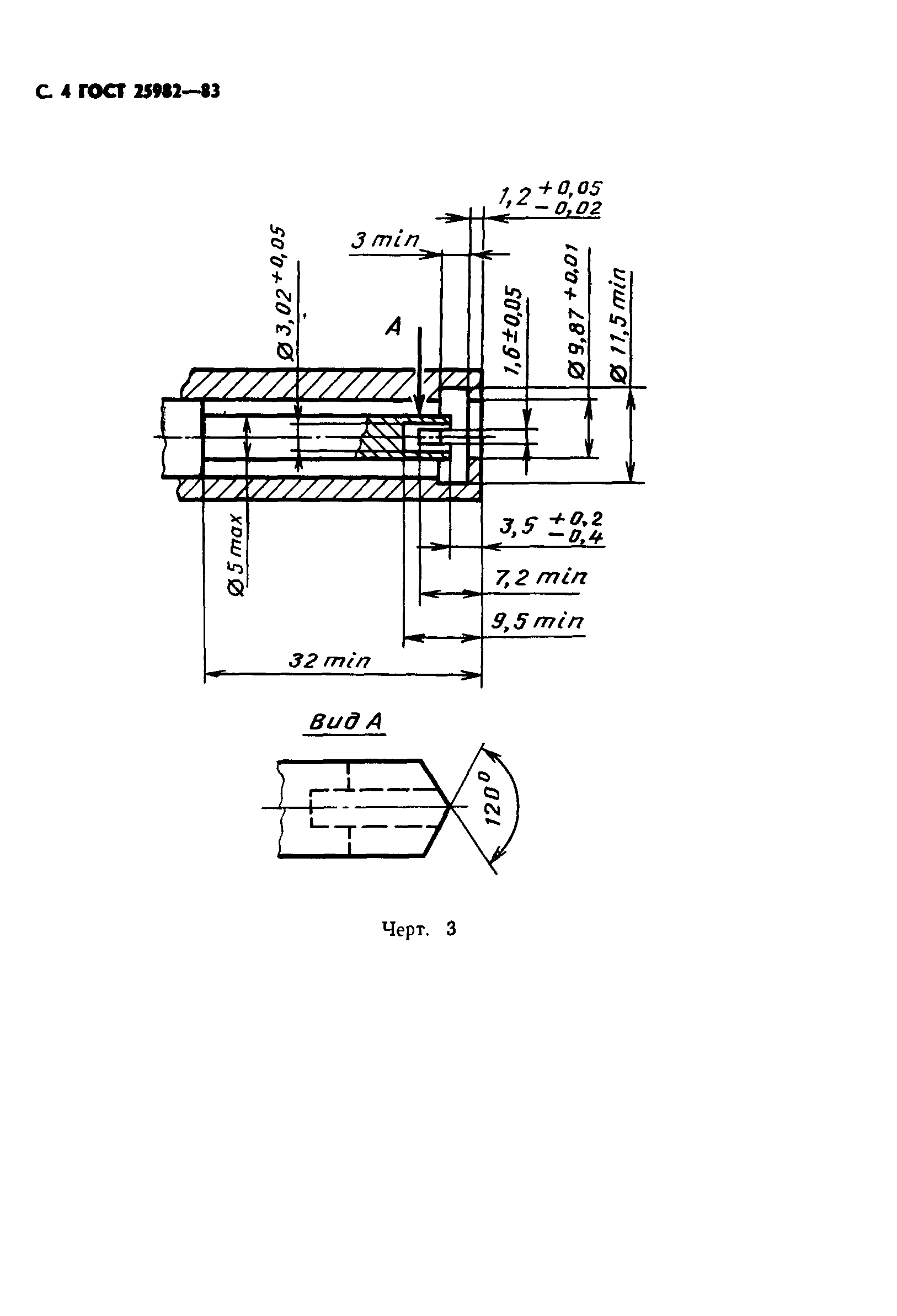
| Оглавление: | 1 Типы 2 Технические требования 3 Комплектность 4 Правила приемки 5 Методы испытаний 6 Маркировка, упаковка, транспортирование и хранение 7 Гарантии изготовителя Приложение 1 Приложение 2 Номенклатура показателей качества наконечников и их применяемость |
| Утверждён: | 30.11.1983 Госстандарт СССР (USSR Gosstandart 5611) |
| Расположен в: | |
| Заменяет собой: |
|





















