Информационная система
«Ёшкин Кот»

Скачать базу одним архивом
Скачать обновления
История создания базы
Карта сайта

Скачать ГОСТ 25764-83 Машины вычислительные и системы обработки данных. Ленты магнитные шириной 12,7 мм с девяти-дорожечной записью плотностью 32 перехода потока на 1 мм. Технические требования

Дата актуализации: 10.08.2017

ГОСТ 25764-83

Машины вычислительные и системы обработки данных. Ленты магнитные шириной 12,7 мм с девяти-дорожечной записью плотностью 32 перехода потока на 1 мм. Технические требования

Обозначение: ГОСТ 25764-83
Обозначение англ: GOST 25764-83
Статус:действует
Название рус.:Машины вычислительные и системы обработки данных. Ленты магнитные шириной 12,7 мм с девяти-дорожечной записью плотностью 32 перехода потока на 1 мм. Технические требования
Название англ.:Computers and data processing systems. 12,7 mm 9-track magnetic tapes with the density of recording of 32 flux changes per mm. Technical requirements
Дата добавления в базу:01.09.2013
Дата актуализации:05.05.2017
Дата введения:01.01.1984
Область применения:Стандарт распространяется на магнитные ленты шириной 12,7 мм с 9-дорожечной записью физической плотностью 32 перехода потока на 1 мм способом записи без возвращения к нулю, предназначенные для обмена информацией в электронных вычислительных машинах и системах обработки данных, в которых используют наборы символов и коды, и устанавливает технические требования к ним.
Оглавление:Приложение (справочное) Пояснение терминов, используемых в настоящем стандарте
Утверждён:26.04.1983 Госстандарт СССР (USSR Gosstandart 2088)
Издан: Издательство стандартов (1983 г. )
Расположен в:Техническая документация Электроэнергия ИНФОРМАЦИОННЫЕ ТЕХНОЛОГИИ. МАШИНЫ КОНТОРСКИЕ Запоминающие устройства Магнитные ленты Экология ИНФОРМАЦИОННЫЕ ТЕХНОЛОГИИ. МАШИНЫ КОНТОРСКИЕ Запоминающие устройства Магнитные ленты
Список изменений:
Заменяет собой:
  • ГОСТ 12065-74 «Машины вычислительные. Магнитная лента. Форма, размеры и расположение дорожек»
Нормативные ссылки:
ГОСТ 25764-83ГОСТ 25764-83ГОСТ 25764-83ГОСТ 25764-83ГОСТ 25764-83ГОСТ 25764-83ГОСТ 25764-83ГОСТ 25764-83ГОСТ 25764-83

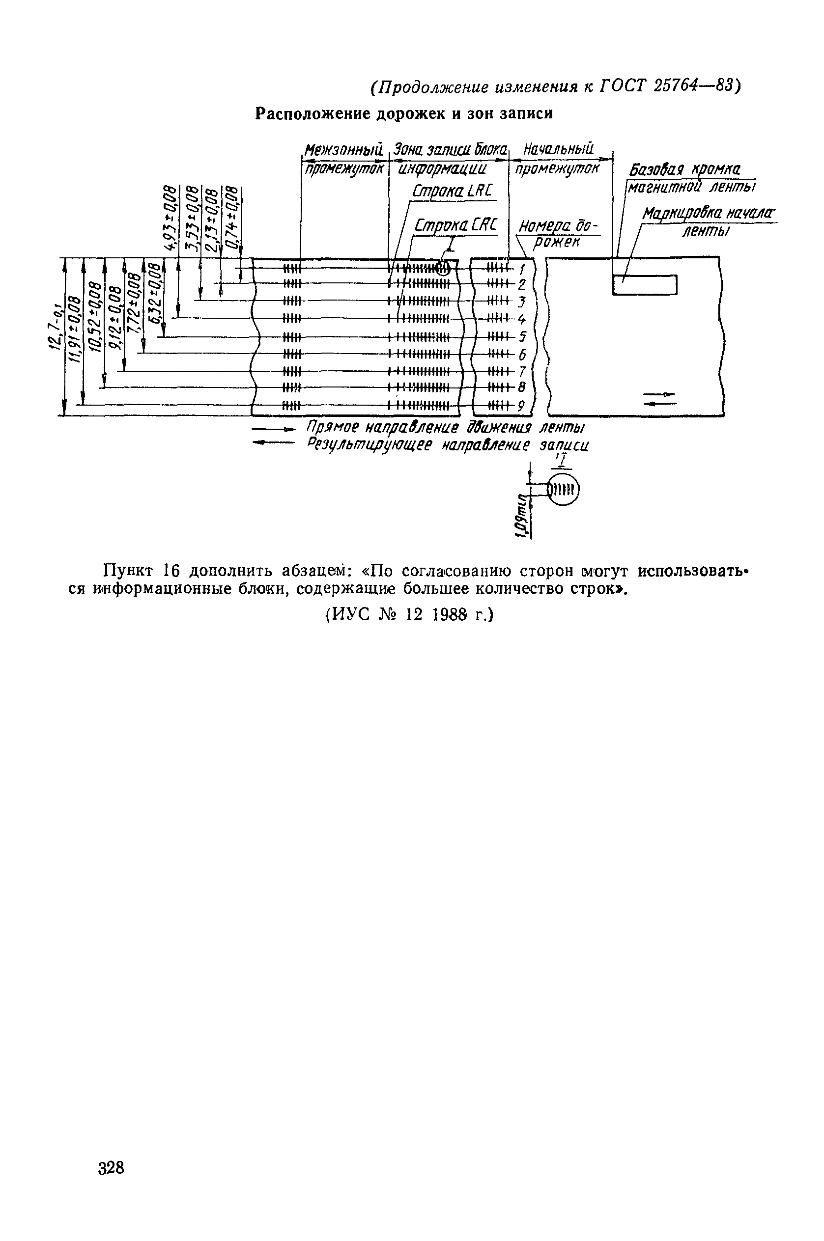
Текстовое изменение № 1 от 01.01.1989

№ 1№ 1

© 2013 Ёшкин Кот :-) Карта сайта