Информационная система
«Ёшкин Кот»

Скачать базу одним архивом
Скачать обновления
История создания базы
Карта сайта

Скачать ГОСТ 25691-83 Кожа искусственная и синтетическая для одежды. Метод определения динамического и статического коэффициентов трения

Дата актуализации: 10.08.2017

ГОСТ 25691-83

Кожа искусственная и синтетическая для одежды. Метод определения динамического и статического коэффициентов трения

Обозначение: ГОСТ 25691-83
Обозначение англ: GOST 25691-83
Статус:действует
Название рус.:Кожа искусственная и синтетическая для одежды. Метод определения динамического и статического коэффициентов трения
Название англ.:Artificial and synthetic leather for clothing. Method of defining of dynamic and static friction factors
Дата добавления в базу:01.09.2013
Дата актуализации:05.05.2017
Дата введения:01.07.1984
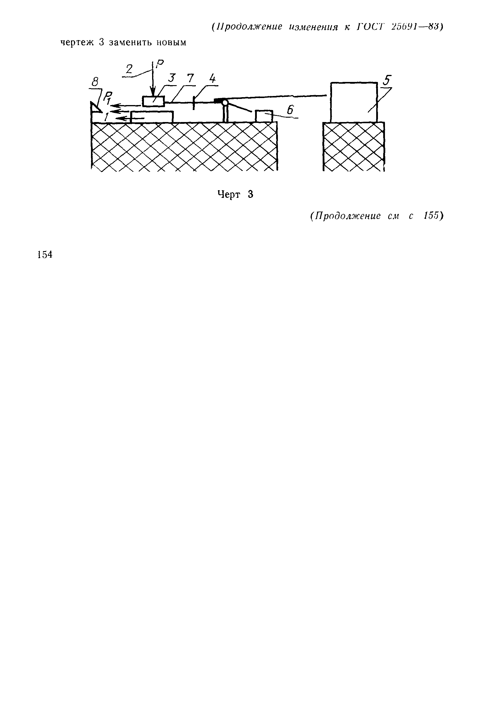
Оглавление:1 Метод отбора образцов
2 Аппаратура
3 Подготовка к испытанию
4 проведение испытания
5 Обработка результатов
Утверждён:27.03.1983 Госстандарт СССР (USSR Gosstandart 1440)
Расположен в:Техническая документация Электроэнергия ТЕКСТИЛЬНОЕ И КОЖЕВЕННОЕ ПРОИЗВОДСТВО Технология производства кожи Кожи и меха Экология ТЕКСТИЛЬНОЕ И КОЖЕВЕННОЕ ПРОИЗВОДСТВО Технология производства кожи Кожи и меха
ГОСТ 25691-83ГОСТ 25691-83ГОСТ 25691-83ГОСТ 25691-83ГОСТ 25691-83ГОСТ 25691-83ГОСТ 25691-83ГОСТ 25691-83ГОСТ 25691-83ГОСТ 25691-83ГОСТ 25691-83ГОСТ 25691-83

© 2013 Ёшкин Кот :-) Карта сайта