Информационная система
«Ёшкин Кот»

Скачать базу одним архивом
Скачать обновления
История создания базы
Карта сайта

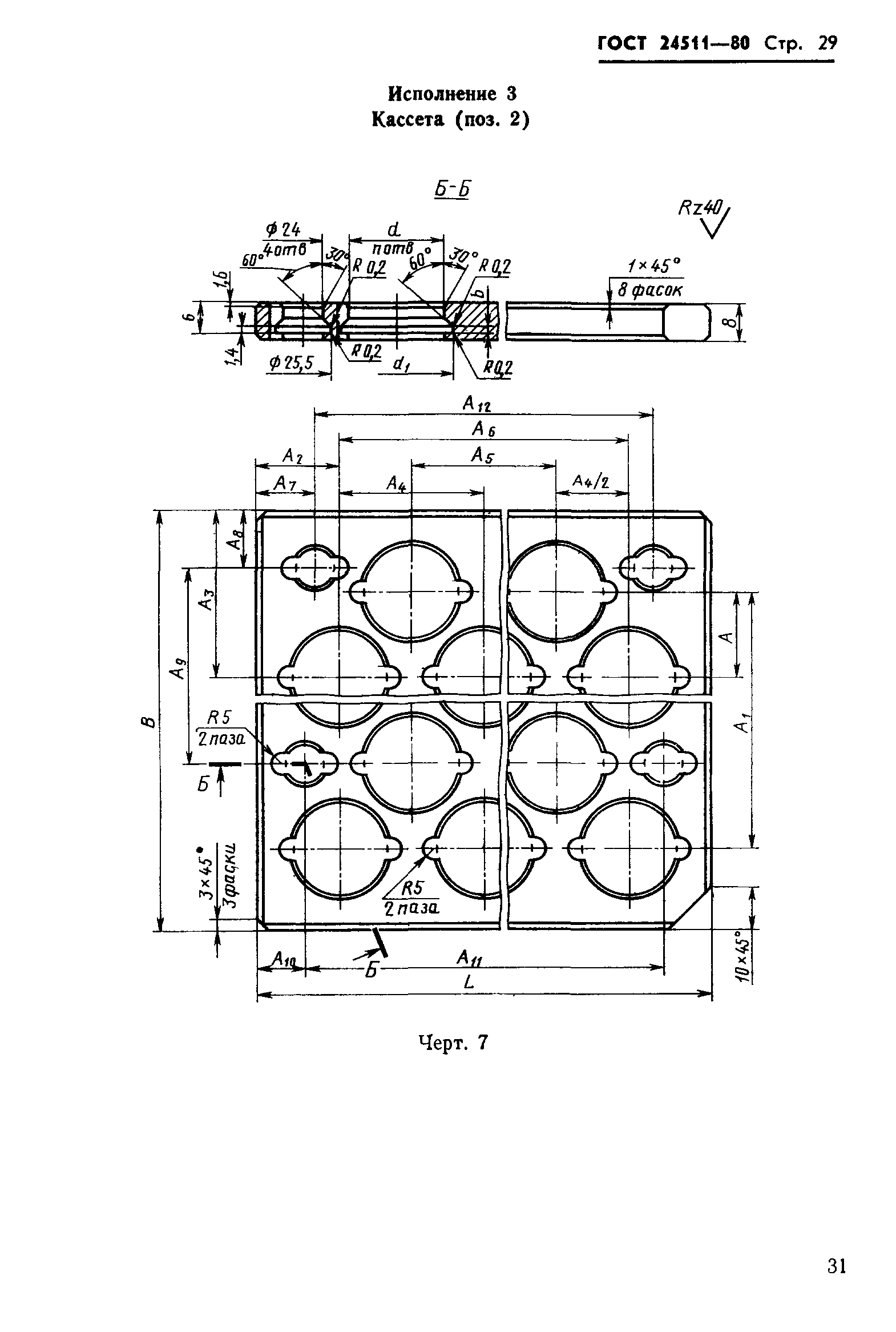
Скачать ГОСТ 24511-80 Блоки кассетных съемных пресс-форм для изготовления резинотехнических изделий. Конструкция и размеры

Дата актуализации: 10.08.2017

ГОСТ 24511-80

Блоки кассетных съемных пресс-форм для изготовления резинотехнических изделий. Конструкция и размеры

Обозначение: ГОСТ 24511-80
Обозначение англ: GOST 24511-80
Статус:действует
Название рус.:Блоки кассетных съемных пресс-форм для изготовления резинотехнических изделий. Конструкция и размеры
Название англ.:Block of casette removable press-moulds for rubber-technical articles. Construction and dimensions
Дата добавления в базу:01.09.2013
Дата актуализации:05.05.2017
Дата введения:01.01.1983
Оглавление:Приложение 1 Компоновка блоков двухкассетных пресс-форм колонками и втулками
Приложение 2 Пресс-формы универсальные кассетные для изготовления резинотехнических изделий (РТИ)
Приложение 3 Агрегатирование съемных пресс-форм в приспособлениях для их группового раскрытия и выдвижения
Утверждён:30.12.1980 Госстандарт СССР (USSR Gosstandart 6273)
Расположен в:Техническая документация Электроэнергия РЕЗИНОВАЯ, РЕЗИНОТЕХНИЧЕСКАЯ, АСБЕСТОТЕХНИЧЕСКАЯ И ПЛАСТМАССОВАЯ ПРОМЫШЛЕННОСТЬ Оборудование для производства резины и пластмасс Экология РЕЗИНОВАЯ, РЕЗИНОТЕХНИЧЕСКАЯ, АСБЕСТОТЕХНИЧЕСКАЯ И ПЛАСТМАССОВАЯ ПРОМЫШЛЕННОСТЬ Оборудование для производства резины и пластмасс
ГОСТ 24511-80ГОСТ 24511-80ГОСТ 24511-80ГОСТ 24511-80ГОСТ 24511-80ГОСТ 24511-80ГОСТ 24511-80ГОСТ 24511-80ГОСТ 24511-80ГОСТ 24511-80ГОСТ 24511-80ГОСТ 24511-80ГОСТ 24511-80ГОСТ 24511-80ГОСТ 24511-80ГОСТ 24511-80ГОСТ 24511-80ГОСТ 24511-80ГОСТ 24511-80ГОСТ 24511-80ГОСТ 24511-80ГОСТ 24511-80ГОСТ 24511-80ГОСТ 24511-80ГОСТ 24511-80ГОСТ 24511-80ГОСТ 24511-80ГОСТ 24511-80ГОСТ 24511-80ГОСТ 24511-80ГОСТ 24511-80ГОСТ 24511-80ГОСТ 24511-80ГОСТ 24511-80ГОСТ 24511-80ГОСТ 24511-80ГОСТ 24511-80ГОСТ 24511-80ГОСТ 24511-80ГОСТ 24511-80ГОСТ 24511-80ГОСТ 24511-80ГОСТ 24511-80ГОСТ 24511-80ГОСТ 24511-80ГОСТ 24511-80ГОСТ 24511-80ГОСТ 24511-80ГОСТ 24511-80ГОСТ 24511-80ГОСТ 24511-80ГОСТ 24511-80ГОСТ 24511-80ГОСТ 24511-80ГОСТ 24511-80ГОСТ 24511-80ГОСТ 24511-80ГОСТ 24511-80ГОСТ 24511-80ГОСТ 24511-80ГОСТ 24511-80ГОСТ 24511-80ГОСТ 24511-80

© 2013 Ёшкин Кот :-) Карта сайта