Информационная система
«Ёшкин Кот»

Скачать базу одним архивом
Скачать обновления
История создания базы
Карта сайта

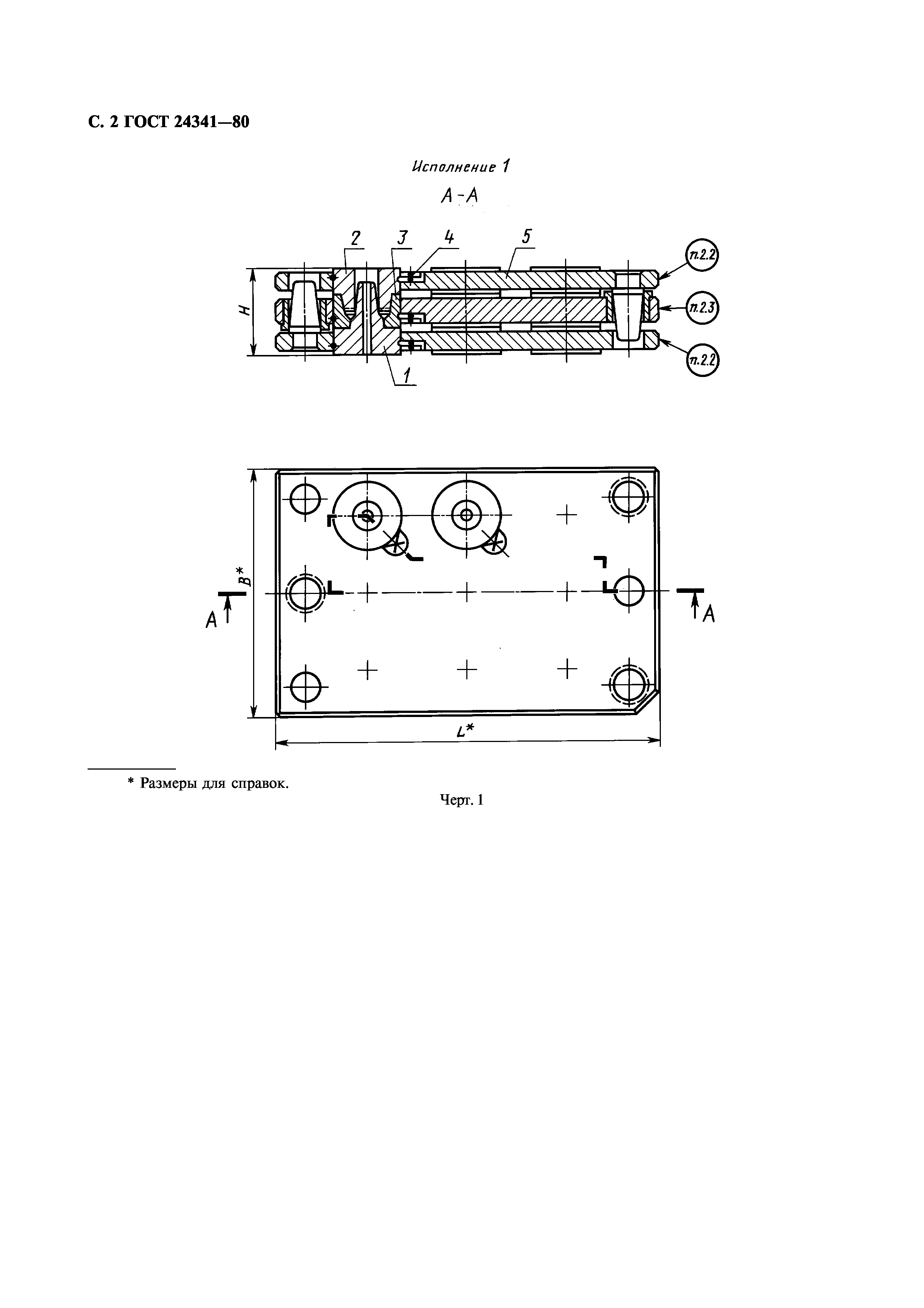
Скачать ГОСТ 24341-80 Пресс-формы съемные многоместные для изготовления резинотканевых опорных колец. Конструкция и размеры

Дата актуализации: 10.08.2017

ГОСТ 24341-80

Пресс-формы съемные многоместные для изготовления резинотканевых опорных колец. Конструкция и размеры

Обозначение: ГОСТ 24341-80
Обозначение англ: GOST 24341-80
Статус:действует
Название рус.:Пресс-формы съемные многоместные для изготовления резинотканевых опорных колец. Конструкция и размеры
Название англ.:Portable multi-impressions press moulds for manufacturing rubber-fabric carrier rings. Design and dimensions
Дата добавления в базу:01.09.2013
Дата актуализации:05.05.2017
Дата введения:01.01.1982
Область применения:Стандарт распространяется на съемные многоместные пресс-формы для изготовления резинотканевых опорных колец по ГОСТ 22704-77 для уплотнения штоков диаметром от 8 до 95 мм и цилиндров диаметром от 20 до 110 мм.
Утверждён:31.07.1980 Государственный комитет СССР по стандартам (USSR National Committee on Standards 3940)
Издан: Издательство стандартов (1980 г. )
ИПК Издательство стандартов (2004 г. )
Расположен в:Техническая документация Электроэнергия РЕЗИНОВАЯ, РЕЗИНОТЕХНИЧЕСКАЯ, АСБЕСТОТЕХНИЧЕСКАЯ И ПЛАСТМАССОВАЯ ПРОМЫШЛЕННОСТЬ Оборудование для производства резины и пластмасс Экология РЕЗИНОВАЯ, РЕЗИНОТЕХНИЧЕСКАЯ, АСБЕСТОТЕХНИЧЕСКАЯ И ПЛАСТМАССОВАЯ ПРОМЫШЛЕННОСТЬ Оборудование для производства резины и пластмасс
Список изменений:
Нормативные ссылки:
ГОСТ 24341-80ГОСТ 24341-80ГОСТ 24341-80ГОСТ 24341-80ГОСТ 24341-80ГОСТ 24341-80ГОСТ 24341-80ГОСТ 24341-80ГОСТ 24341-80ГОСТ 24341-80ГОСТ 24341-80ГОСТ 24341-80ГОСТ 24341-80ГОСТ 24341-80ГОСТ 24341-80ГОСТ 24341-80ГОСТ 24341-80ГОСТ 24341-80ГОСТ 24341-80

Текстовое изменение № 1 от 01.03.1993

№ 1№ 1№ 1№ 1№ 1№ 1

© 2013 Ёшкин Кот :-) Карта сайта