Информационная система
«Ёшкин Кот»

Скачать базу одним архивом
Скачать обновления
История создания базы
Карта сайта

Скачать ГОСТ 24242-89 Гидроприводы объемные. Буквенные обозначения присоединительных отверстий гидроустройств

Дата актуализации: 10.08.2017

ГОСТ 24242-89

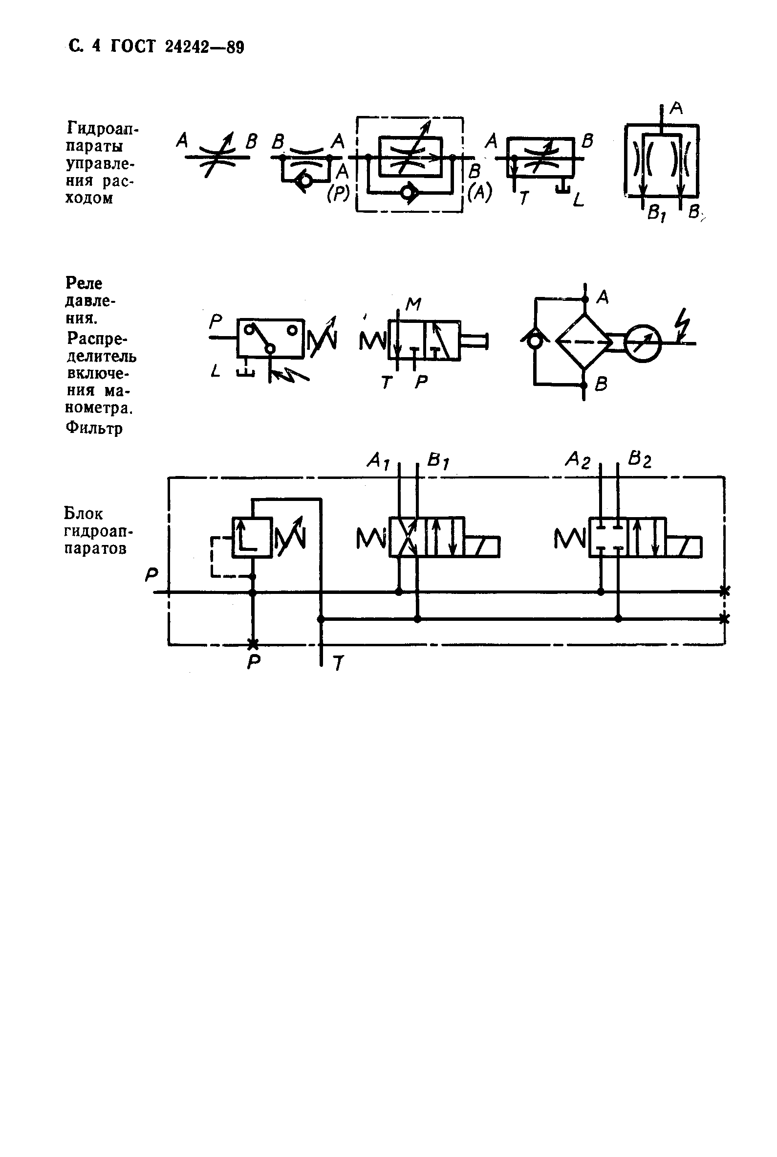
Гидроприводы объемные. Буквенные обозначения присоединительных отверстий гидроустройств

Обозначение: ГОСТ 24242-89
Обозначение англ: GOST 24242-89
Статус:заменен
Название рус.:Гидроприводы объемные. Буквенные обозначения присоединительных отверстий гидроустройств
Название англ.:Positive-displacement hydraulic drives. Letter symbols of connecting ports of hydraulic eguipment
Дата добавления в базу:01.10.2014
Дата актуализации:05.05.2017
Дата введения:01.01.2002
Область применения:Стандарт распространяется на гидроустройства и устанавливает номенклатуру буквенных обозначений отверстий для присоединения гидроустройств к гидролиниям.
Разработан: Министерство станкостроительной и инструментальной промышленности СССР
Утверждён:13.03.1989 Госстандарт СССР (USSR Gosstandart 449)
Издан: Издательство стандартов (1989 г. )
Расположен в:Техническая документация Электроэнергия ГИДРАВЛИЧЕСКИЕ И ПНЕВМАТИЧЕСКИЕ СИСТЕМЫ И КОМПОНЕНТЫ ОБЩЕГО НАЗНАЧЕНИЯ Объемные гидроприводы и пневмоприводы Объемные гидроприводы и пневмоприводы в целом ОБЩИЕ ПОЛОЖЕНИЯ. ТЕРМИНОЛОГИЯ. СТАНДАРТИЗАЦИЯ. ДОКУМЕНТАЦИЯ Знаковые обозначения Экология ГИДРАВЛИЧЕСКИЕ И ПНЕВМАТИЧЕСКИЕ СИСТЕМЫ И КОМПОНЕНТЫ ОБЩЕГО НАЗНАЧЕНИЯ Объемные гидроприводы и пневмоприводы Объемные гидроприводы и пневмоприводы в целом ОБЩИЕ ПОЛОЖЕНИЯ. ТЕРМИНОЛОГИЯ. СТАНДАРТИЗАЦИЯ. ДОКУМЕНТАЦИЯ Знаковые обозначения
Заменяет собой:
  • ГОСТ 24242-80 «Гидроприводы объемные. Буквенные обозначения присоединительных отверстий гидроаппаратов»
Чем заменён:
ГОСТ 24242-89ГОСТ 24242-89ГОСТ 24242-89ГОСТ 24242-89ГОСТ 24242-89ГОСТ 24242-89ГОСТ 24242-89

© 2013 Ёшкин Кот :-) Карта сайта