Информационная система
«Ёшкин Кот»

Скачать базу одним архивом
Скачать обновления
История создания базы
Карта сайта

Скачать ГОСТ 23738-85 Ванны автооператорных линий для химической, электрохимической обработки поверхности и получения покрытий. Основные параметры и размеры

Дата актуализации: 10.08.2017

ГОСТ 23738-85

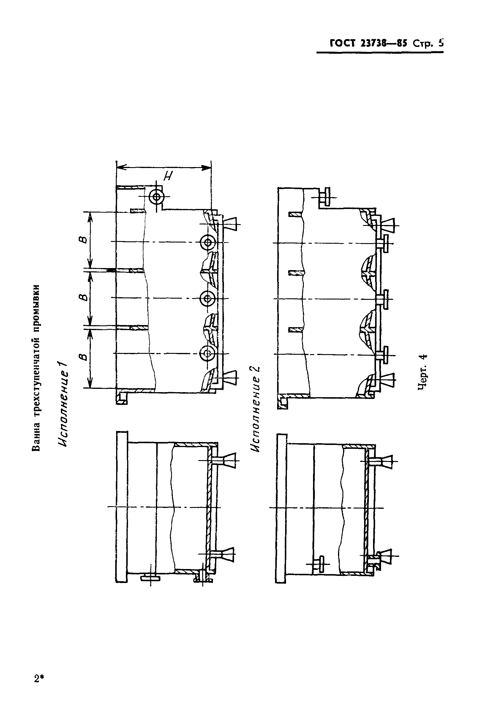
Ванны автооператорных линий для химической, электрохимической обработки поверхности и получения покрытий. Основные параметры и размеры

Обозначение: ГОСТ 23738-85
Обозначение англ: GOST 23738-85
Статус:действует
Название рус.:Ванны автооператорных линий для химической, электрохимической обработки поверхности и получения покрытий. Основные параметры и размеры
Название англ.:Baths of autooperating lines for chemical, electrochemical treatment of surfase and producing of coatings. Basic parametrs and dimensions
Дата добавления в базу:01.09.2013
Дата актуализации:05.05.2017
Дата введения:01.07.1986
Область применения:Стандарт распространяется на ванны автооператорных линий (автоматических, автоматизированных и механизированных) для химической, электрохимической обработки и подготовки поверхности основного металла перед получением покрытий и получения покрытий.
Разработан: Министерство станкостроительной и инструментальной промышленности
Утверждён:26.03.1985 Госстандарт СССР (USSR Gosstandart 830)
Издан: Издательство стандартов (1985 г. )
Расположен в:Техническая документация Электроэнергия МАШИНОСТРОЕНИЕ Обработка и покрытие поверхности Обработка поверхности Экология МАШИНОСТРОЕНИЕ Обработка и покрытие поверхности Обработка поверхности
Заменяет собой:
  • ГОСТ 23738-79 «Ванны автооператорных линий для химической, электрохимической обработки поверхности и получения покрытий. Основные параметры и размеры»
ГОСТ 23738-85ГОСТ 23738-85ГОСТ 23738-85ГОСТ 23738-85ГОСТ 23738-85ГОСТ 23738-85ГОСТ 23738-85ГОСТ 23738-85ГОСТ 23738-85ГОСТ 23738-85ГОСТ 23738-85ГОСТ 23738-85ГОСТ 23738-85ГОСТ 23738-85ГОСТ 23738-85ГОСТ 23738-85ГОСТ 23738-85ГОСТ 23738-85ГОСТ 23738-85ГОСТ 23738-85ГОСТ 23738-85ГОСТ 23738-85ГОСТ 23738-85

© 2013 Ёшкин Кот :-) Карта сайта