Информационная система
«Ёшкин Кот»

Скачать базу одним архивом
Скачать обновления
История создания базы
Карта сайта

Скачать ГОСТ 23553-79 Пластмассы. Манометрический метод определения газопроницаемости

Дата актуализации: 10.08.2017

ГОСТ 23553-79

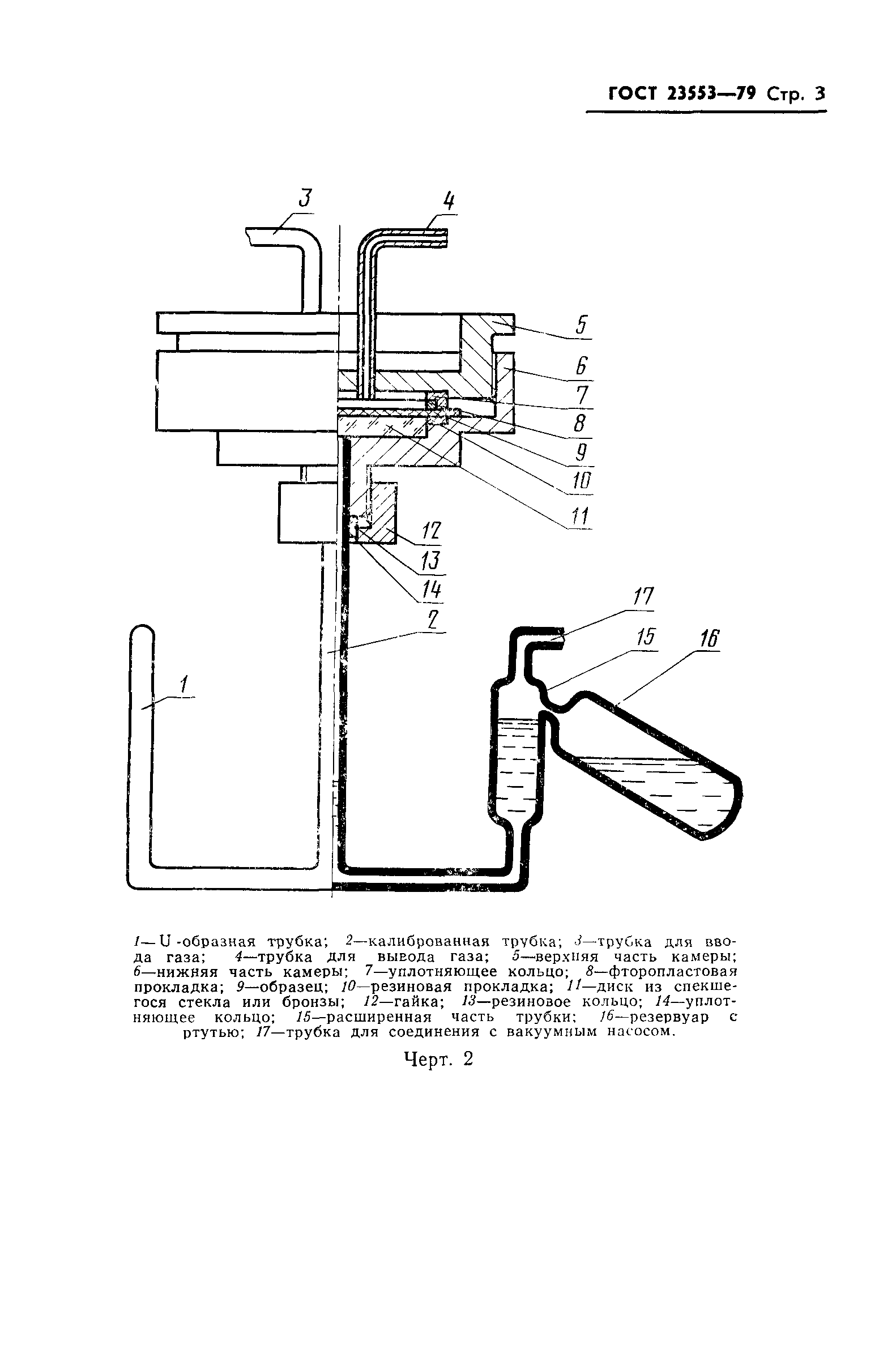
Пластмассы. Манометрический метод определения газопроницаемости

Обозначение: ГОСТ 23553-79
Обозначение англ: GOST 23553-79
Статус:действует
Название рус.:Пластмассы. Манометрический метод определения газопроницаемости
Название англ.:Plastics. Manometer method for determination of gas permeability
Дата добавления в базу:01.09.2013
Дата актуализации:05.05.2017
Дата введения:01.01.1981
Оглавление:1 Отбор и подготовка образцов для испытания
2 Аппаратура, приборы и реактивы
3 Подготовка к испытанию
4 Проведение испытания
5 Обработка результатов
Утверждён:09.04.1979 Госстандарт СССР (USSR Gosstandart 1266)
Расположен в:Техническая документация Электроэнергия РЕЗИНОВАЯ, РЕЗИНОТЕХНИЧЕСКАЯ, АСБЕСТОТЕХНИЧЕСКАЯ И ПЛАСТМАССОВАЯ ПРОМЫШЛЕННОСТЬ Пластмассы Пластмассы в целом ИСПЫТАНИЯ Условия и методики испытаний в целом Экология РЕЗИНОВАЯ, РЕЗИНОТЕХНИЧЕСКАЯ, АСБЕСТОТЕХНИЧЕСКАЯ И ПЛАСТМАССОВАЯ ПРОМЫШЛЕННОСТЬ Пластмассы Пластмассы в целом ИСПЫТАНИЯ Условия и методики испытаний в целом
ГОСТ 23553-79ГОСТ 23553-79ГОСТ 23553-79ГОСТ 23553-79ГОСТ 23553-79ГОСТ 23553-79ГОСТ 23553-79ГОСТ 23553-79ГОСТ 23553-79ГОСТ 23553-79

© 2013 Ёшкин Кот :-) Карта сайта