Информационная система
«Ёшкин Кот»

Скачать базу одним архивом
Скачать обновления
История создания базы
Карта сайта

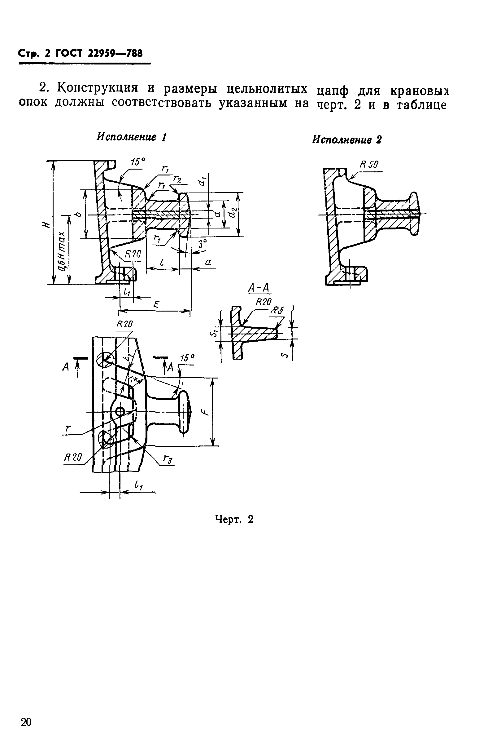
Скачать ГОСТ 22959-78 Ручки и цапфы цельнолитые для литейных стальных и чугунных опок. Конструкция и размеры

Дата актуализации: 10.08.2017

ГОСТ 22959-78

Ручки и цапфы цельнолитые для литейных стальных и чугунных опок. Конструкция и размеры

Обозначение: ГОСТ 22959-78
Обозначение англ: GOST 22959-78
Статус:действует
Название рус.:Ручки и цапфы цельнолитые для литейных стальных и чугунных опок. Конструкция и размеры
Название англ.:Handles and frunnions for steel and iron moulding boxes. Construction and dimensions
Дата добавления в базу:01.09.2013
Дата актуализации:05.05.2017
Дата введения:01.01.1979
Утверждён:08.02.1978 Госстандарт СССР (USSR Gosstandart 400)
Расположен в:Техническая документация Электроэнергия МАШИНОСТРОЕНИЕ Оборудование для бесстружечной обработки Оборудование для литья Экология МАШИНОСТРОЕНИЕ Оборудование для бесстружечной обработки Оборудование для литья
Заменяет собой:
  • МН 145-59 (в части цельнолитых ручек)
  • МН 147-59 (в части цельнолитых цапф)
  • МН 148-59 (в части цельнолитых цапф)
ГОСТ 22959-78ГОСТ 22959-78ГОСТ 22959-78ГОСТ 22959-78ГОСТ 22959-78ГОСТ 22959-78ГОСТ 22959-78ГОСТ 22959-78

© 2013 Ёшкин Кот :-) Карта сайта