Скачать ГОСТ 22808-83 Сборочные единицы и детали трубопроводов. Отводы линзовые с фланцами на Ру св. 10 до 63 МПа (св. 100 до 630 кгс/см.кв.). Конструкция и размерыДата актуализации: 10.08.2017 ГОСТ 22808-83
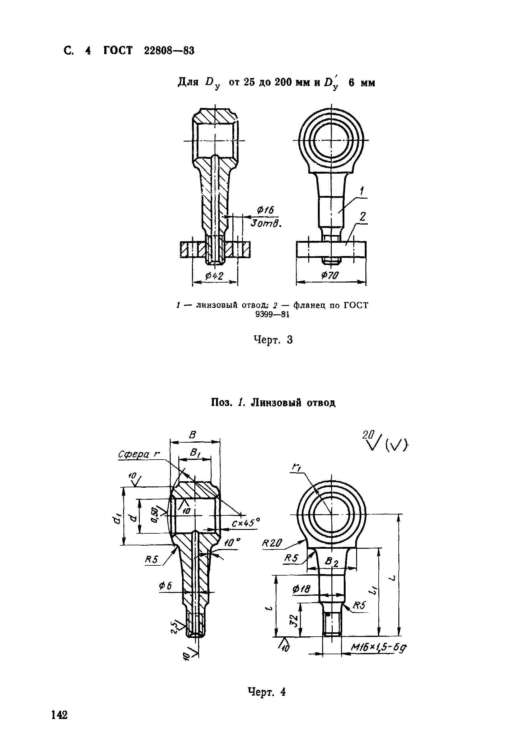
Сборочные единицы и детали трубопроводов. Отводы линзовые с фланцами на Ру св. 10 до 63 МПа (св. 100 до 630 кгс/см.кв.). Конструкция и размеры| Обозначение: | ГОСТ 22808-83 | | Обозначение англ: | GOST 22808-83 | | Статус: | действует | | Название рус.: | Сборочные единицы и детали трубопроводов. Отводы линзовые с фланцами на Ру св. 10 до 63 МПа (св. 100 до 630 кгс/см.кв.). Конструкция и размеры | | Название англ.: | Assembling unints and pipelins parts. Flanged lens arms for 9,81-98,1 mpa (100-1000 kgf/cm2). Construction and dimensions | | Дата добавления в базу: | 01.09.2013 | | Дата актуализации: | 05.05.2017 | | Дата введения: | 01.01.1985 | | Утверждён: | 25.11.1983 Госстандарт СССР (USSR Gosstandart 5520)
| | Расположен в: |
|
         
|