Скачать ГОСТ 21882-83 Штампы для листовой штамповки. Блоки штампов с промежуточной плитой с диагональным расположением направляющих узлов скольжения. Конструкция и размерыДата актуализации: 10.08.2017 ГОСТ 21882-83
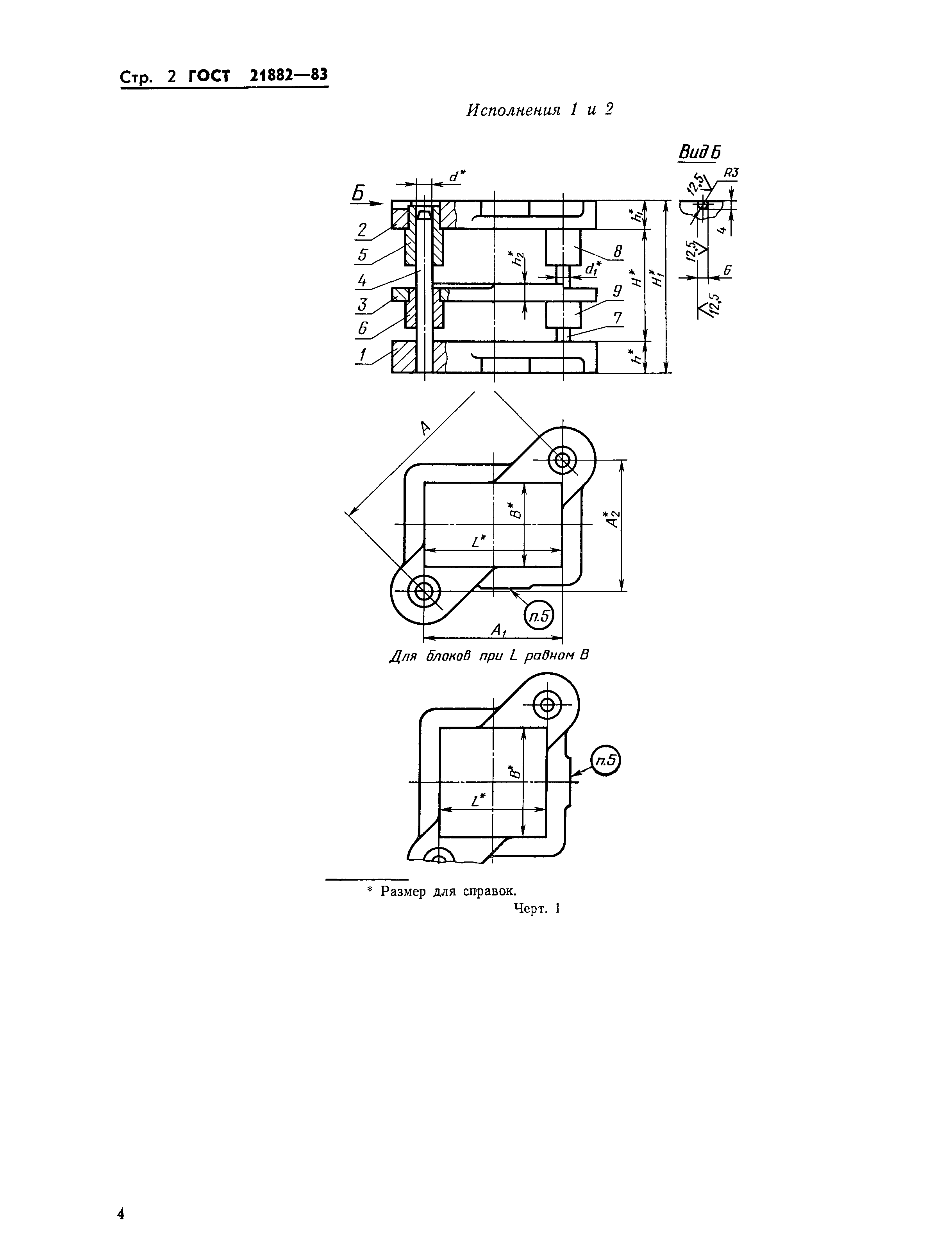
Штампы для листовой штамповки. Блоки штампов с промежуточной плитой с диагональным расположением направляющих узлов скольжения. Конструкция и размерыОбозначение: | ГОСТ 21882-83 | Обозначение англ: | GOST 21882-83 | Статус: | действует | Название рус.: | Штампы для листовой штамповки. Блоки штампов с промежуточной плитой с диагональным расположением направляющих узлов скольжения. Конструкция и размеры | Название англ.: | Diagonal post press tool sets intermediate plate for sheet stamping dies. Construction and dimensions | Дата добавления в базу: | 01.09.2013 | Дата актуализации: | 05.05.2017 | Дата введения: | 01.07.1984 | Утверждён: | 22.09.1983 Госстандарт СССР (USSR Gosstandart 4503)
| Расположен в: |
|
                     
|