| ||||||||||||||||||||||||||||||||||||||
Скачать ГОСТ 21797-76 Шайбы пружинные двухвитковые для железнодорожного пути. Технические условияДата актуализации: 10.08.2017
|
| Обозначение: | ГОСТ 21797-76 |
| Обозначение англ: | GOST 21797-76 |
| Статус: | заменен |
| Название рус.: | Шайбы пружинные двухвитковые для железнодорожного пути. Технические условия |
| Название англ.: | Two-turn spring washers for railway track. Technical specifications |
| Дата добавления в базу: | 01.09.2013 |
| Дата актуализации: | 05.05.2017 |
| Дата введения: | 01.07.2015 |
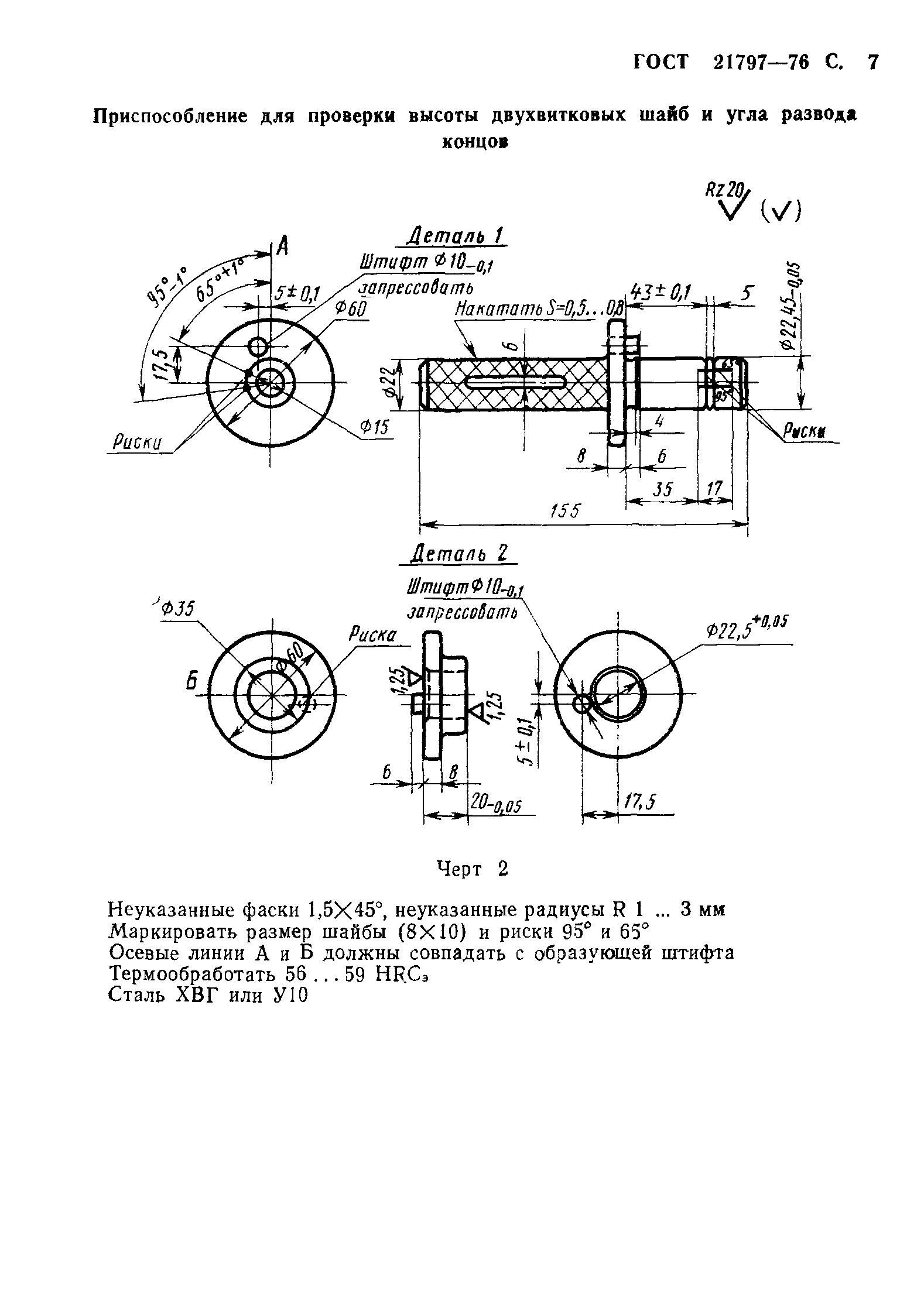
| Область применения: | Стандарт распространяется на двухвитковые пружинные шайбы класса точности С, предназначенные для применения с болтами диаметром 22 мм и с шурупами диаметром 24 мм в конструкциях верхнего строения пути железных дорог. |
| Оглавление: | 1 Конструкция и размеры 2 Технические требования 3 Правила приемки 4 Методы контроля 5 Маркировка, упаковка и транспортирование Приложение (рекомендуемое) Калибр для проверки внутреннего диаметра двухвитковых шайб |
| Разработан: | МПС СССР |
| Утверждён: | 06.05.1976 Государственный комитет стандартов Совета Министров СССР (USSR National Committee on Standards at the Cabinet of Ministers 1091) |
| Издан: | Издательство стандартов (1976 г. ) Издательство стандартов (1995 г. ) Издательство стандартов (1977 г. ) |
| Расположен в: | |
| Список изменений: |
|
| Чем заменён: | |
| Нормативные ссылки: |











Текстовое изменение № 2 от 01.01.1988
