| ||||||||||||||||||||||||||||||||||||
Скачать ГОСТ 21555-76 Материалы электроизоляционные твердые. Методы определения стойкости к надрывуДата актуализации: 10.08.2017
|
| Обозначение: | ГОСТ 21555-76 |
| Обозначение англ: | GOST 21555-76 |
| Статус: | действует |
| Название рус.: | Материалы электроизоляционные твердые. Методы определения стойкости к надрыву |
| Название англ.: | Solid electrical insulating materials. Method for determination of shear resistance |
| Дата добавления в базу: | 01.09.2013 |
| Дата актуализации: | 05.05.2017 |
| Дата введения: | 01.01.1977 |
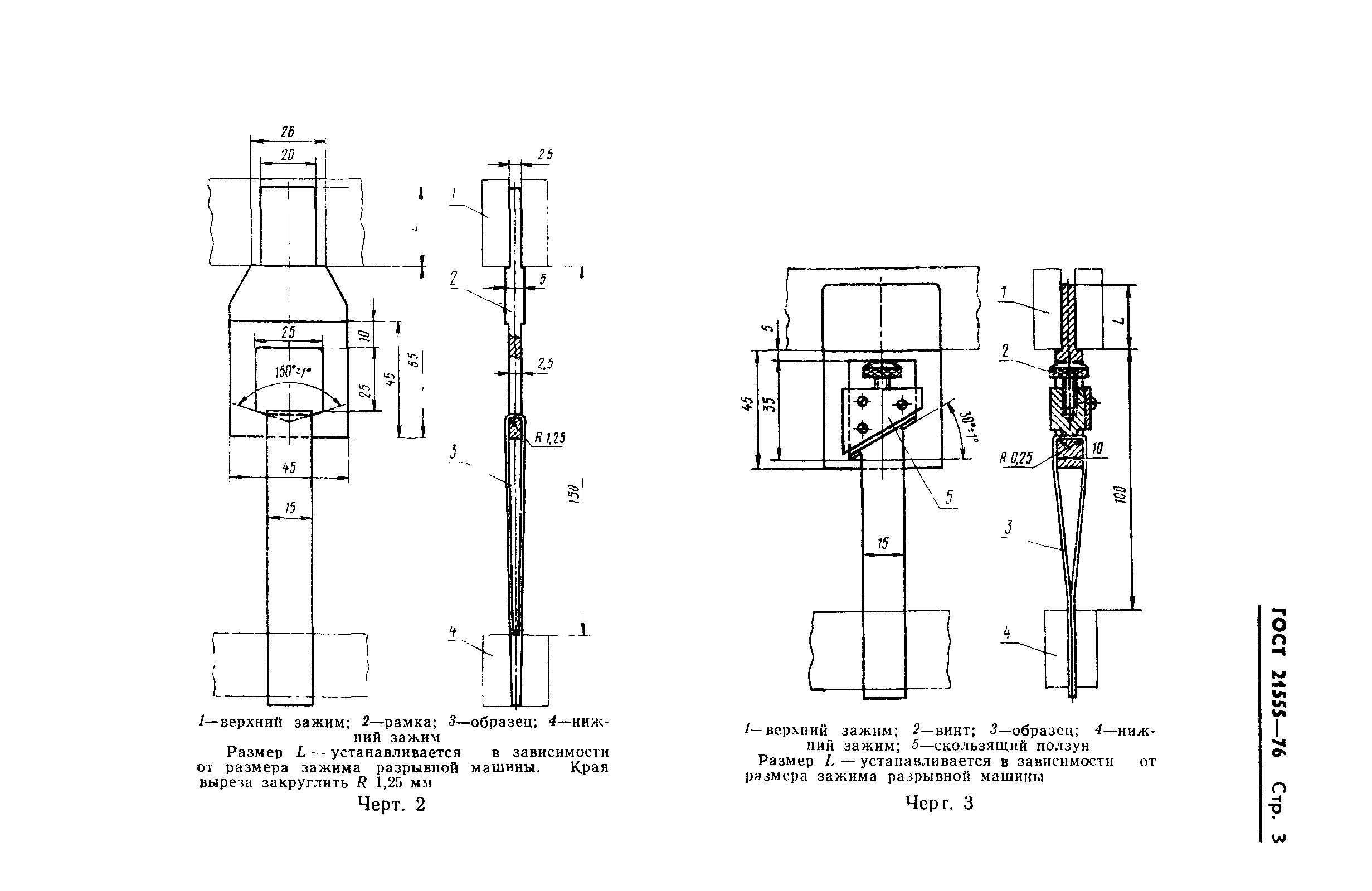
| Область применения: | Стандарт распространяется на твердые гибкие электроизоляционные материалы, применяемые для изоляции электрических машин и аппаратов, и устанавливает методы определения стойкости к надрыву |
| Оглавление: | 1 Методы отбора образцов 2 Аппаратура 3 Подготовка к испытанию 4 Проведение испытаний 5 Обработка результатов |
| Разработан: | ВНИИЭИМ |
| Утверждён: | 10.02.1976 Госстандарт СССР (USSR Gosstandart 363) |
| Издан: | Издательство стандартов (1976 г. ) |
| Расположен в: | |
| Список изменений: |
|
| Нормативные ссылки: |











