Информационная система
«Ёшкин Кот»

Скачать базу одним архивом
Скачать обновления
История создания базы
Карта сайта

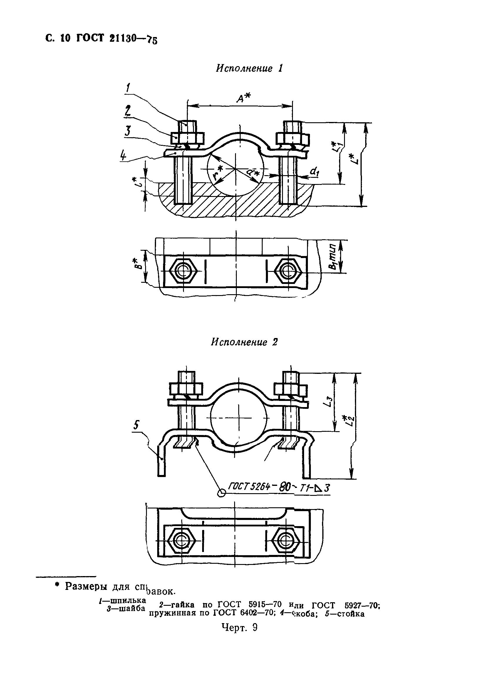
Скачать ГОСТ 21130-75 Изделия электротехнические. Зажимы заземляющие и знаки заземления. Конструкция и размеры

Дата актуализации: 10.08.2017

ГОСТ 21130-75

Изделия электротехнические. Зажимы заземляющие и знаки заземления. Конструкция и размеры

Обозначение: ГОСТ 21130-75
Обозначение англ: GOST 21130-75
Статус:действует
Название рус.:Изделия электротехнические. Зажимы заземляющие и знаки заземления. Конструкция и размеры
Название англ.:Electrical items. Earth terminals and earth signs. Design and dimensions
Дата добавления в базу:01.09.2013
Дата актуализации:05.05.2017
Дата введения:01.07.1976
Область применения:Стандарт распространяется на заземляющие зажимы и знаки заземления, применяемые в электротехнических изделиях и приборах общего назначения, взрывозащищенных и рудничных изделиях для заземления корпусов, оболочек и брови кабелей и подсоединения заземляющих жил.
Оглавление:1 Заземляющие зажимы
2 Знаки заземления
3 Технические требования
Приложение 1 Выбор зажимов для взрывозащищенного и рудничного электрооборудования
Приложение 2 (рекомендуемое) Конструкция и размеры бобышки
Приложение 3 (рекомендуемое) Примеры установки зажимов
Приложение 4 (рекомендуемое) Примеры заземления брони и оболочки кабеля
Приложение 5 (справочное) Масса зажимов по типам
Разработан: Министерство электротехнической промышленности СССР
Утверждён:10.09.1975 Государственный комитет стандартов Совета Министров СССР (USSR National Committee on Standards at the Cabinet of Ministers 2367)
Издан: Издательство стандартов (1975 г. )
Издательство стандартов (1993 г. )
Расположен в:Техническая документация Электроэнергия ЭЛЕКТРОТЕХНИКА Электрическая арматура Электрическая арматура прочая Экология ЭЛЕКТРОТЕХНИКА Электрическая арматура Электрическая арматура прочая
Список изменений:
Нормативные ссылки:
ГОСТ 21130-75ГОСТ 21130-75ГОСТ 21130-75ГОСТ 21130-75ГОСТ 21130-75ГОСТ 21130-75ГОСТ 21130-75ГОСТ 21130-75ГОСТ 21130-75ГОСТ 21130-75ГОСТ 21130-75ГОСТ 21130-75ГОСТ 21130-75ГОСТ 21130-75ГОСТ 21130-75ГОСТ 21130-75ГОСТ 21130-75ГОСТ 21130-75ГОСТ 21130-75ГОСТ 21130-75ГОСТ 21130-75ГОСТ 21130-75ГОСТ 21130-75ГОСТ 21130-75ГОСТ 21130-75ГОСТ 21130-75ГОСТ 21130-75ГОСТ 21130-75ГОСТ 21130-75ГОСТ 21130-75ГОСТ 21130-75ГОСТ 21130-75ГОСТ 21130-75ГОСТ 21130-75ГОСТ 21130-75

Текстовое изменение № 3 от 01.01.1982

№ 3№ 3№ 3№ 3

© 2013 Ёшкин Кот :-) Карта сайта