| ||||||||||||||||||||||||||
Скачать ГОСТ 20876-75 Кожа искусственная. Метод определения морозостойкости в динамических условияхДата актуализации: 10.08.2017
|
| Обозначение: | ГОСТ 20876-75 |
| Обозначение англ: | GOST 20876-75 |
| Статус: | действует |
| Название рус.: | Кожа искусственная. Метод определения морозостойкости в динамических условиях |
| Название англ.: | Artificial leather. Method of determination of low temperature test in dynamic state |
| Дата добавления в базу: | 01.09.2013 |
| Дата актуализации: | 05.05.2017 |
| Дата введения: | 01.01.1977 |
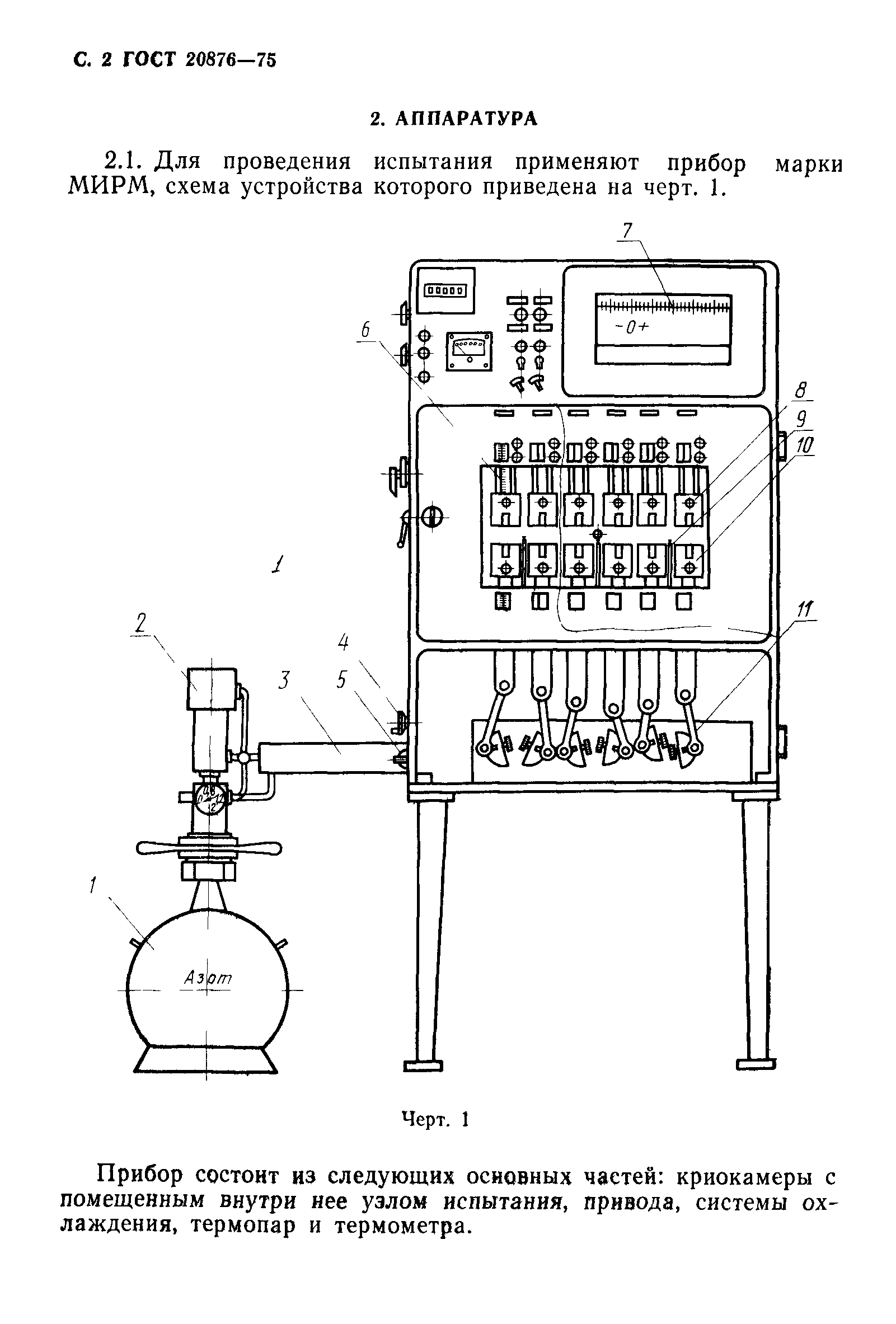
| Оглавление: | 1 Метод отбора образцов 2 Аппаратура 3 Подготовка к испытанию 4 Проведение испытания 5 Обработка результатов |
| Утверждён: | 28.05.1975 Госстандарт СССР (USSR Gosstandart 1422) |
| Расположен в: |






