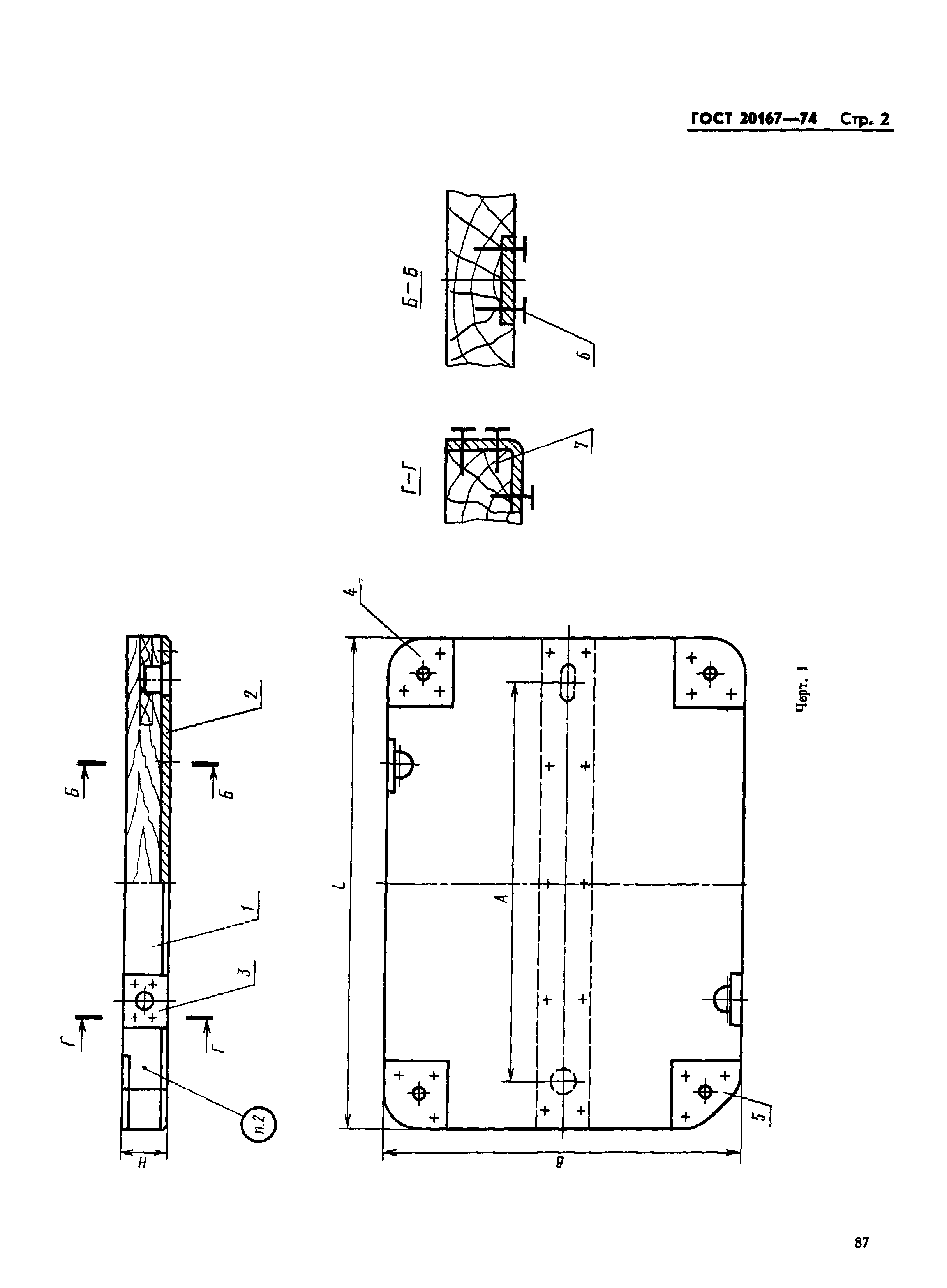
Скачать ГОСТ 20167-74 Вкладыши деревянные сменные глубокие длиной от 406 до 806 мм, шириной от 306 до 706 мм для модельных плит. Конструкция и размерыДата актуализации: 10.08.2017 ГОСТ 20167-74
Вкладыши деревянные сменные глубокие длиной от 406 до 806 мм, шириной от 306 до 706 мм для модельных плит. Конструкция и размерыОбозначение: | ГОСТ 20167-74 | Обозначение англ: | GOST 20167-74 | Статус: | действует | Название рус.: | Вкладыши деревянные сменные глубокие длиной от 406 до 806 мм, шириной от 306 до 706 мм для модельных плит. Конструкция и размеры | Название англ.: | Deep changeable wooden inserts by length from 406 to 806 mm, width from 306 to 706 mm for pattern plates. Design and dimensions | Дата добавления в базу: | 01.09.2013 | Дата актуализации: | 05.05.2017 | Дата введения: | 01.07.1975 | Утверждён: | 27.08.1974 Госстандарт СССР (USSR Gosstandart 2067)
| Расположен в: |
| Заменяет собой: | - МН 1903-61 (Сведения из перечня "Указатель государственных стандартов СССР 1980 г.", Издательство стандартов 1980)
|
      
|