Информационная система
«Ёшкин Кот»

Скачать базу одним архивом
Скачать обновления
История создания базы
Карта сайта

Скачать ГОСТ 20163-74 Плиты модельные со сменными деревянными вкладышами для опоки размерами в свету 1600х1200 мм на формовочные литейные машины с поворотом полуформы без допрессовки. Конструкция и размеры

Дата актуализации: 10.08.2017

ГОСТ 20163-74

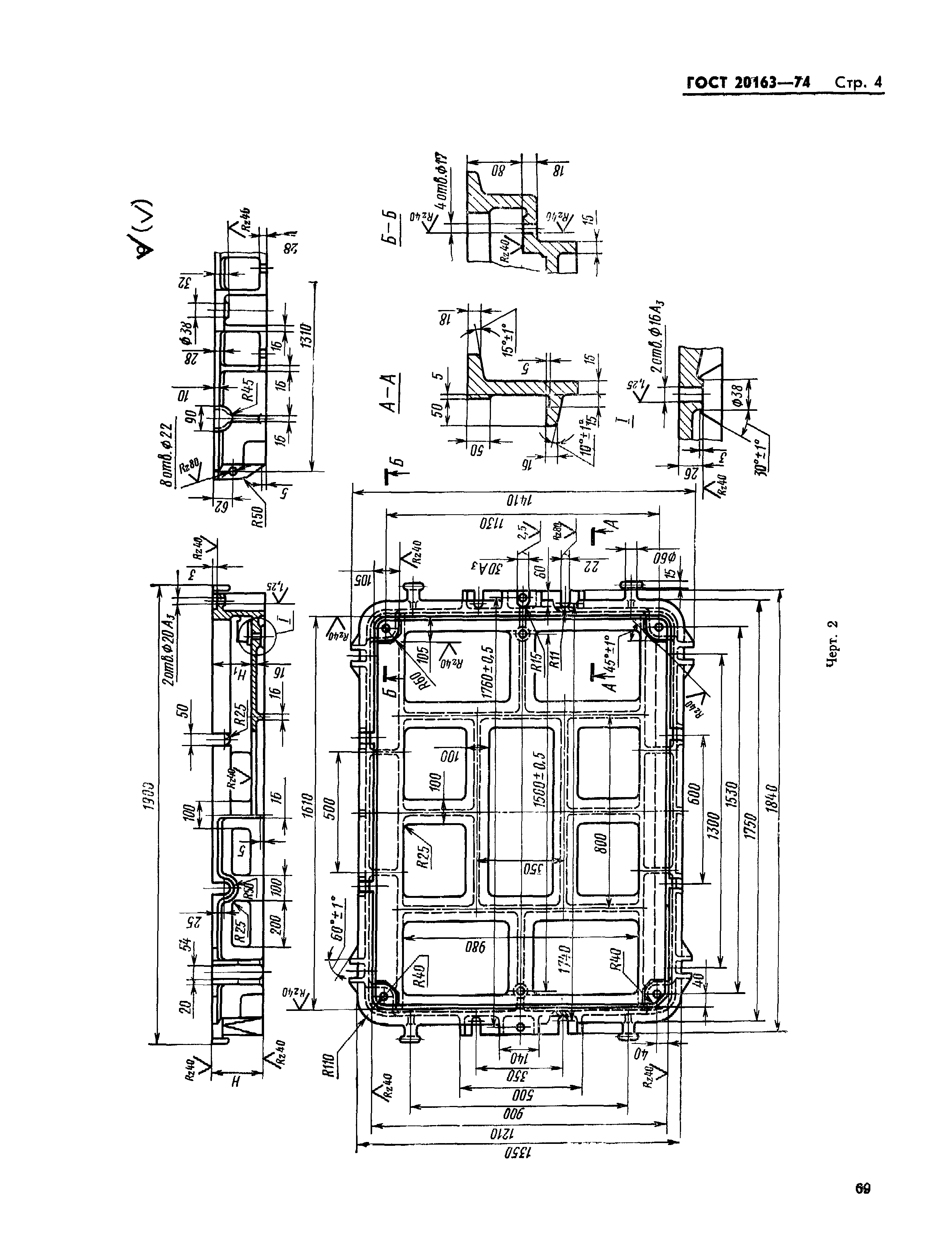
Плиты модельные со сменными деревянными вкладышами для опоки размерами в свету 1600х1200 мм на формовочные литейные машины с поворотом полуформы без допрессовки. Конструкция и размеры

Обозначение: ГОСТ 20163-74
Обозначение англ: GOST 20163-74
Статус:действует
Название рус.:Плиты модельные со сменными деревянными вкладышами для опоки размерами в свету 1600х1200 мм на формовочные литейные машины с поворотом полуформы без допрессовки. Конструкция и размеры
Название англ.:Pattern plates with changeable wooden inserts for moulding box having inside dimensions 1600x1200 mm for moulding foundry machines with turn of half mould without squeezing. Design and dimensions
Дата добавления в базу:01.09.2013
Дата актуализации:05.05.2017
Дата введения:01.07.1975
Утверждён:27.08.1974 Госстандарт СССР (USSR Gosstandart 2067)
Расположен в:Техническая документация Электроэнергия МАШИНОСТРОЕНИЕ Оборудование для бесстружечной обработки Оборудование для литья Экология МАШИНОСТРОЕНИЕ Оборудование для бесстружечной обработки Оборудование для литья
Заменяет собой:
  • МН 1900-61 (Сведения из перечня "Указатель государственных стандартов СССР 1980 г.", Издательство стандартов 1980)
ГОСТ 20163-74ГОСТ 20163-74ГОСТ 20163-74ГОСТ 20163-74ГОСТ 20163-74ГОСТ 20163-74ГОСТ 20163-74ГОСТ 20163-74ГОСТ 20163-74

© 2013 Ёшкин Кот :-) Карта сайта