Информационная система
«Ёшкин Кот»

Скачать базу одним архивом
Скачать обновления
История создания базы
Карта сайта

Скачать ГОСТ 19997-74 Ниппели ввертные пресс-форм для выплавляемых моделей. Конструкция и размеры

Дата актуализации: 10.08.2017

ГОСТ 19997-74

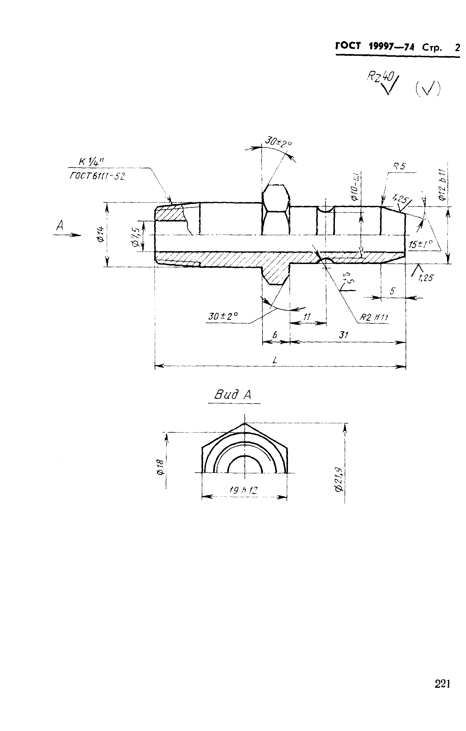
Ниппели ввертные пресс-форм для выплавляемых моделей. Конструкция и размеры

Обозначение: ГОСТ 19997-74
Обозначение англ: GOST 19997-74
Статус:действует
Название рус.:Ниппели ввертные пресс-форм для выплавляемых моделей. Конструкция и размеры
Название англ.:Screwed-in nipple for wax-pattern dies. Design and dimensions
Дата добавления в базу:01.09.2013
Дата актуализации:05.05.2017
Дата введения:01.01.1976
Утверждён:26.07.1974 Госстандарт СССР (USSR Gosstandart 1779)
Расположен в:Техническая документация Электроэнергия МАШИНОСТРОЕНИЕ Оборудование для бесстружечной обработки Оборудование для литья Экология МАШИНОСТРОЕНИЕ Оборудование для бесстружечной обработки Оборудование для литья
Заменяет собой:
  • МН 4331-63 (Сведения из перечня "Указатель государственных стандартов СССР 1980 г.", Издательство стандартов 1980)
ГОСТ 19997-74ГОСТ 19997-74ГОСТ 19997-74

© 2013 Ёшкин Кот :-) Карта сайта