| ||||||||||||||||||||||||||||
Скачать ГОСТ 19934-74 Блок универсальный для быстросменных пакетов пресс-форм литья под давлением. Конструкция и размерыДата актуализации: 10.08.2017
|
| Обозначение: | ГОСТ 19934-74 |
| Обозначение англ: | GOST 19934-74 |
| Статус: | действует |
| Название рус.: | Блок универсальный для быстросменных пакетов пресс-форм литья под давлением. Конструкция и размеры |
| Название англ.: | General-duty unit for quick-changeable die sets of dies for die casting. Design and dimensions |
| Дата добавления в базу: | 01.09.2013 |
| Дата актуализации: | 05.05.2017 |
| Дата введения: | 01.07.1975 |
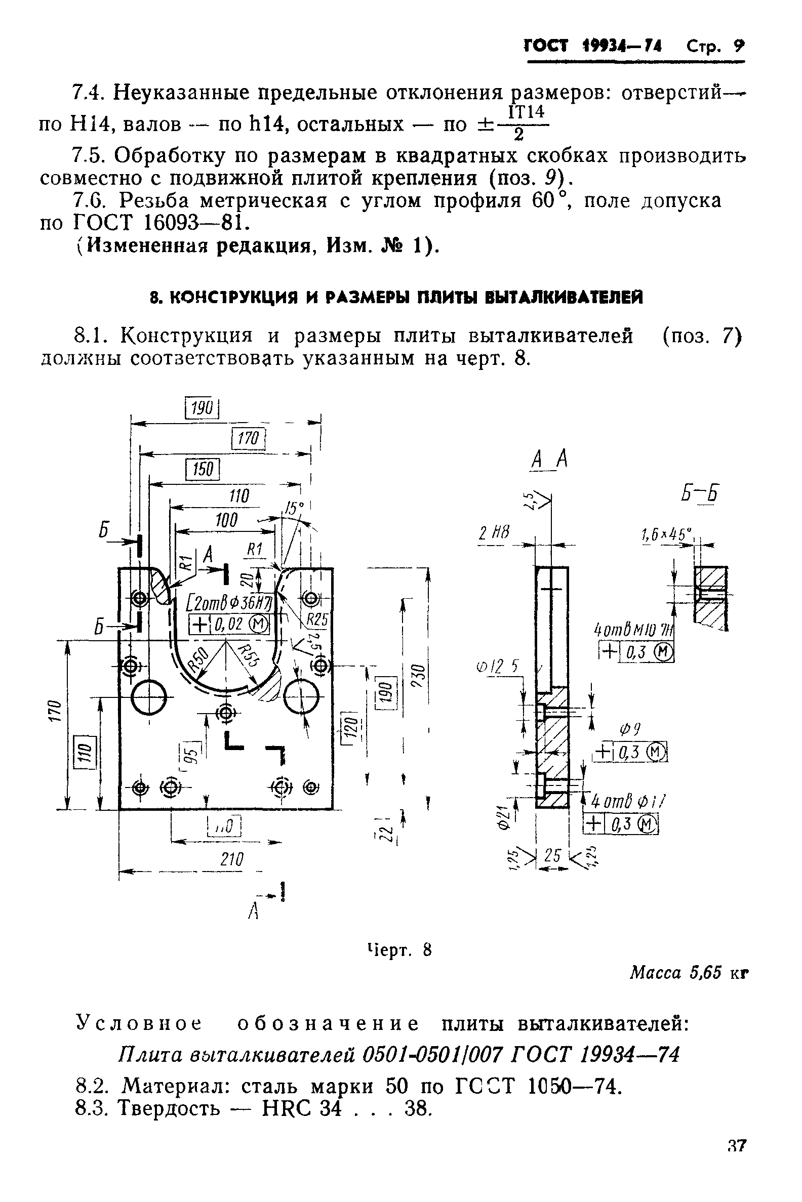
| Оглавление: | 1 Конструкция и размеры универсального блока для быстросменных пакетов 2 Конструкция и размеры неподвижной плиты крепления 3 Конструкция и размеры прижима 4 Конструкция и размеры прижима 5 Конструкция и размеры подвижной обоймы 6 Конструкция и размеры неподвижной обоймы 7 Конструкция и размеры подкладной плиты 8 Конструкция и размеры плиты выталкивателей 9 Конструкция и размеры плиты съема 10 Конструкция и размеры подвижной плиты крепления 11 Конструкция и размеры стойки 12 Конструкция и размеры трубы 13 Конструкция и размеры опоры 14 Конструкция и размеры втулки 15 Конструкция и размеры крышки |
| Утверждён: | 24.07.1974 Госстандарт СССР (USSR Gosstandart 1760) |
| Расположен в: | |
| Заменяет собой: |
|

















