Информационная система
«Ёшкин Кот»

Скачать базу одним архивом
Скачать обновления
История создания базы
Карта сайта

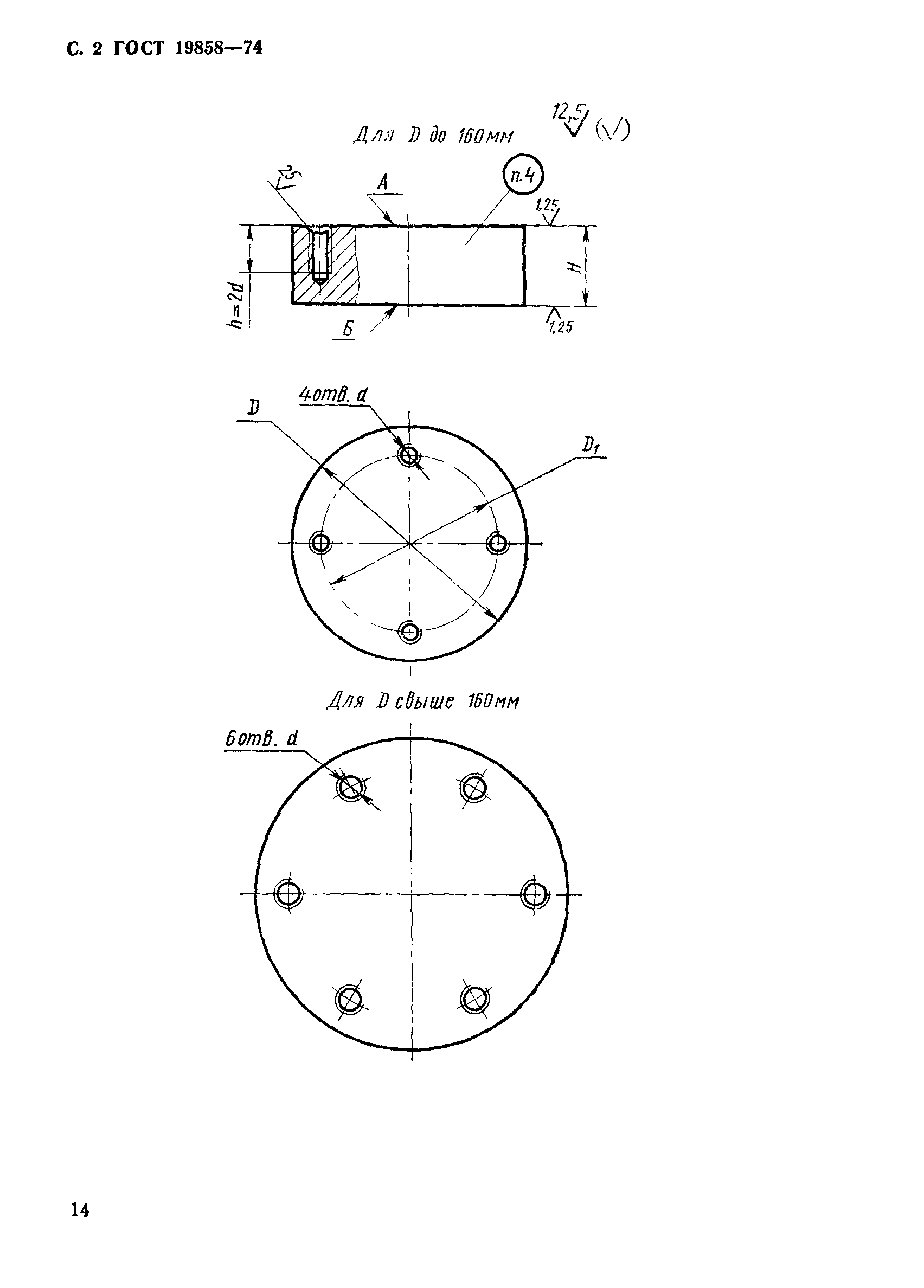
Скачать ГОСТ 19858-74 Плиты круглые для вытяжных штампов листовой штамповки (заготовки). Конструкция и размеры

Дата актуализации: 10.08.2017

ГОСТ 19858-74

Плиты круглые для вытяжных штампов листовой штамповки (заготовки). Конструкция и размеры

Обозначение: ГОСТ 19858-74
Обозначение англ: GOST 19858-74
Статус:действует
Название рус.:Плиты круглые для вытяжных штампов листовой штамповки (заготовки). Конструкция и размеры
Название англ.:Round plates for sheet stamping dies (blanks). Construction and dimensions
Дата добавления в базу:01.09.2013
Дата актуализации:05.05.2017
Дата введения:01.01.1976
Утверждён:04.06.1974 Госстандарт СССР (USSR Gosstandart 1389)
Расположен в:Техническая документация Электроэнергия МАШИНОСТРОЕНИЕ Оборудование для бесстружечной обработки Ковочное оборудование. Прессы. Ножницы Экология МАШИНОСТРОЕНИЕ Оборудование для бесстружечной обработки Ковочное оборудование. Прессы. Ножницы
Заменяет собой:
  • МН 4415-63 (Сведения из перечня "Указатель государственных стандартов СССР 1980 г.", Издательство стандартов 1980)
  • МН 4416-63 (Сведения из перечня "Указатель государственных стандартов СССР 1980 г.", Издательство стандартов 1980)
  • ОСТ 26-08-1436-76 «Масленки (ограничение ГОСТ 19858-74 и ГОСТ 20905-75)»
ГОСТ 19858-74ГОСТ 19858-74ГОСТ 19858-74ГОСТ 19858-74ГОСТ 19858-74ГОСТ 19858-74ГОСТ 19858-74

© 2013 Ёшкин Кот :-) Карта сайта