Информационная система
«Ёшкин Кот»

Скачать базу одним архивом
Скачать обновления
История создания базы
Карта сайта

Скачать ГОСТ 19023-73 Державки для косого крепления резца к токарно-револьверным станкам. Конструкция и размеры

Дата актуализации: 10.08.2017

ГОСТ 19023-73

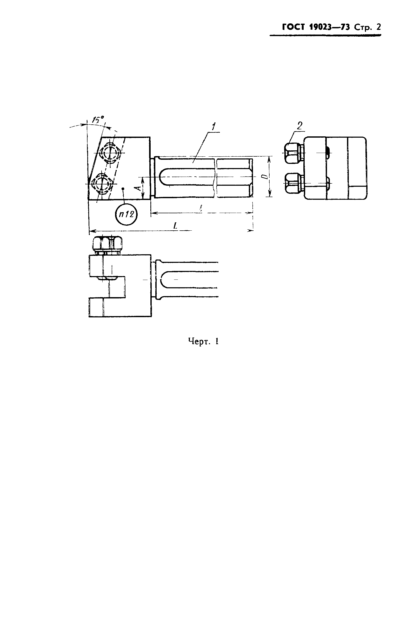
Державки для косого крепления резца к токарно-револьверным станкам. Конструкция и размеры

Обозначение: ГОСТ 19023-73
Обозначение англ: GOST 19023-73
Статус:действует
Название рус.:Державки для косого крепления резца к токарно-револьверным станкам. Конструкция и размеры
Название англ.:Holders for an angled fastening of cutting tool for turret lathes. Design and dimensions
Дата добавления в базу:01.09.2013
Дата актуализации:05.05.2017
Дата введения:01.07.1974
Оглавление:1 Конструкция и размеры державок
2 Конструкция и размеры корпусов (деталь 1)
Утверждён:26.07.1973 Госстандарт СССР (USSR Gosstandart 1827)
Расположен в:Техническая документация Электроэнергия МАШИНОСТРОЕНИЕ Станочные системы Делительные головки и зажимные приспособления для обрабатываемых деталей и инструментов Экология МАШИНОСТРОЕНИЕ Станочные системы Делительные головки и зажимные приспособления для обрабатываемых деталей и инструментов
Заменяет собой:
  • МН 1035-60 (Сведения из перечня "Указатель государственных стандартов СССР 1980 г.", Издательство стандартов 1980)
ГОСТ 19023-73ГОСТ 19023-73ГОСТ 19023-73ГОСТ 19023-73ГОСТ 19023-73ГОСТ 19023-73

© 2013 Ёшкин Кот :-) Карта сайта