Информационная система
«Ёшкин Кот»

Скачать базу одним архивом
Скачать обновления
История создания базы
Карта сайта

Скачать ГОСТ 18732-80 Секции матриц (пуансонов). Конструкция и размеры

Дата актуализации: 10.08.2017

ГОСТ 18732-80

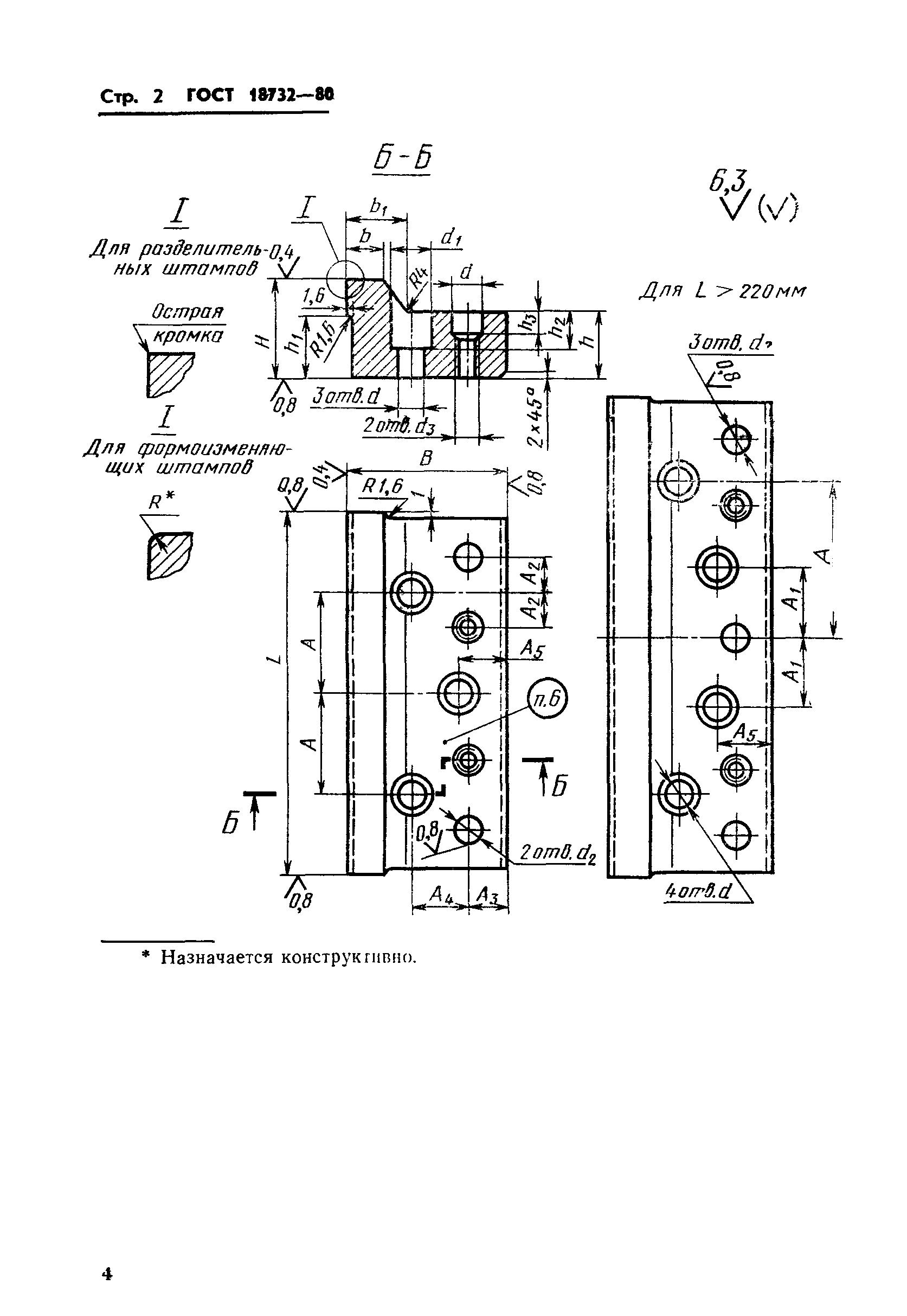
Секции матриц (пуансонов). Конструкция и размеры

Обозначение: ГОСТ 18732-80
Обозначение англ: GOST 18732-80
Статус:действует
Название рус.:Секции матриц (пуансонов). Конструкция и размеры
Название англ.:Sections for female dies(punches). Design and dimensions
Дата добавления в базу:01.09.2013
Дата актуализации:05.05.2017
Дата введения:01.01.1982
Утверждён:31.12.1980 Госстандарт СССР (USSR Gosstandart 6287)
Издан: Издательство стандартов (1987 г. )
Расположен в:Техническая документация Электроэнергия МАШИНОСТРОЕНИЕ Оборудование для бесстружечной обработки Ковочное оборудование. Прессы. Ножницы Экология МАШИНОСТРОЕНИЕ Оборудование для бесстружечной обработки Ковочное оборудование. Прессы. Ножницы
Заменяет собой:
  • ГОСТ 18732-73 «Заготовки секций матриц и пуансонов. Конструкция и размеры»
  • ГОСТ 18739-73 «Упоры к шаговым ножам врезные. Конструкция и размеры»
  • ГОСТ 18766-73 «Прижимы-тормоза. Конструкция и размеры»
  • ГОСТ 18772-73 «Фиксаторы с резьбовым хвостовиком. Конструкция и размеры»
  • ГОСТ 18774-73 «Фиксаторы грибковые под расклейку. Конструкция и размеры»
  • ГОСТ 18804-73 «Подкладки для цилиндрических ограничений. Конструкция и размеры»
  • ГОСТ 18806-73 «Подкладки для прямоугольных ограничений. Конструкция и размеры»
  • ГОСТ 18814-73 «Втулки для пуансонов с гайкой. Конструкция и размеры»
ГОСТ 18732-80ГОСТ 18732-80ГОСТ 18732-80ГОСТ 18732-80ГОСТ 18732-80ГОСТ 18732-80ГОСТ 18732-80ГОСТ 18732-80ГОСТ 18732-80ГОСТ 18732-80ГОСТ 18732-80

© 2013 Ёшкин Кот :-) Карта сайта