| ||||||||||||||||||||||||||||||||||
Скачать ГОСТ 17467-88 Микросхемы интегральные. Основные размерыДата актуализации: 10.08.2017
|
| Обозначение: | ГОСТ 17467-88 |
| Обозначение англ: | GOST 17467-88 |
| Статус: | отменен в рф |
| Название рус.: | Микросхемы интегральные. Основные размеры |
| Название англ.: | Integrated microcircuits. Basic dimensions |
| Дата добавления в базу: | 01.09.2013 |
| Дата актуализации: | 05.05.2017 |
| Дата введения: | 01.09.2013 |
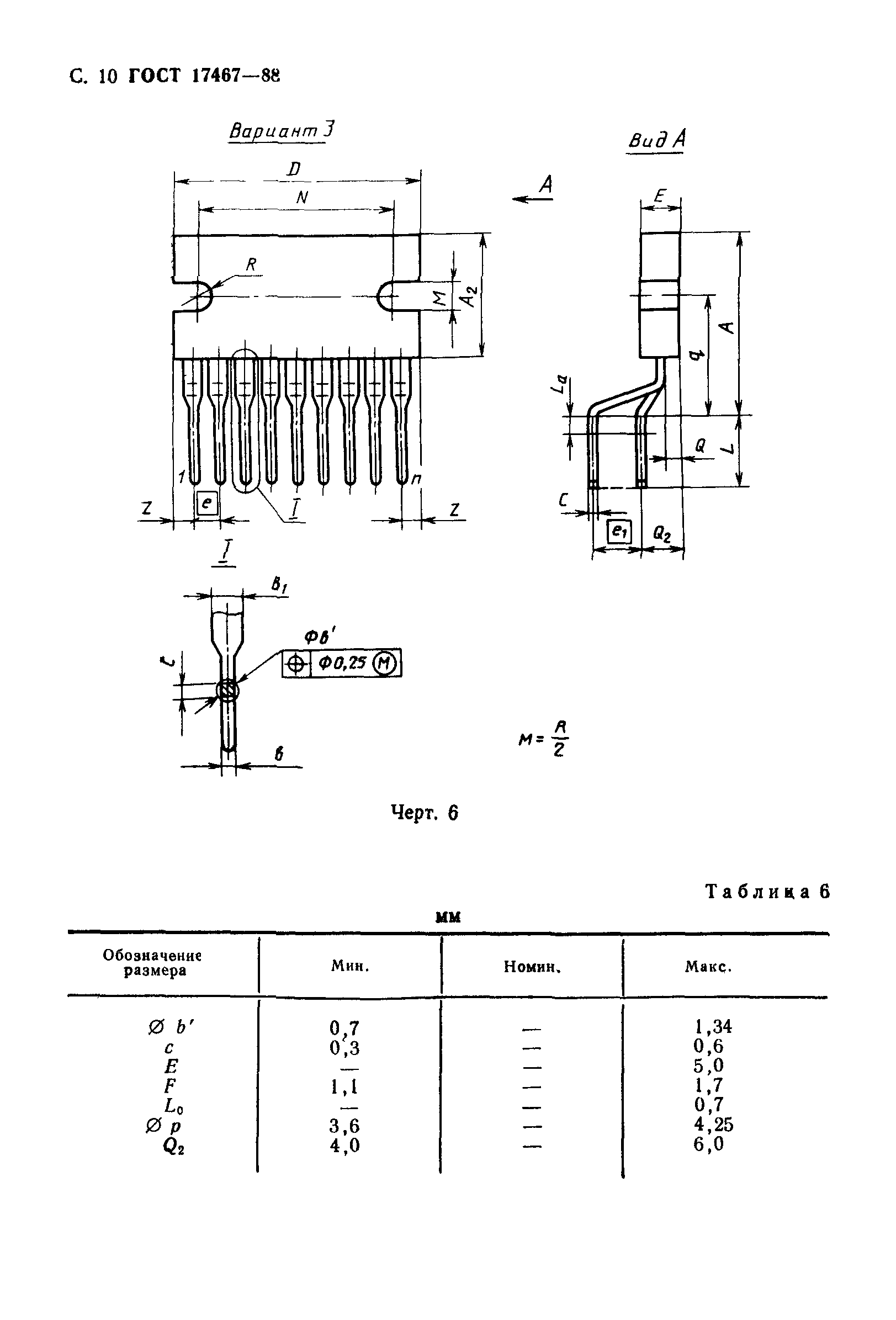
| Область применения: | Стандарт распространяется на интегральные микросхемы в корпусах и устанавливает их габаритные и присоединительные размеры. Стандарт не распространяется на микросхемы СВЧ диапазона. |
| Оглавление: | Приложение 1 Термины и буквенные обозначения, применяемые в стандарте Приложение 2 Типы и подтипы корпусов микросхем и их условные обозначения Приложение 3 Указание о нанесении размеров на габаритных чертежах микросхем Приложение 4 Формы для определения габаритных размеров микросхем Приложение 5 Соответствие габаритно-присоединительных размеров микросхем в корпусах, условные обозначения которым присвоено до 1.01.89, типоразмерам по ГОСТ 17467 |
| Утверждён: | 22.12.1988 Госстандарт СССР (USSR Gosstandart 4400) |
| Издан: | Издательство стандартов (1989 г. ) |
| Расположен в: | |
| Заменяет собой: |
|
| Нормативные ссылки: |
































































