| Обозначение: | ГОСТ 17438-72 |
| Обозначение англ: | GOST 17438-72 |
| Статус: | частично отменен в рф |
| Название рус.: | Пассатижи. Технические условия |
| Название англ.: | Combination pliers. Specifications |
| Дата добавления в базу: | 01.09.2013 |
| Дата актуализации: | 05.05.2017 |
| Дата введения: | 01.01.2009 |
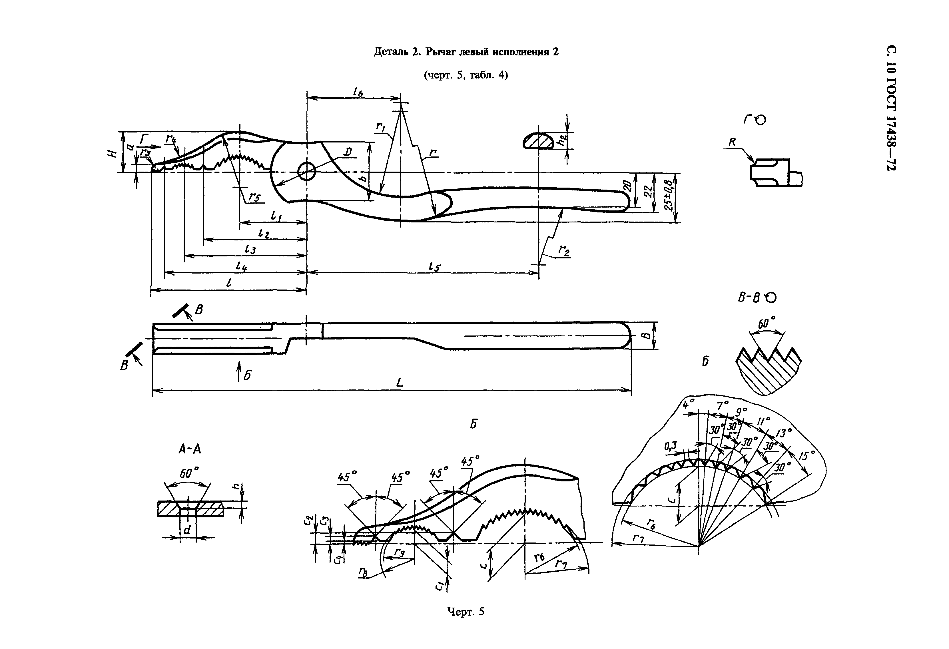
| Область применения: | Стандарт распространяется на пассатижи, предназначенные для захвата и зажима труб и деталей разных форм.
Стандарт не распространяется на пассатижи, изготовляемые из материалов, предназначенных для работы во взрывоопасных условиях. |
| Оглавление: | 1 Основные размеры 2 Технические требования 3 Приемка 4 Методы испытаний 5 Транспортирование и хранение 6 Гарантии изготовителя Приложение 1 Основные размеры деталей пассатижей Приложение 2 Защитно-декоративные покрытия Приложение 3 Соответствие настоящего стандарта международным стандартам ИСО 5743-88 и ИСО 5744-88 |
| Разработан: | Министерство станкостроительной и инструментальной промышленности СССР
|
| Утверждён: | 14.01.1972 Госстандарт СССР (USSR Gosstandart 158)
|
| Издан: | ИПК Издательство стандартов (1999 г. )
|
| Расположен в: |
|
| Список изменений: | |
| Заменяет собой: | |
| Нормативные ссылки: |   ГОСТ 1050-88 «Прокат сортовой, калиброванный, со специальной отделкой поверхности из углеродистой качественной конструкционной стали. Общие технические условия»  ГОСТ 9.032-74 «Единая система защиты от коррозии и старения. Покрытия лакокрасочные. Группы, технические требования и обозначения»  ГОСТ 9.301-86 «Единая система защиты от коррозии и старения. Покрытия металлические и неметаллические неорганические. Общие требования»  ГОСТ 9.302-88 «Единая система защиты от коррозии и старения. Покрытия металлические и неметаллические неорганические. Методы контроля»  ГОСТ 9.303-84 «Единая система защиты от коррозии и старения. Покрытия металлические и неметаллические неорганические. Общие требования к выбору»  ГОСТ 9.306-85 «Единая система защиты от коррозии и старения. Покрытия металлические и неметаллические неорганические. Обозначения»  ГОСТ 7283-93 «Круглогубцы. Технические условия»  ГОСТ 2789-73 «Шероховатость поверхности. Параметры и характеристики»  ГОСТ 9378-93 «Образцы шероховатости поверхности (сравнения). Общие технические условия»  ГОСТ 7505-89 «Поковки стальные штампованные. Допуски, припуски и кузнечные напуски»  ГОСТ 11516-94 «Ручные инструменты для работ под напряжением до 1000 В переменного и 1500 В постоянного тока. Общие требования и методы испытаний» ГОСТ 18088-83 «Инструмент металлорежущий, алмазный, дереворежущий, слесарно-монтажный и вспомогательный. Упаковка, маркировка, транспортирование и хранение»  ГОСТ 21474-75 «Рифления прямые и сетчатые. Форма и основные размеры»  ГОСТ 22133-86 «Покрытия лакокрасочные металлорежущего, кузнечно-прессового, литейного и деревообрабатывающего оборудования. Общие требования» ГОСТ 26810-86 «Инструмент слесарно-монтажный. Правила приемки»  ГОСТ 9013-59 «Металлы. Метод измерения твердости по Роквеллу»
|