| ||||||||||||||||||||||||||||
Скачать ГОСТ 17270-71 Рамки ножовочные ручные. Технические условияДата актуализации: 10.08.2017
|
| Обозначение: | ГОСТ 17270-71 |
| Обозначение англ: | GOST 17270-71 |
| Статус: | действует |
| Название рус.: | Рамки ножовочные ручные. Технические условия |
| Название англ.: | Frams for hand hacksaws |
| Дата добавления в базу: | 01.09.2013 |
| Дата актуализации: | 05.05.2017 |
| Дата введения: | 01.01.1973 |
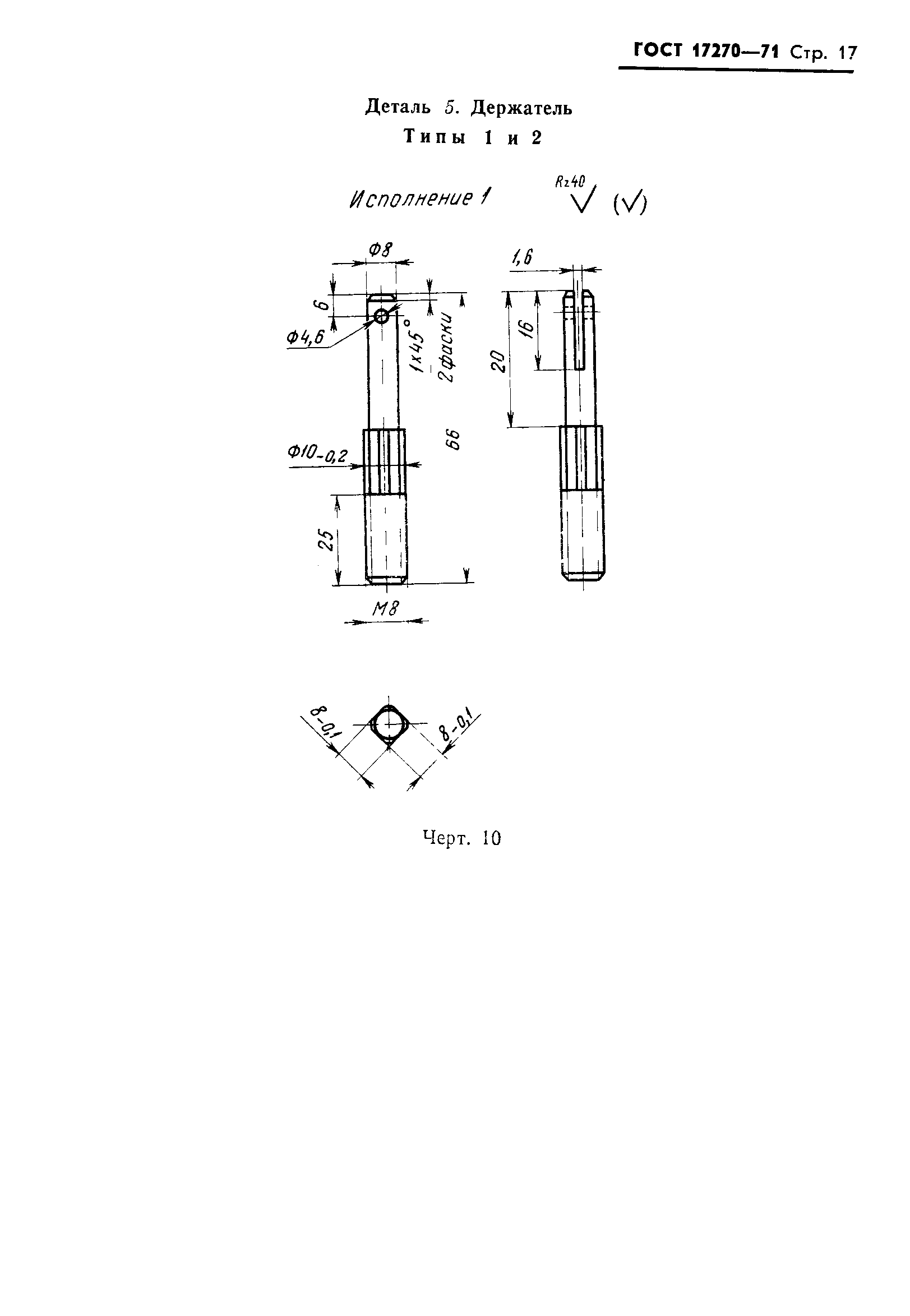
| Оглавление: | 1 Типы и основные размеры 2 Технические требования 3 Техника безопасности 4 Правила приемки 5 Методы испытаний 6 Маркировка, упаковка, транспортирование и хранение 7 Гарантии изготовителя Приложение Конструктивные элементы ручных ножовочных рамок |
| Утверждён: | 15.11.1971 Госстандарт СССР (USSR Gosstandart 1848) |
| Расположен в: | |
| Заменяет собой: |
|




























