Информационная система
«Ёшкин Кот»

Скачать базу одним архивом
Скачать обновления
История создания базы
Карта сайта

Скачать ГОСТ 16256-70 Формы металлические (кокили). Приспособления для удаления стержней эксцентриковые. Конструкция и размеры

Дата актуализации: 10.08.2017

ГОСТ 16256-70

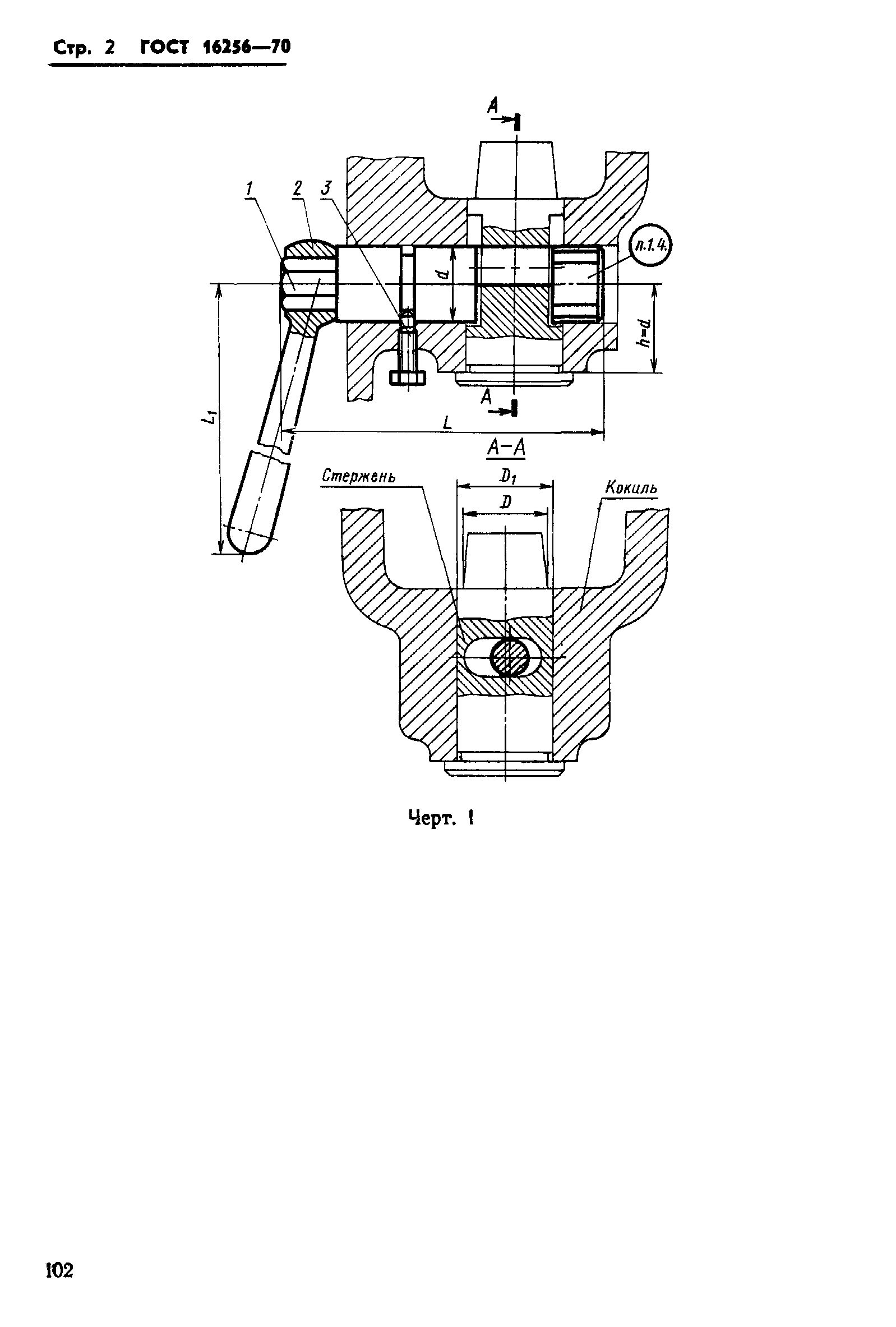
Формы металлические (кокили). Приспособления для удаления стержней эксцентриковые. Конструкция и размеры

Обозначение: ГОСТ 16256-70
Обозначение англ: GOST 16256-70
Статус:действует
Название рус.:Формы металлические (кокили). Приспособления для удаления стержней эксцентриковые. Конструкция и размеры
Название англ.:Chill moulds. Eccentric core removers. Construction and dimensions
Дата добавления в базу:01.09.2013
Дата актуализации:05.05.2017
Дата введения:01.01.1972
Оглавление:1 Конструкция и размеры эксцентриковых приспособлений
2 Конструкция и размеры эксцентрика (деталь 1)
Приложение Конструкция стержней, удаляемых эксцентриковыми приспособлениями
Утверждён:29.07.1970 Госстандарт СССР (USSR Gosstandart 1163)
Издан: Издательство стандартов (1982 г. )
Расположен в:Техническая документация Электроэнергия МАШИНОСТРОЕНИЕ Оборудование для бесстружечной обработки Оборудование для литья Экология МАШИНОСТРОЕНИЕ Оборудование для бесстружечной обработки Оборудование для литья
Заменяет собой:
  • 0404-0151
  • МН 770-60
ГОСТ 16256-70ГОСТ 16256-70ГОСТ 16256-70ГОСТ 16256-70ГОСТ 16256-70ГОСТ 16256-70

© 2013 Ёшкин Кот :-) Карта сайта