| ||||||||||||||||||||||||||
Скачать ГОСТ 16225-81 Фрезы концевые для обработки легких сплавов. Конструкция и размерыДата актуализации: 10.08.2017
|
| Обозначение: | ГОСТ 16225-81 |
| Обозначение англ: | GOST 16225-81 |
| Статус: | действует |
| Название рус.: | Фрезы концевые для обработки легких сплавов. Конструкция и размеры |
| Название англ.: | Shank cutters for machining light alloys. Types and dimensions |
| Дата добавления в базу: | 01.09.2013 |
| Дата актуализации: | 05.05.2017 |
| Дата введения: | 01.01.1983 |
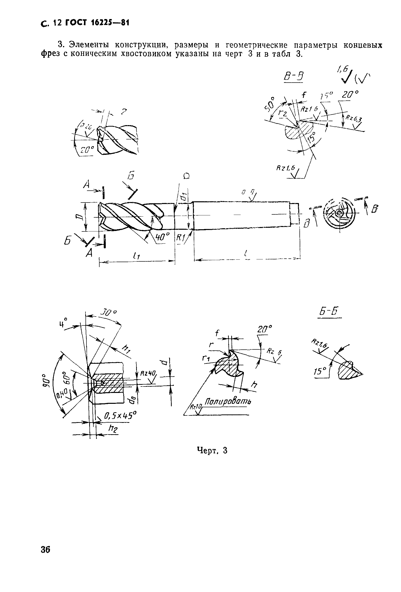
| Оглавление: | Приложение Элементы конструкции, размеры и геометрические параметры фрез |
| Утверждён: | 30.04.1981 Госстандарт СССР (USSR Gosstandart 2267) |
| Расположен в: |













