Скачать ГОСТ 14986-69 Опоки литейные цельнолитые стальные прямоугольные размерами в свету: длиной 1200; 1400 мм, шириной 900; 1000 мм, высотой 450; 500 мм. Конструкция и размерыДата актуализации: 10.08.2017 ГОСТ 14986-69
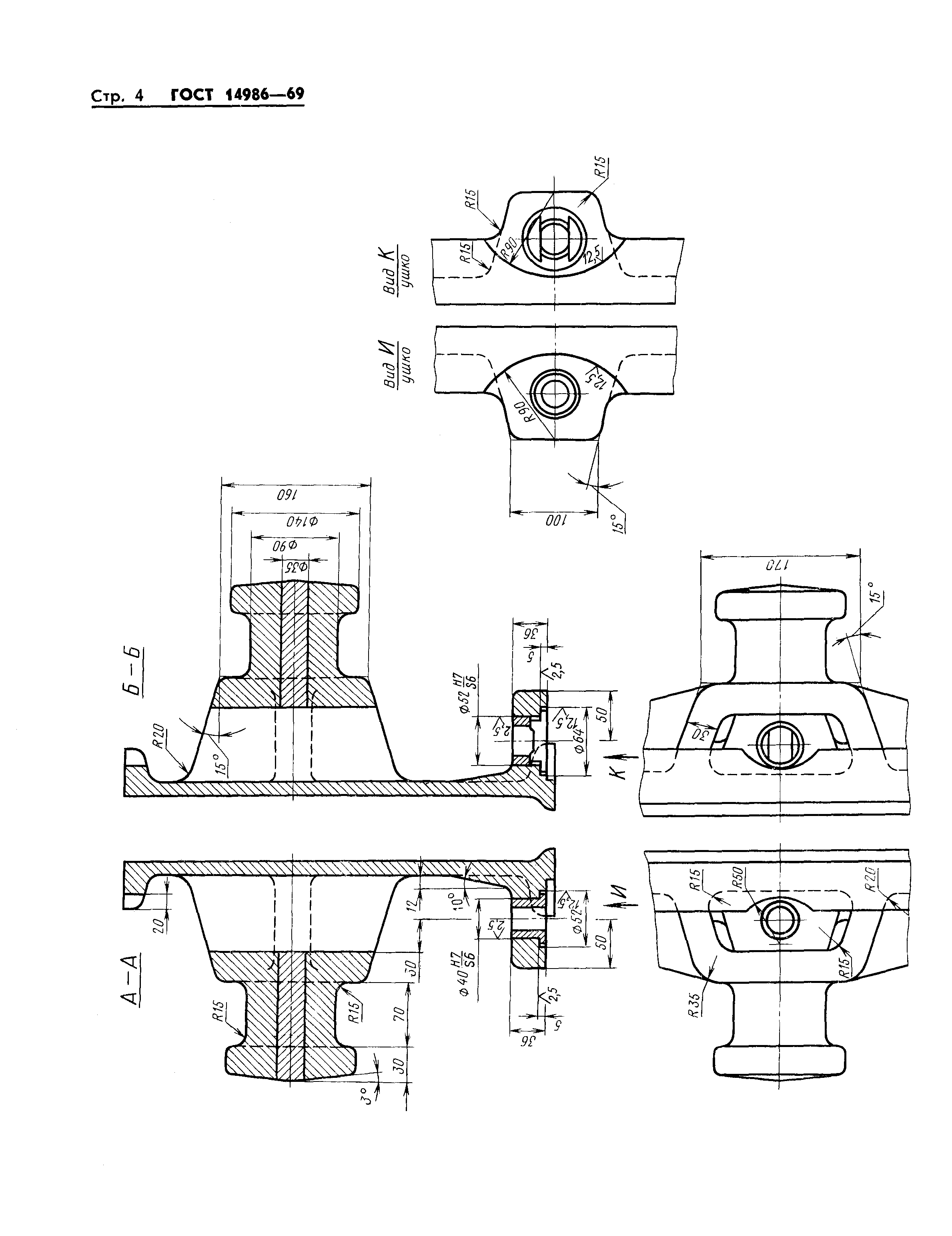
Опоки литейные цельнолитые стальные прямоугольные размерами в свету: длиной 1200; 1400 мм, шириной 900; 1000 мм, высотой 450; 500 мм. Конструкция и размерыОбозначение: | ГОСТ 14986-69 | Обозначение англ: | GOST 14986-69 | Статус: | действует | Название рус.: | Опоки литейные цельнолитые стальные прямоугольные размерами в свету: длиной 1200; 1400 мм, шириной 900; 1000 мм, высотой 450; 500 мм. Конструкция и размеры | Название англ.: | Rectangular steel all-cast moulding boxes having inside dimensions: length 1200, 1400 mm, width 900, 1000 mm, height 450, 500 mm. Construction and dimensions | Дата добавления в базу: | 01.09.2013 | Дата актуализации: | 05.05.2017 | Дата введения: | 01.01.1971 | Область применения: | Стандарт распространяется на литейные цельнолитые стальные прямоугольные опоки, предназначенные для изготовления песчаных литейных форм при машинной, пескометной и ручной формовке. Стандарт не распространяется на опоки, применяемые при формовке методом прессования под высоким удельным давлением. | Утверждён: | 23.09.1969 Госстандарт СССР (USSR Gosstandart 1062)
| Расположен в: |
| Заменяет собой: | | Нормативные ссылки: | |
   
|