Информационная система
«Ёшкин Кот»

Скачать базу одним архивом
Скачать обновления
История создания базы
Карта сайта

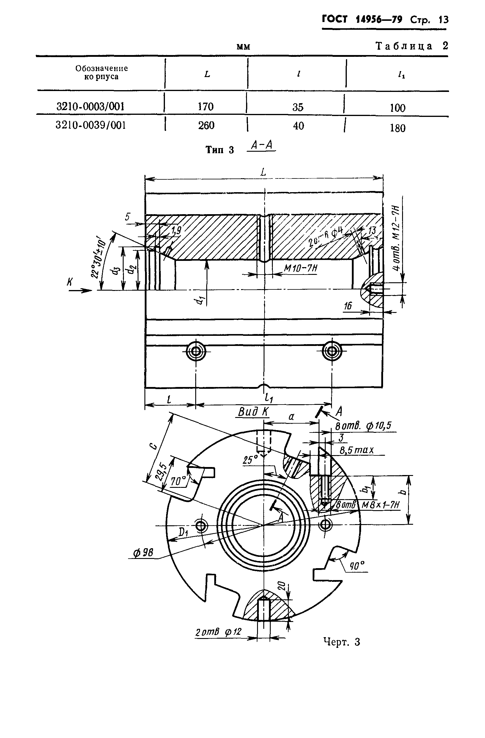
Скачать ГОСТ 14956-79 Фрезы дереворежущие насадные цилиндрические сборные. Типы, основные параметры и размеры

Дата актуализации: 10.08.2017

ГОСТ 14956-79

Фрезы дереворежущие насадные цилиндрические сборные. Типы, основные параметры и размеры

Обозначение: ГОСТ 14956-79
Обозначение англ: GOST 14956-79
Статус:действует
Название рус.:Фрезы дереворежущие насадные цилиндрические сборные. Типы, основные параметры и размеры
Название англ.:Shell type inserted beade circular cutterbloks for woodcutting. Types. Main parameters and dimensions
Дата добавления в базу:01.09.2013
Дата актуализации:05.05.2017
Дата введения:01.01.1981
Область применения:Стандарт распространяется на насадные цилиндрические сборные фрезы, предназначенные для обработки древесины и древесных материалов на фрезерных и четырехсторонних строгальных станках. Фрезы должны изготовляться типов: 1 - с непосредственной посадкой на шпиндель; 2 - с креплением на двух цангах гайками; 3 - с креплением на двух цангах через промежуточные упорные кольца; 4 - с креплением на цанге; 5 - с креплением на патроне.
Оглавление:Приложение 1 Элементы конструкции и размеры деталей фрез
Приложение 2 Спецификация деталей фрез
Разработан: Министерство станкостроительной и инструментальной промышленности
Утверждён:03.08.1979 Госстандарт СССР (USSR Gosstandart 2959)
Издан: Издательство стандартов (1979 г. )
Расположен в:Техническая документация Электроэнергия ТЕХНОЛОГИЯ ПЕРЕРАБОТКИ ДРЕВЕСИНЫ Деревообрабатывающее оборудование Деревообрабатывающие инструменты Экология ТЕХНОЛОГИЯ ПЕРЕРАБОТКИ ДРЕВЕСИНЫ Деревообрабатывающее оборудование Деревообрабатывающие инструменты
Заменяет собой:
  • ГОСТ 14956-69 «Фрезы насадные цилиндрические дереворежущие сборные. Типы. Конструкция и основные размеры»
  • ГОСТ 5.2252-74 «Фрезы цилиндрические дереворежущие насадные сборные типа I исполнения А, диаметром 125 мм, длиной от 40 до 60 мм. Требования к качеству аттестованной продукции»
ГОСТ 14956-79ГОСТ 14956-79ГОСТ 14956-79ГОСТ 14956-79ГОСТ 14956-79ГОСТ 14956-79ГОСТ 14956-79ГОСТ 14956-79ГОСТ 14956-79ГОСТ 14956-79ГОСТ 14956-79ГОСТ 14956-79ГОСТ 14956-79ГОСТ 14956-79ГОСТ 14956-79ГОСТ 14956-79ГОСТ 14956-79ГОСТ 14956-79ГОСТ 14956-79ГОСТ 14956-79ГОСТ 14956-79ГОСТ 14956-79ГОСТ 14956-79ГОСТ 14956-79ГОСТ 14956-79ГОСТ 14956-79ГОСТ 14956-79ГОСТ 14956-79ГОСТ 14956-79ГОСТ 14956-79

© 2013 Ёшкин Кот :-) Карта сайта