| ||||||||||||||||||||||||||
Скачать ГОСТ 13.1.106-76 Репрография. Микрография. Карты апертурные. Общие технические условияДата актуализации: 10.08.2017
|
| Обозначение: | ГОСТ 13.1.106-76 |
| Обозначение англ: | GOST 13.1.106-76 |
| Статус: | действует |
| Название рус.: | Репрография. Микрография. Карты апертурные. Общие технические условия |
| Название англ.: | Reprography. Micrography. Cards with picture aperture. General specifications |
| Дата добавления в базу: | 01.09.2013 |
| Дата актуализации: | 05.05.2017 |
| Дата введения: | 01.07.1977 |
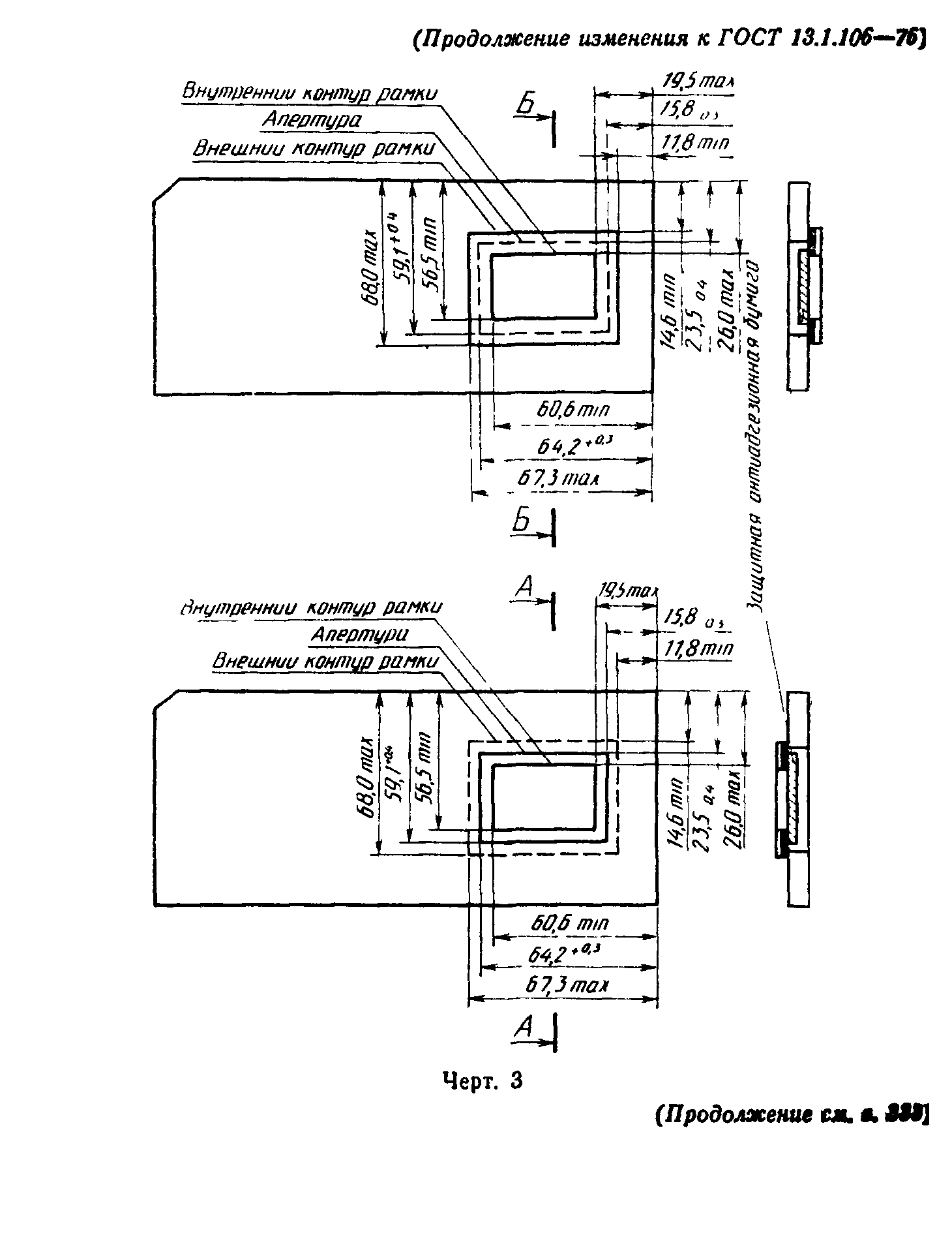
| Оглавление: | 1. Основные параметры и размеры 2. Технические требования 2а. Приемка 3. Методы испытаний 4. Транспортирование и хранение 5. Указания по применению 6. Гарантии изготовителя Приложение 1. Правила монтажа микрофильмов Приложение 2. Методы испытаний прочности соединения в апертурных картах Приложение 3. Метод определения долговечности апертурных карт Приложение 4. Соответствие требований ГОСТ 13.1.106-76 требованиям СТ СЭВ 662-77 |
| Утверждён: | 26.05.1976 Госстандарт СССР (USSR Gosstandart 1304) |
| Расположен в: |




























