Информационная система
«Ёшкин Кот»

Скачать базу одним архивом
Скачать обновления
История создания базы
Карта сайта

Скачать ГОСТ 12216-66 Приспособления станочные. Опоры шаровые. Конструкция

Дата актуализации: 10.08.2017

ГОСТ 12216-66

Приспособления станочные. Опоры шаровые. Конструкция

Обозначение: ГОСТ 12216-66
Обозначение англ: GOST 12216-66
Статус:действует
Название рус.:Приспособления станочные. Опоры шаровые. Конструкция
Название англ.:Holding devices. Spherical supports. Design
Дата добавления в базу:01.09.2013
Дата актуализации:05.05.2017
Дата введения:01.07.1967
Область применения:Стандарт распространяется на конструкцию и размеры шаровых опор.
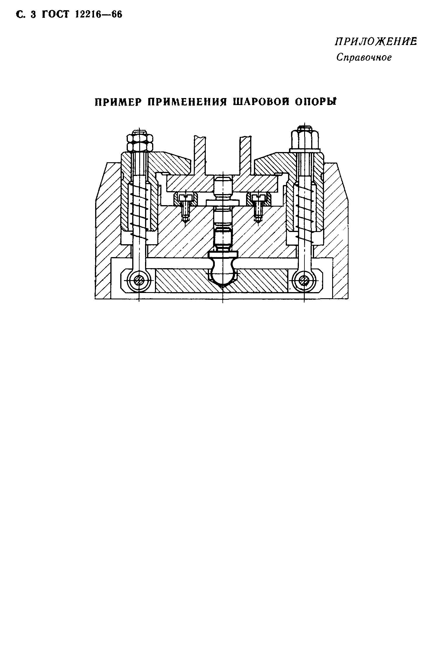
Оглавление:Приложение (справочное) Пример применения шаровой опоры
Разработан: Министерство станкостроительной и инструментальной промышленности СССР
Министерство тяжелого энергетического и транспортного машиностроения СССР
Утверждён:10.08.1966 Комитет стандартов, мер и измерительных приборов при Совете Министров СССР (Committee on Standards, Measures, and Measuring Instruments at the USSR Cabinet of Ministers 939)
Расположен в:Техническая документация Электроэнергия МАШИНОСТРОЕНИЕ Станочные системы Станочные системы прочие Экология МАШИНОСТРОЕНИЕ Станочные системы Станочные системы прочие
Список изменений:
Заменяет собой:
  • МН 384-60 (Сведения из перечня "Указатель государственных стандартов СССР 1970 г.", Издательство комитета стандартов 1970)
Нормативные ссылки:
ГОСТ 12216-66ГОСТ 12216-66ГОСТ 12216-66ГОСТ 12216-66

Текстовое изменение № 2 от 01.01.1989

№ 2№ 2

© 2013 Ёшкин Кот :-) Карта сайта