| ||||||||||||||||||||||||||
Скачать ГОСТ 12.4.163-85 Система стандартов безопасности труда. Материалы с полимерным покрытием для средств защиты рук. Метод определения суммарного теплового сопротивленияДата актуализации: 10.08.2017
|
| Обозначение: | ГОСТ 12.4.163-85 |
| Обозначение англ: | GOST 12.4.163-85 |
| Статус: | действует |
| Название рус.: | Система стандартов безопасности труда. Материалы с полимерным покрытием для средств защиты рук. Метод определения суммарного теплового сопротивления |
| Название англ.: | Occupational safety standards system. Polymer coated materials for hand protective means. Method for determination of summary thermal resistance |
| Дата добавления в базу: | 01.09.2013 |
| Дата актуализации: | 05.05.2017 |
| Дата введения: | 01.01.1987 |
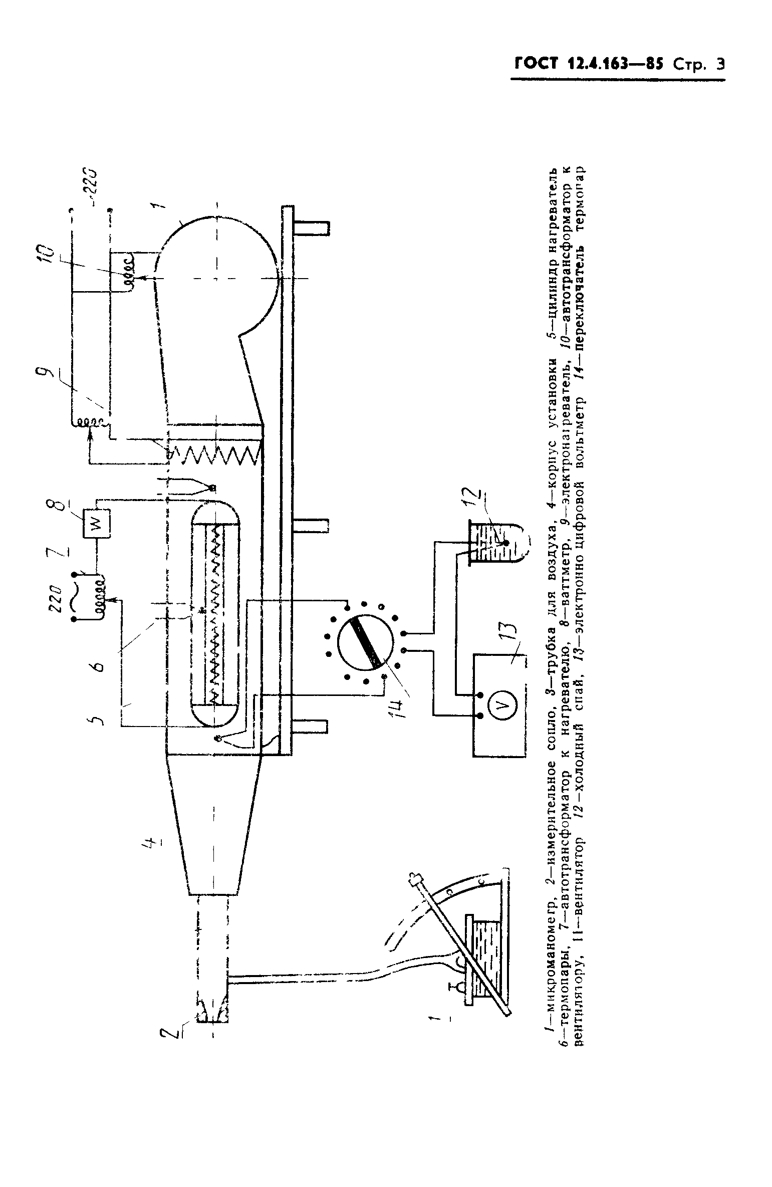
| Оглавление: | 1. Метод отбора проб 2. Аппаратура 3. Подготовка к испытанию 4. Проведение испытания 5. Обработка результатов 6. Требования безопасности Приложение 1. Перевод показаний электронно-цифрового вольтметра в градусы Цельсия Приложение 2. Протокол |
| Утверждён: | 04.09.1985 Госстандарт СССР (USSR Gosstandart 2844) |
| Расположен в: |







