| ||||||||||||||||||||||||||||||||||
Скачать ГОСТ Р МЭК 60238-99 Патроны резьбовые для лампДата актуализации: 10.08.2017
|
| Обозначение: | ГОСТ Р МЭК 60238-99 |
| Обозначение англ: | GOST R IEC 60238-99 |
| Статус: | отменен |
| Название рус.: | Патроны резьбовые для ламп |
| Название англ.: | Edison screw lampholders |
| Дата добавления в базу: | 01.09.2013 |
| Дата актуализации: | 05.05.2017 |
| Дата введения: | 01.01.2015 |
| Область применения: | Стандарт распространяется на патроны с резьбой Е5, рассчитанные на присоединение к электрической сети последовательно соединенных ламп с рабочим напряжением не более 25 В, используемых внутри помещений, и патроны с резьбой Е10, рассчитанные на присоединение к электрической сети последовательно соединенных ламп с рабочим напряжением не более 60 В, используемых внутри или вне помещений. Стандарт также распространяется на встраиваемые патроны Е10 для присоединения одиночных ламп к сети питания. Эти патроны не предназначены для розничной торговли. Насколько возможно стандарт также охватывает иные, чем резьбовые, патроны, рассчитанные на присоединение к электрической сети последовательно соединенных ламп. |
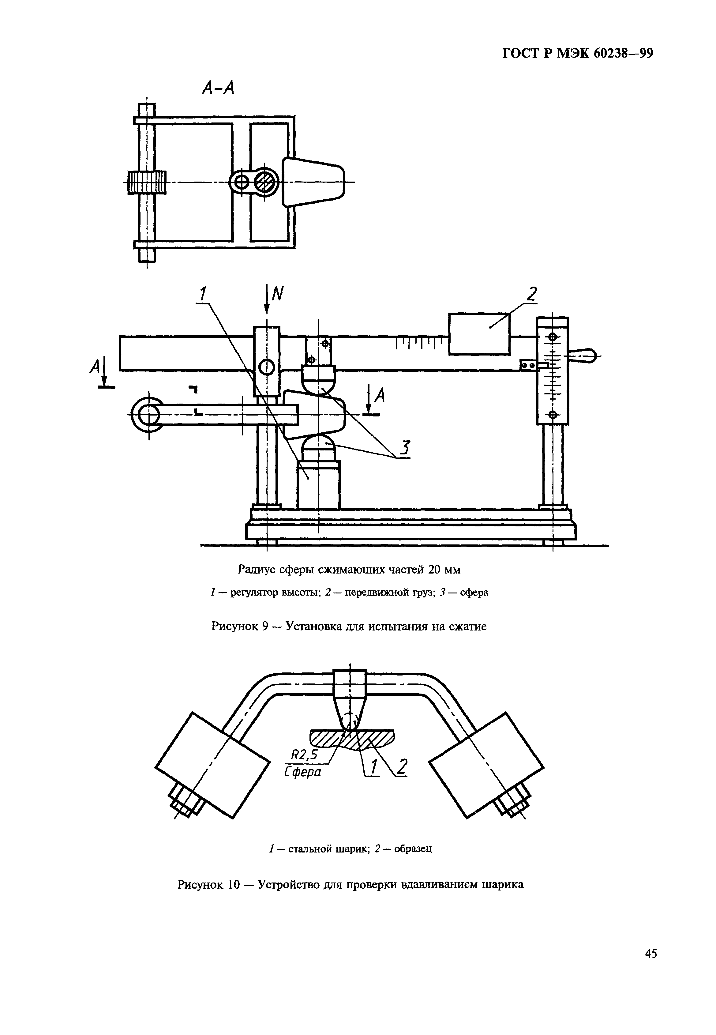
| Оглавление: | 1 Общее 2 Определения 3 Общие требования 4 Общие условия испытаний 5 Нормируемые параметры 6 Классификация 7 Маркировка 8 Размеры 9 Защита от поражения электрическим током 10 Контактные зажимы 11 Заземление 12 Конструкция 13 Патроны с выключателем 14 Влагостойкость, сопротивление и электрическая прочность изоляции 15 Механическая прочность 16 Винты. Токоведущие детали и соединения 17 Пути утечки и воздушные зазоры 18 Нормальная работа 19 Общая термостойкость 20 Термостойкость, огнестойкость и устойчивость к токам поверхностного разряда 21 Защита от старения и коррозии Приложение А Испытание на старение и коррозию Приложение В Соответствие стандартов МЭК государственным стандартам Рисунки |
| Разработан: | ООО ВНИСИ |
| Утверждён: | 30.09.1999 Госстандарт России (Russian Federation Gosstandart 321-ст) |
| Издан: | ИПК Издательство стандартов (2000 г. ) |
| Расположен в: | |
| Нормативные ссылки: |
|



























































