| ||||||||||||||||||||||||||||||||||||
Скачать ГОСТ 28249-93 Короткие замыкания в электроустановках. Методы расчета в электроустановках переменного тока напряжением до 1 кВДата актуализации: 10.08.2017
|
| Обозначение: | ГОСТ 28249-93 |
| Обозначение англ: | GOST 28249-93 |
| Статус: | взамен |
| Название рус.: | Короткие замыкания в электроустановках. Методы расчета в электроустановках переменного тока напряжением до 1 кВ |
| Название англ.: | Short-circuits in electrical installations. Calculation methods in a.c. electrical instalations with voltage below 1 kV |
| Дата добавления в базу: | 01.09.2013 |
| Дата актуализации: | 05.05.2017 |
| Дата введения: | 01.01.1995 |
| Область применения: | Стандарт распространяется на трехфазные электроустановки напряжением до 1 кВ промышленной частоты, присоединенные к энергосистеме или к автономным источникам электроэнергии, устанавливает общую методику расчета токов симметричных и несимметричных коротких замыканий (КЗ) в начальный и произвольный момент времени с учетом параметров синхронных и асинхронных машин, трансформаторов, реакторов, кабельных и воздушных линий, шинопроводов и узлов комплексной нагрузки. |
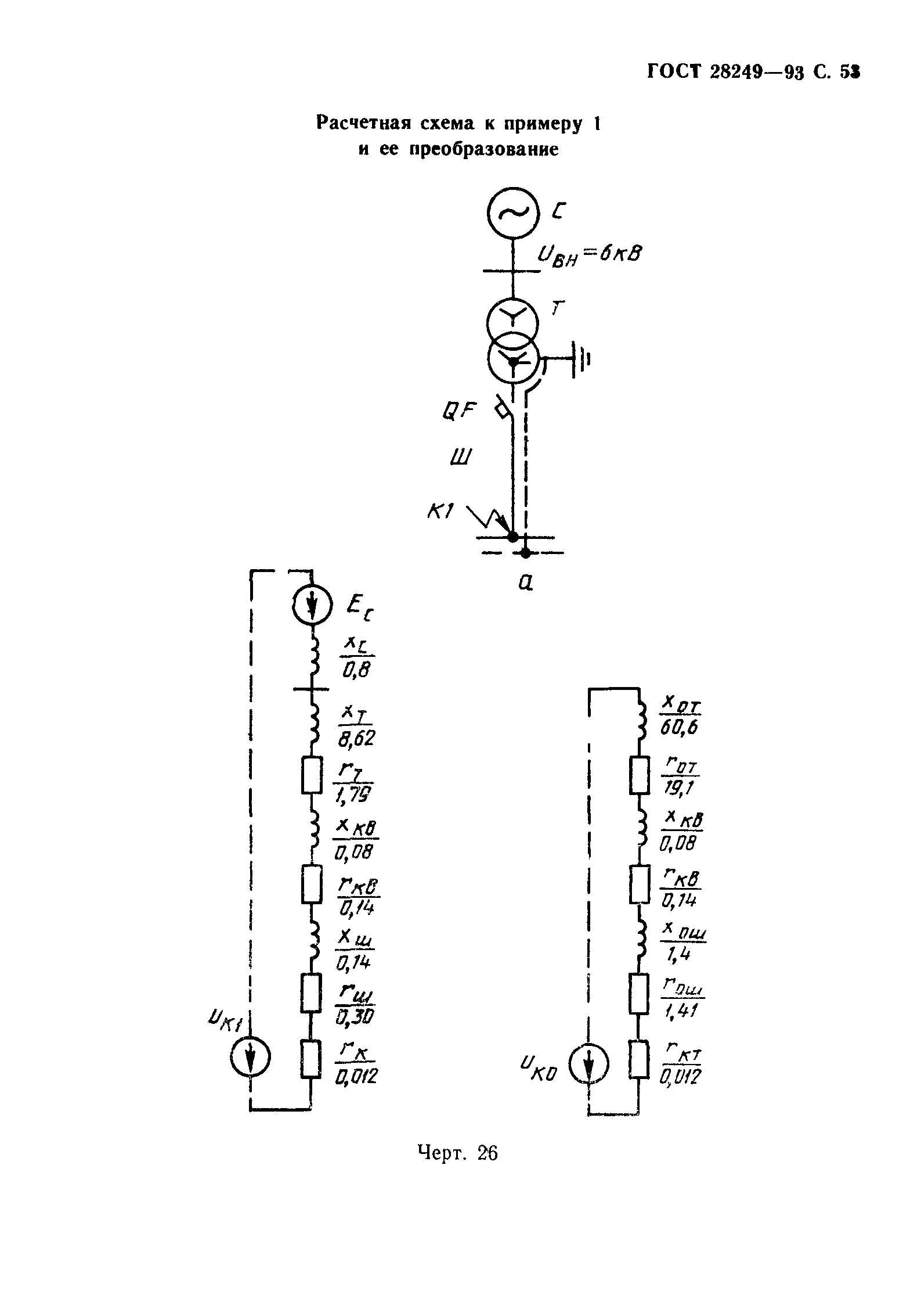
| Оглавление: | 1 Общие положения 2 Расчет сопротивления различных элементов электроустановки 2.1 Активное и индуктивное сопротивление силовых трансформаторов 2.2 Активное и индуктивное сопротивление реакторов 2.3 Активное и индуктивное сопротивление шинопроводов 2.4 Активное и индуктивное сопротивление кабелей 2.5 Активное и индуктивное сопротивление воздушных линий и проводов 2.6 Активные сопротивления контактов и контактных соединений 2.7 Активные и индуктивные сопротивления трансформаторов тока 2.8 Активные и индуктивные сопротивления катушек автоматических выключателей 2.9 Параметры автономных источников электроэнергии и синхронных электродвигателей 2.10 Параметры асинхронных электродвигателей 2.11 Расчетные параметры комплексных нагрузок 2.12 Активное сопротивление дуги в месте КЗ 3 Расчет начального значения периодической составляющей тока трехфазного КЗ 4 Расчет апериодической составляющей тока КЗ 5 Расчет ударного тока КЗ 6 Расчет периодической составляющей тока КЗ от автономных источников электроэнергии в произвольный момент времени 7 Расчет периодической составляющей тока КЗ от синхронных и асинхронных электродвигателей в произвольный момент времени 8 Расчет токов несимметричных КЗ 8.1 Составление схем замещения 8.2 Расчет токов однофазного КЗ 8.3 Расчет токов двухфазного КЗ Приложение 1 Расчет сопротивления шинопроводов Приложение 2 Активные и индуктивные сопротивления кабелей Приложение 3 Расчетные сопротивления проводов, проложенных открыто на изоляторах, и проводов воздушных линий Приложение 4 Расчет сопротивления контактов и контактных соединений Приложение 5 Параметры измерительных трансформаторов тока Приложение 6 Сопротивление катушек автоматических выключателей Приложение 7 Расчет параметров асинхронных электродвигателей Приложение 8 Параметры комплексной нагрузки Приложение 9 Учет влияния активного сопротивления дуги на ток КЗ Приложение 10 Учет влияния комплексной нагрузки на ток КЗ Приложение 11 Примеры расчета токов КЗ |
| Разработан: | Госстандарт России |
| Утверждён: | 21.10.1993 Межгосударственный Совет по стандартизации, метрологии и сертификации (Inter-Governmental Council on Standardization, Metrology, and Certification 160) |
| Издан: | Издательство стандартов (1994 г. ) |
| Расположен в: | |
| Заменяет собой: |
|
| Нормативные ссылки: |

































































