| ||||||||||||||||||||||||||||||||||||
Скачать ГОСТ 30247.3-2002 Конструкции строительные. Методы испытаний на огнестойкость. Двери шахт лифтовДата актуализации: 10.08.2017
|
| Обозначение: | ГОСТ 30247.3-2002 |
| Обозначение англ: | GOST 30247.3-2002 |
| Статус: | действует |
| Название рус.: | Конструкции строительные. Методы испытаний на огнестойкость. Двери шахт лифтов |
| Название англ.: | Building structures. Fire-resistance test methods. Elevator shaft doors |
| Дата добавления в базу: | 01.09.2013 |
| Дата актуализации: | 05.05.2017 |
| Дата введения: | 01.07.2002 |
| Область применения: | Стандарт устанавливает методы испытания на огнестойкость заполнения входных (загрузочных) проемов дверей шахт лифтов (далее - дверей): - распашных одно- и двухстворчатых; - горизонтально-раздвижных центрального и бокового открывания, в том числе телескопических; - вертикально-раздвижных одно- и двухстворчатых. Стандарт не распространяется на испытания дверей шахт лифтов с площадью светопрозрачного заполнения 25 % и более площади дверного проема в свету. |
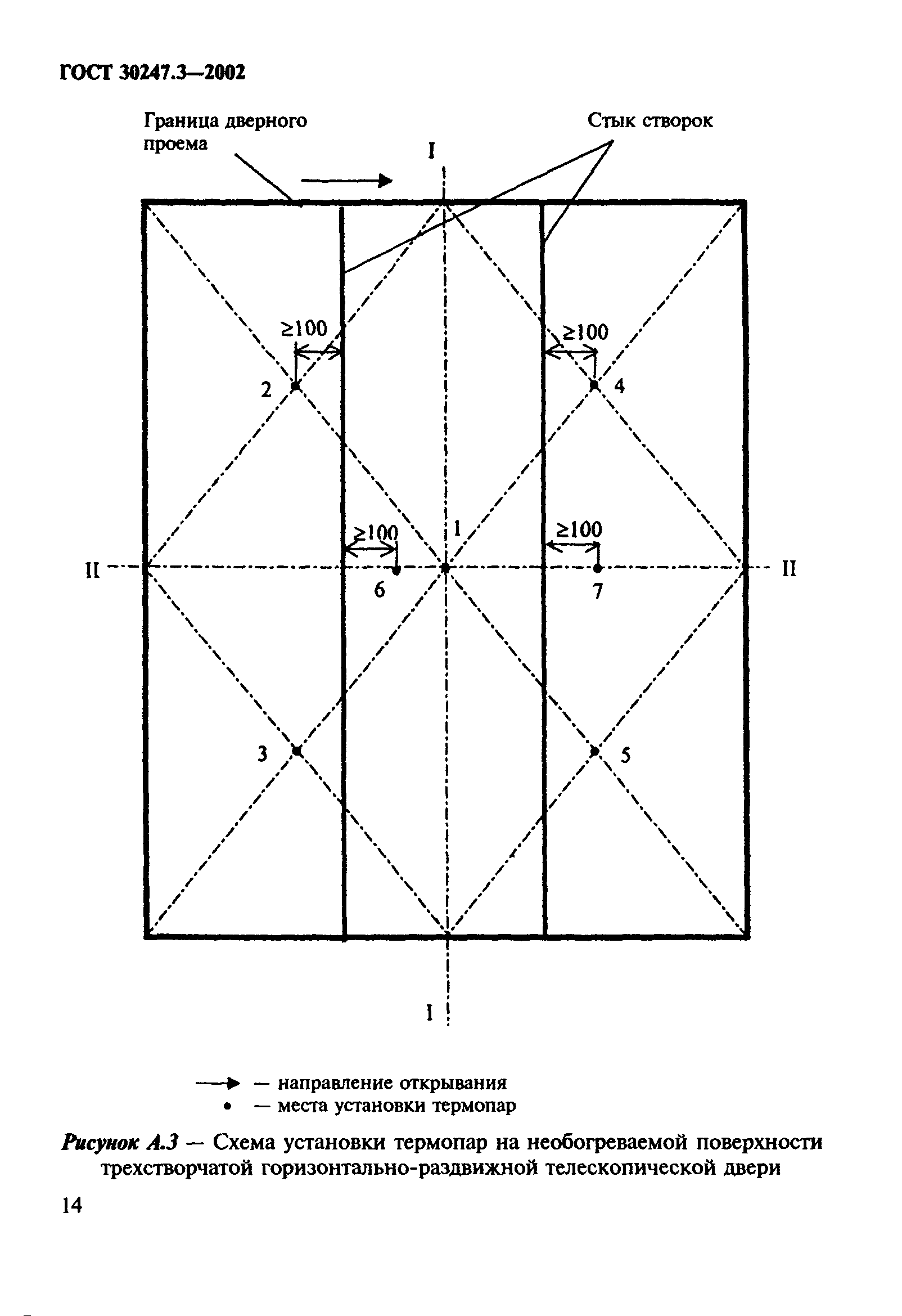
| Оглавление: | Введение 1 Область применения 2 Нормативные ссылки 3 Термины и определения 4 Сущность метода 5 Предельные состояния 6 Стендовое оборудование и измерительная аппаратура 7 Температурный режим 8 Давление в печи 9 Образец для испытания 10 Подготовка испытания 11 Проведение испытаний 12 Оценка результатов испытания 13 Обозначение предела огнестойкости 14 Отчет об испытании 15 Техника безопасности Приложение А Схемы установки термоэлектрических преобразователей (термопар) Приложение Б Приспособления для определения потери целостности конструкции |
| Разработан: | ФГУП ЦНС ГУП ЦНИИСК им. В.А. Кучеренко ОАО МОС ОТИС ФГУ ВНИИПО МЧС России |
| Утверждён: | 05.12.2001 МНТКС (MNTKS ) 17.06.2002 Госстрой России (Russian Federation Gosstroy 59) |
| Издан: | ГУП ЦПП (CPP GUP 2002 г. ) |
| Расположен в: | |
| Заменяет собой: | |
| Нормативные ссылки: |
|




























