| ||||||||||||||||||||||||||||||||
Скачать РД 34.21.306-96 Методические указания по обследованию динамического состояния строительных конструкций сооружений и фундаментов оборудования энергопредприятийДата актуализации: 10.08.2017
|
| Обозначение: | РД 34.21.306-96 |
| Обозначение англ: | RD 34.21.306-96 |
| Статус: | действует |
| Название рус.: | Методические указания по обследованию динамического состояния строительных конструкций сооружений и фундаментов оборудования энергопредприятий |
| Название англ.: | Procedural Guidelines for Inspection of the Dynamic State of Structural Elements of Structures and Equipment Foundations at Facilities of the Energy Industry |
| Дата добавления в базу: | 01.09.2013 |
| Дата актуализации: | 05.05.2017 |
| Дата введения: | 01.06.1998 |
| Область применения: | Методические указания устанавливают порядок организации обследования динамического состояния строительных конструкций сооружений и фундаментов оборудования, оценки их пригодности к дальнейшей эксплуатации и предназначены для инженерно-технических работников специализированных и проектных организаций, персонала энергопредприятий и энергоуправлений, занимающихся эксплуатацией, ремонтом и техническим обслуживанием. |
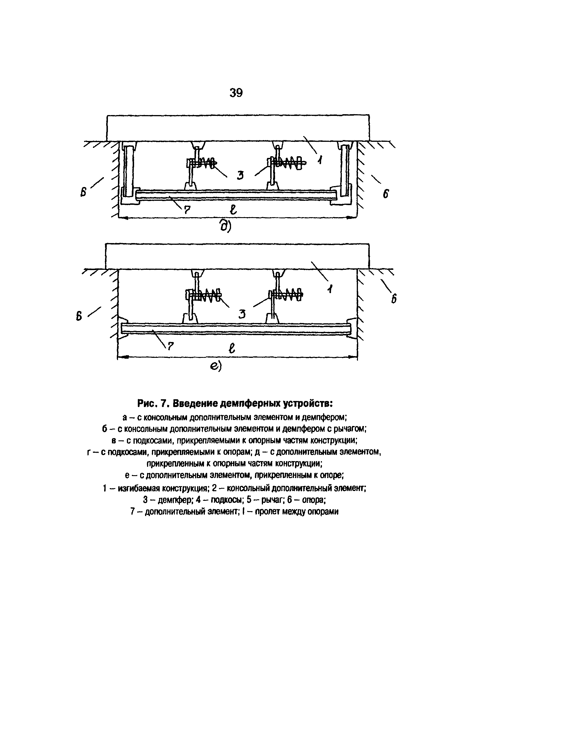
| Оглавление: | 1 Общие положения 2 Причины повышенной вибрации строительных конструкций 3 Особенности обследования динамического состояния фундаментов оборудования 4 Особенности обследования динамического состояния строительных конструкций 5 Измерительная аппаратура 6 Обработка и анализ материалов измерений 7 Мероприятия по снижению уровня колебаний фундаментов и строительных конструкций Приложение Термины и определения Список использованной литературы |
| Разработан: | ОАО ОРГРЭС |
| Утверждён: | 24.06.1996 РАО ЕЭС России (UES of Russia RAO ) |
| Расположен в: | |
| Нормативные ссылки: |
|















































