| ||||||||||||||||||||||||||||||||||
Скачать АТК 24.200.04-90 Опоры цилиндрические и конические вертикальных аппаратов. Типы и основные размерыДата актуализации: 10.08.2017
|
| Обозначение: | АТК 24.200.04-90 |
| Обозначение англ: | ATK 24.200.04-90 |
| Статус: | действует |
| Название рус.: | Опоры цилиндрические и конические вертикальных аппаратов. Типы и основные размеры |
| Название англ.: | Supports for Cylindrical and Conical Upright Apparatus - Types and Basic Parameters |
| Дата добавления в базу: | 01.09.2013 |
| Дата актуализации: | 05.05.2017 |
| Дата введения: | 01.01.1991 |
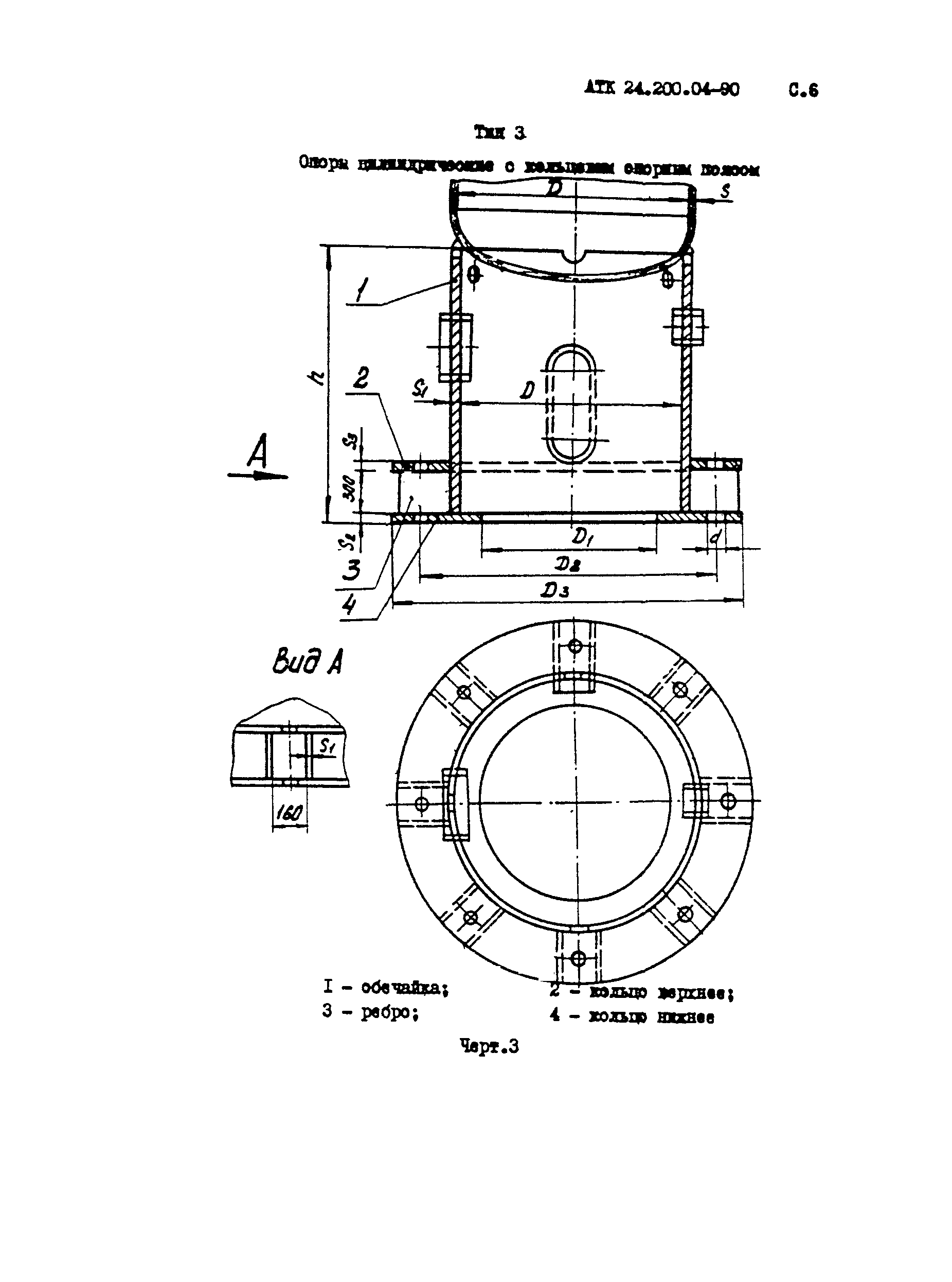
| Область применения: | Альбом типовых конструкций распространяется на опоры стальные сварные цилиндрические и конические стальных сварных вертикальных аппаратов диаметром от 400 до 6300 мм при приведенных нагрузках на опору не более 16,0 Мн. Допускается применение АТК для аппаратов, изготовленных из титановых сплавов, при условии выполнения опор съемными. |
| Оглавление: | Приложение 1. Расчет приведенных нагрузок и выбор опоры Приложение 2. Расчет длины переходной обечайки из коррозионно-стойкой стали Приложение 3. Пределы применения типов опор в зависимости от минимальной приведенной нагрузки Приложение 4. Формулы определения расстояния между опорой и осью сварного соединения днища с корпусом Приложение 5. Формулы для определения масс элементов опорного узла (в кг) |
| Разработан: | УкрНИИхиммаш |
| Утверждён: | 20.09.1990 Министерство тяжелого машиностроения СССР (USSR Ministry of Heavy Machinery Manufacturing АВ-002-1-8993) |
| Расположен в: | |
| Заменяет собой: |
|
| Нормативные ссылки: |

























